电脑桌面
添加小米粒文库到电脑桌面
安装后可以在桌面快捷访问

基建文件管理流程图

基建文件管理流程图_第1页
1/6
基建文件管理流程图_第2页
2/6
基建文件管理流程图_第3页
3/6
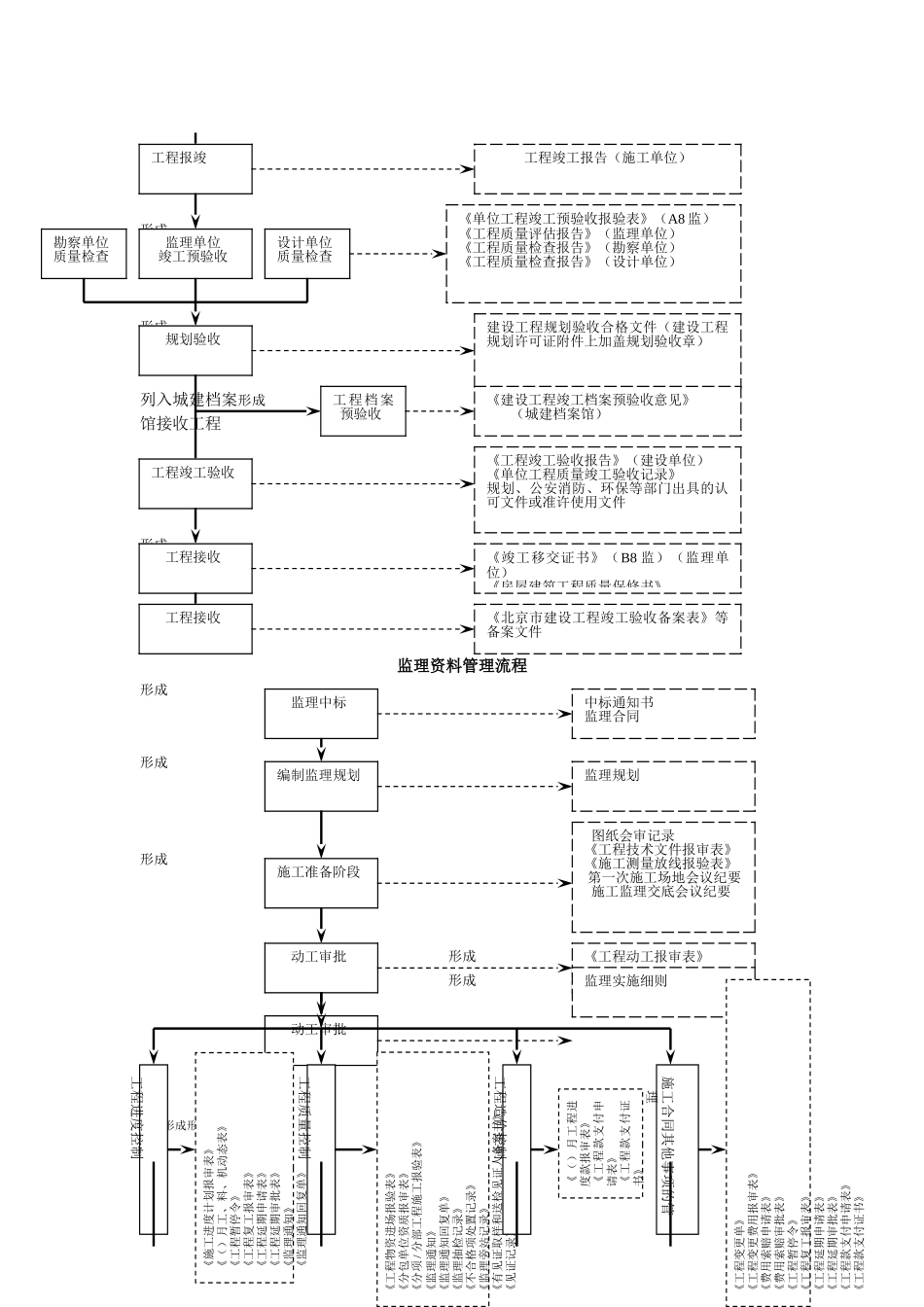
基建文件管理流程形成形成形成形成形成形成形成形成形成形成形成形成形成项目申请项目建议书编制与批复可行性讨论立项可行性讨论报告编制与批复《规划意见书》等列入年度计划年度计划表办理征地手续《建设用地规划许可证》《北京市城镇建设用地批准书》用地申请选址报告用地批准文件《规划意见书》测量、勘察《拨地测量及测量报告》工程地址勘察合同《地质勘察报告》《建筑用地钉桩通知单》等设计招投标《规划意见书》《审定设计方案通知书》设计合同、设计概算初步设计编制设计文件施工图设计及说明设计计算书建设规划申报《建设工程规划许可证》施工图报审消防设计审核意见施工图设计文件审查通知书施工图审查报告监理招投标监理招投标文件、监理合同施工招投标施工招投标文件、施工合同办理开工手续《北京市建设工程开工审查表》 工程质量监督手续《建设工程施工许可证》施 工建设单位采购物资的质量证明文件及报验文件形成形成形成列入城建档案形成馆接收工程形成形成形成监理资料管理流程形成形成形成形成形成形成形成形成工程报竣工程竣工报告(施工单位)监理单位竣工预验收勘察单位质量检查设计单位质量检查《单位工程竣工预验收报验表》(A8 监)《工程质量评估报告》(监理单位)《工程质量检查报告》(勘察单位)《工程质量检查报告》(设计单位)规划验收建设工程规划验收合格文件(建设工程规划许可证附件上加盖规划验收章)工程档案预验收《建设工程竣工档案预验收意见》 (城建档案馆)工程竣工验收《工程竣工验收报告》(建设单位)《单位工程质量竣工验收记录》规划、公安消防、环保等部门出具的认可文件或准许使用文件监理中标中标通知书监理合同编制监理规划监理规划施工准备阶段图纸会审记录《工程技术文件报审表》《施工测量放线报验表》 第一次施工场地会议纪要施工监理交底会议纪要《工程动工报审表》动工审批动工审批监理实施细则工程进度控制《施工进度计划报审表》《()月工、料、机动态表》《工程暂停令》《工程复工报审表》《工程延期申请表》《工程延期审批表》《监理通知》《监理通知回复单》工程质量控制《工程物资进场报验表》《分包单位资质报审表》《分项 / 分部工程施工报验表》《监理通知》《监理通知回复单》《监理抽检记录》《不合格项处置记录》《监理旁站记录》《有见证取样和送检见证人备案书》《见证记录》工程造价控制《()月工程进度款报审表》《工程款支付申请表》《工程款支付证书》施工合...

1、当您付费下载文档后,您只拥有了使用权限,并不意味着购买了版权,文档只能用于自身使用,不得用于其他商业用途(如 [转卖]进行直接盈利或[编辑后售卖]进行间接盈利)。
2、本站所有内容均由合作方或网友上传,本站不对文档的完整性、权威性及其观点立场正确性做任何保证或承诺!文档内容仅供研究参考,付费前请自行鉴别。
3、如文档内容存在违规,或者侵犯商业秘密、侵犯著作权等,请点击“违规举报”。

碎片内容

基建文件管理流程图

您可能关注的文档

确认删除?
VIP
微信客服
  • 扫码咨询
会员Q群
  • 会员专属群点击这里加入QQ群
客服邮箱
回到顶部