电脑桌面
添加小米粒文库到电脑桌面
安装后可以在桌面快捷访问

学校管理工作流程图

学校管理工作流程图_第1页
1/9
学校管理工作流程图_第2页
2/9
学校管理工作流程图_第3页
3/9
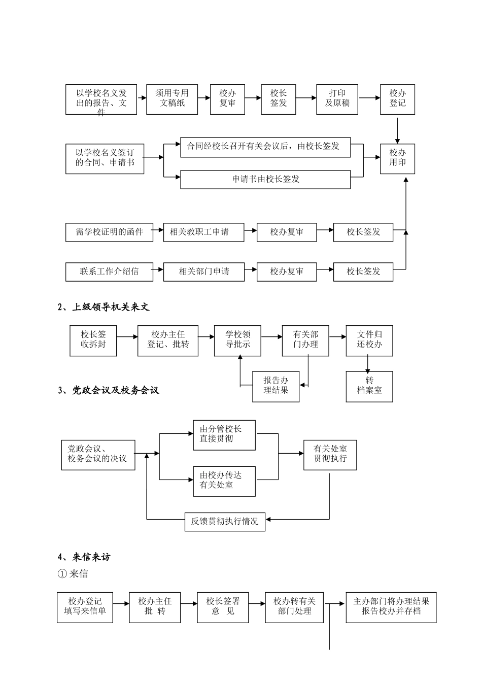
校学校管理工作流程图向管理要质量,只有管理科学化才能提高工作质量和效率。科学化管理,除了运用科学管理的原理,健全管理制度,各级各部门领导者除了具有科学管理头脑之外,还必须强化管理过程的法律规范化、程序化。通过管理过程的法律规范化、程序化,可以减少工作中的随意性和盲目性,还可以防止不负责的互相推委,有利于各级各部门领导者通过反馈,了解部门工作的情况,便于对各司其职的检查,从而提高工作的质量和效率。根据学校的实际,从提高教育、教学质量和进展的高度来思考,提出学校各项管理工作处理流程图.一、行政管理结构图二、学校常规管理工作处理流程图㈠校长工作1、制定学校规划(计划)2、学校工作总结3、学校工作重大决策㈡校务办公室1、校办用印党支部校 长教代会校务办公室政教处 教导处总务处工 会人 事食管办德育工作班主任工作团队青保工作教学工作教务工作财会事务基建修缮食堂门卫制定规划党政会 讨论校务会议教代会审定全体教职工总结报告党政会议 讨论校务会议教代会审定全体教职工决 策党政会 讨论校务会议教代会审定全体教职工2、上级领导机关来文3、党政会议及校务会议4、来信来访① 来信以学校名义发出的报告、文件须用专用文稿纸校办复审校长签发打印及原稿校办登记以学校名义签订的合同、申请书合同经校长召开有关会议后,由校长签发申请书由校长签发校办用印需学校证明的函件相关教职工申请校办复审校长签发联系工作介绍信相关部门申请校办复审校长签发党政会议、校务会议的决议由分管校长直接贯彻由校办传达有关处室反馈贯彻执行情况有关处室贯彻执行校长签收拆封校办主任登记、批转学校领导批示有关部门办理文件归还校办报告办理结果转档案室校办登记填写来信单校办主任批 转校长签署意 见校办转有关部门处理主办部门将办理结果报告校办并存档② 来访5、教职工工作情况资料汇总㈢人事工作1、工作调动① 调出② 调入2、奖惩答复本人或商调单位本人办理离校手续用人单位发接收调令人事部门发函同意调出不同意同意主办部门将办理结果报告校办,校办将结果报校长及上级有关部门门卫室填写来访单门卫通知被访人接待寻访结束,被访人签字门卫通知校办,校办记录校办主任安排接待人接待结束,接待人签字校长会议、行政会议提出资料汇总要求校办按要求编制项目表各处室汇总部门教职工工作资料情况校办后期整理资料存档校长会议、行政会议归纳整理听取意见校办汇总后递校长人事干部审 核本人申请或由组织...

1、当您付费下载文档后,您只拥有了使用权限,并不意味着购买了版权,文档只能用于自身使用,不得用于其他商业用途(如 [转卖]进行直接盈利或[编辑后售卖]进行间接盈利)。
2、本站所有内容均由合作方或网友上传,本站不对文档的完整性、权威性及其观点立场正确性做任何保证或承诺!文档内容仅供研究参考,付费前请自行鉴别。
3、如文档内容存在违规,或者侵犯商业秘密、侵犯著作权等,请点击“违规举报”。

碎片内容

学校管理工作流程图

您可能关注的文档

确认删除?
VIP
微信客服
  • 扫码咨询
会员Q群
  • 会员专属群点击这里加入QQ群
客服邮箱
回到顶部