电脑桌面
添加小米粒文库到电脑桌面
安装后可以在桌面快捷访问

2025年监理全套表格及施工工作程序

2025年监理全套表格及施工工作程序_第1页
1/121
2025年监理全套表格及施工工作程序_第2页
2/121
2025年监理全套表格及施工工作程序_第3页
3/121
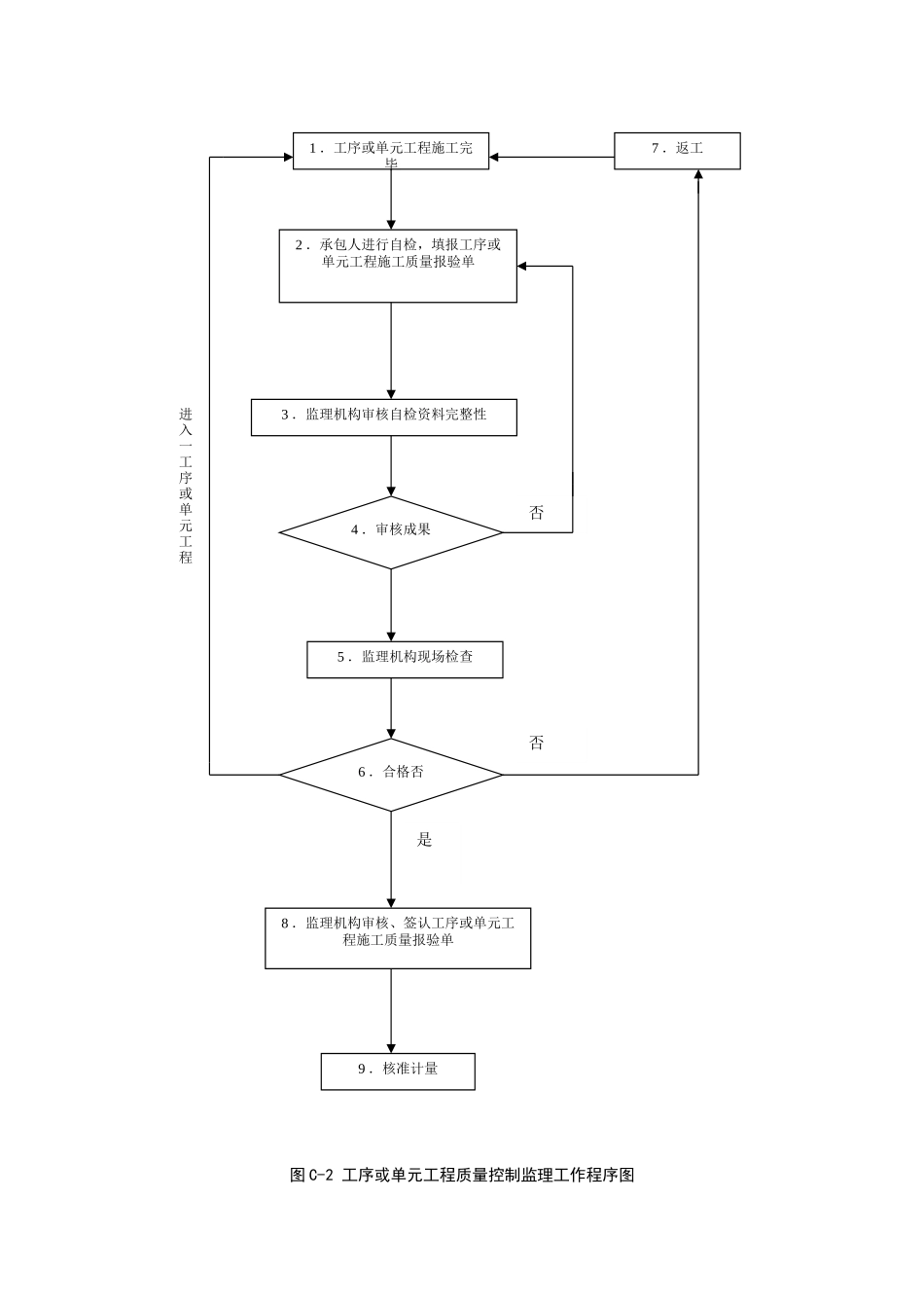
附录 C 施工监理重要工作程序框图 1 .公布人公布监理招标公告或投标邀请书2 .监理单位编制投标文献(包括监理大纲)参与投标3 .发包人选定监理单位4 .发包人与监理单位签订监理协议5 .监理机构编写监理规划及监理实行细则6 .监理机构实行监理7 .监理协议结束图 C-1 监理单位工作程序图图 C-2 工序或单元工程质量控制监理工作程序图否1 .工序或单元工程施工完毕2 .承包人进行自检,填报工序或单元工程施工质量报验单3 .监理机构审核自检资料完整性4 .审核成果5 .监理机构现场检查6 .合格否8 .监理机构审核、签认工序或单元工程施工质量报验单9 .核准计量进入一工序或单元工程7 .返工否是图 C-3 质量评估监理工作程序图1.单元工程竣工2.承包人填写单元工程质量等级评估表,组织评估单元工程质量等级3.监理机构审核单元工程质量等级评估表,复核单元工程质量等级4.分部工程竣工5.承包人填写分部工程质量等级评估表,进行分部工程质量等级评估6.监理机构审核分部工程质量等级评估表,复核分部工程质量等级7.质量监督部门审查核备质量等级(一般分部工程)8.质量监督部门审查核定质量等级(大型枢纽主体建筑的分部工程)9.单位工程竣工10.承包人填写单位工程质量评估表,进行单位工程质量等级评估12.质量监督部门核定单位工程质量等级11.监理机构复核单位工程质量评估表,复核单位工程质量等级13.工程项目竣工14.质量监督部门核定工程项目质量等级15.质量监督部门提出工程项目质量评估汇报,向竣工验收委员会提出工程项目质量等级的提议进入下一单元工程进入下一分部工 程进入下一单位工程程1.承包人提交施工总进度计划2 .监理机构审批4.承包人编报年、季、月施工进度计划3 . 调 整 和 修改施工总进度计划5 .监理机构审批6 . 调 整 和 修改施工进度计划7.承包人实行施工进度计划,按月编报施工进度汇报8.监理机构监督、检查施工进度9.发生实际进度与计划进度不符(拖后)14.继续施工11.承包人调整进度计划10 .与否影响总工期、后续工作安排12 .监理机构审批与否满足规定13.修订进度计划不 一 样意同意不 一 样意同意是是否否图 C-4 进度控制监理工作程序图1 .单元工程验收合格2 .承包人申请工程计量3 .监理机构进行工程计量、复核4 .承包人编制并提交工程价款月支付申请5 .监理机构审核7 .监理机构签发工程价款月付款证书8 .报发包人审批9 ...

1、当您付费下载文档后,您只拥有了使用权限,并不意味着购买了版权,文档只能用于自身使用,不得用于其他商业用途(如 [转卖]进行直接盈利或[编辑后售卖]进行间接盈利)。
2、本站所有内容均由合作方或网友上传,本站不对文档的完整性、权威性及其观点立场正确性做任何保证或承诺!文档内容仅供研究参考,付费前请自行鉴别。
3、如文档内容存在违规,或者侵犯商业秘密、侵犯著作权等,请点击“违规举报”。

碎片内容

2025年监理全套表格及施工工作程序

您可能关注的文档

山水人家+ 关注
实名认证
内容提供者

读万卷书,行万里路。

确认删除?
VIP
微信客服
  • 扫码咨询
会员Q群
  • 会员专属群点击这里加入QQ群
客服邮箱
回到顶部