电脑桌面
添加小米粒文库到电脑桌面
安装后可以在桌面快捷访问

工序报验流程图

工序报验流程图_第1页
1/5
工序报验流程图_第2页
2/5
工序报验流程图_第3页
3/5
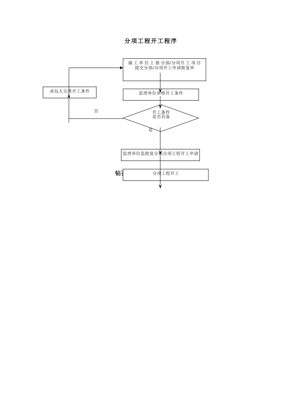
分项工程开工程序是钻孔灌注桩工序报验流程图施 工 单 位 上 报 分部/分项开 工 项 目提交分部/分项开工申请批复单监理单位监批复分部分项工程开工申请承包人完善开工条件分项工程开工监理单位审核开工条件开工条件是否具备否承台工序报验流程图施工单位平整场地施工单位对桩基桩位测量放样测量工程师向测量监理工程师报验复核开挖埋设护筒合格钻机就位测量工程师报请测量监理工程师进行复核合格 钻 孔测量工程师报请现场监理工程师进行复核对终孔自检钢筋笼设立质检工程师报请试验监理及现场监理工程师进行复核承包人对吊装前制作的钢筋笼骨架及声测段的安装进行 自检施工单位对灌注砼前进行自检质检工程师报请现场监理工程师进行复核设立导管灌注水下砼现场监理对现场准备情况进行检查,并对砼浇筑过程进行旁站拔出护筒截除桩头桩基成桩检查二次清孔不合格养生墩身工序报验流程图施工单位对承台进行测量放样、开挖测量工程师报请测量监理工程师进行复核自检合格施工单位对承台进行施工质检工程师报请现场监理工程师进行复核返工整改不合格支 模施工单位对模板进行自检灌注砼质检工程师报请试验监理及现场监理工程师对混凝土等进行复核,并对砼浇筑进行旁站与墩身、台身接缝处进行凿毛处理及砼试件的制作砼养生、拆模钢筋施工施工单位对钢筋进行自检质检工程师报请现场监理工程师进行复核返工整改不合格现浇梁工序报验流程图钢筋绑扎施工单位对钢筋骨架进行自检质检工程师报请现场监理工程师进行复核返工整改不合格施工单位进行模板进行自检质检工程师报请现场监理工程师进行复核返工整改不合格灌注砼质检工程师报请试验监理及现场监理工程师对混凝土进行复核,并对砼浇筑进行旁站进行凿毛处理及砼试件的制作砼养生、拆模测量工程师报请测量监理工程师进行复核施工对中心平面位置、高程进行测量放样自检合格施工对地基进行处理施工根据已批复的专项方案进行施工质检工程师报请现场监理进行验收不合格返工整改施工单位搭设支架,安装底模,并进行自检质检工程师报请现场监理进行验收施工单位进行支架预压返工整改不合格安装外侧模进行自检质检工程师报请现场监理进行验收不合格返工整改不满足要求实行措施改进安装钢筋及预应力管道进行自检质检工程师报请现场监理进行复核浇筑混凝土质检工程师报请试验监理对混凝凝土进行复核,现场监理进行旁站混凝土养生

1、当您付费下载文档后,您只拥有了使用权限,并不意味着购买了版权,文档只能用于自身使用,不得用于其他商业用途(如 [转卖]进行直接盈利或[编辑后售卖]进行间接盈利)。
2、本站所有内容均由合作方或网友上传,本站不对文档的完整性、权威性及其观点立场正确性做任何保证或承诺!文档内容仅供研究参考,付费前请自行鉴别。
3、如文档内容存在违规,或者侵犯商业秘密、侵犯著作权等,请点击“违规举报”。

碎片内容

工序报验流程图

您可能关注的文档

确认删除?
VIP
微信客服
  • 扫码咨询
会员Q群
  • 会员专属群点击这里加入QQ群
客服邮箱
回到顶部