电脑桌面
添加小米粒文库到电脑桌面
安装后可以在桌面快捷访问

建设项目征地流程

建设项目征地流程_第1页
1/2
建设项目征地流程_第2页
2/2
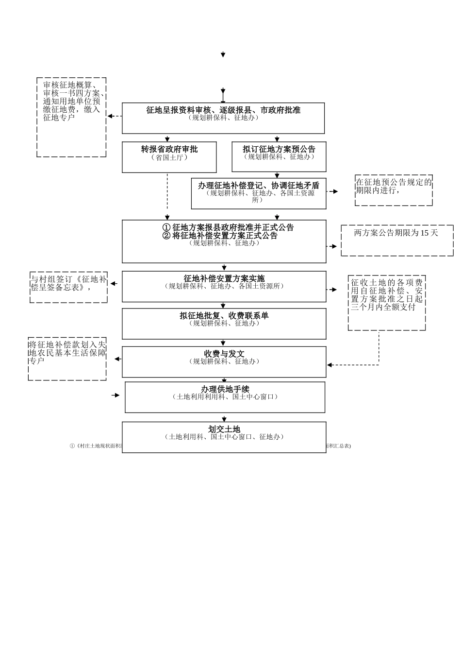
建设项目征地工作流程? (一)用地预审:由建设单位到市国土资源房管局办理用地预审手续(已办理计划规划的项目用地自第(三)条开始办理);(二)规划选址:建设单位持用地预审文件等资料到规划部门办理规划选址手续;(三)计划立项:由建设单位持相关文件到计划管理部门办理计划立项手续;(四)征地申请:由建设单位持规划、计划、图纸等材料向市统一征地办公室申请办理征地手续;(五)权属确认:由市统一征地办公室将相关材料转权籍管理部门进行土地权属地类确认,并定界测量;(六)地上物清点:由市统一征地办公室会同被征地单位等相关部门对征地范围内地上物进行清点;(七)签订协议:由市统一征地办公室拟定征地补偿安置协议,并与被征地单位签订协议,约定征地补偿、安置和土地付款等事项;(八)组件报批:对涉及农用地转用和集体土地征收的按规定程序编制“一书四方案”组件上报审批;(九)征地公告:征地批复后,按规定进行“两公告、一登记";(十)供地手续:整理材料,组织供地方案,报市政府批准后实施。]海安县建设项目征地流程图国有存量建设用地新增建设用地(含使改征)规划审查、勘测定界、勘测资料审核(规划耕保科、地籍地矿科、测绘队)征地调查、征地调查结果确认、征地告知、依申请组织征地听证、编制概算、拟呈报资料(监察科、规划耕保科、征地办、各国土资源所)申请与受理(国土中心窗口)(窗口)补 件用地预审申请申请者受 理国土中心窗口预审审查国土中心窗口、征地办出具预审意见征地办①《村庄土地现状面积汇总表》及图纸 ②《村庄土地规划分类面积汇总表》及图纸)③《村庄四类用地三定图》及面积汇总表) ① 征地方案报县政府批准并正式公告② 将征地补偿安置方案正式公告(规划耕保科、征地办)征地补偿安置方案实施(规划耕保科、征地办、各国土资源所)拟征地批复、收费联系单(规划耕保科、征地办)收费与发文(规划耕保科、征地办)审核征地概算、审核一书四方案、通知用地单位预缴征地费,缴入征地专户在征地预公告规定的期限内进行,两方案公告期限为 15 天征收土地的各项费用自征地补偿、安置方案批准之日起三个月内全额支付转报省政府审批(省国土厅)拟订征地方案预公告(规划耕保科、征地办)办理征地补偿登记、协调征地矛盾(规划耕保科、征地办、各国土资源所)征地呈报资料审核、逐级报县、市政府批准(规划耕保科、征地办)与村组签订《征地补偿呈签备忘表》,办理供地手续(土地利用利用科、...

1、当您付费下载文档后,您只拥有了使用权限,并不意味着购买了版权,文档只能用于自身使用,不得用于其他商业用途(如 [转卖]进行直接盈利或[编辑后售卖]进行间接盈利)。
2、本站所有内容均由合作方或网友上传,本站不对文档的完整性、权威性及其观点立场正确性做任何保证或承诺!文档内容仅供研究参考,付费前请自行鉴别。
3、如文档内容存在违规,或者侵犯商业秘密、侵犯著作权等,请点击“违规举报”。

碎片内容

建设项目征地流程

确认删除?
VIP
微信客服
  • 扫码咨询
会员Q群
  • 会员专属群点击这里加入QQ群
客服邮箱
回到顶部