电脑桌面
添加小米粒文库到电脑桌面
安装后可以在桌面快捷访问

电梯故障处理流程

电梯故障处理流程_第1页
1/2
电梯故障处理流程_第2页
2/2
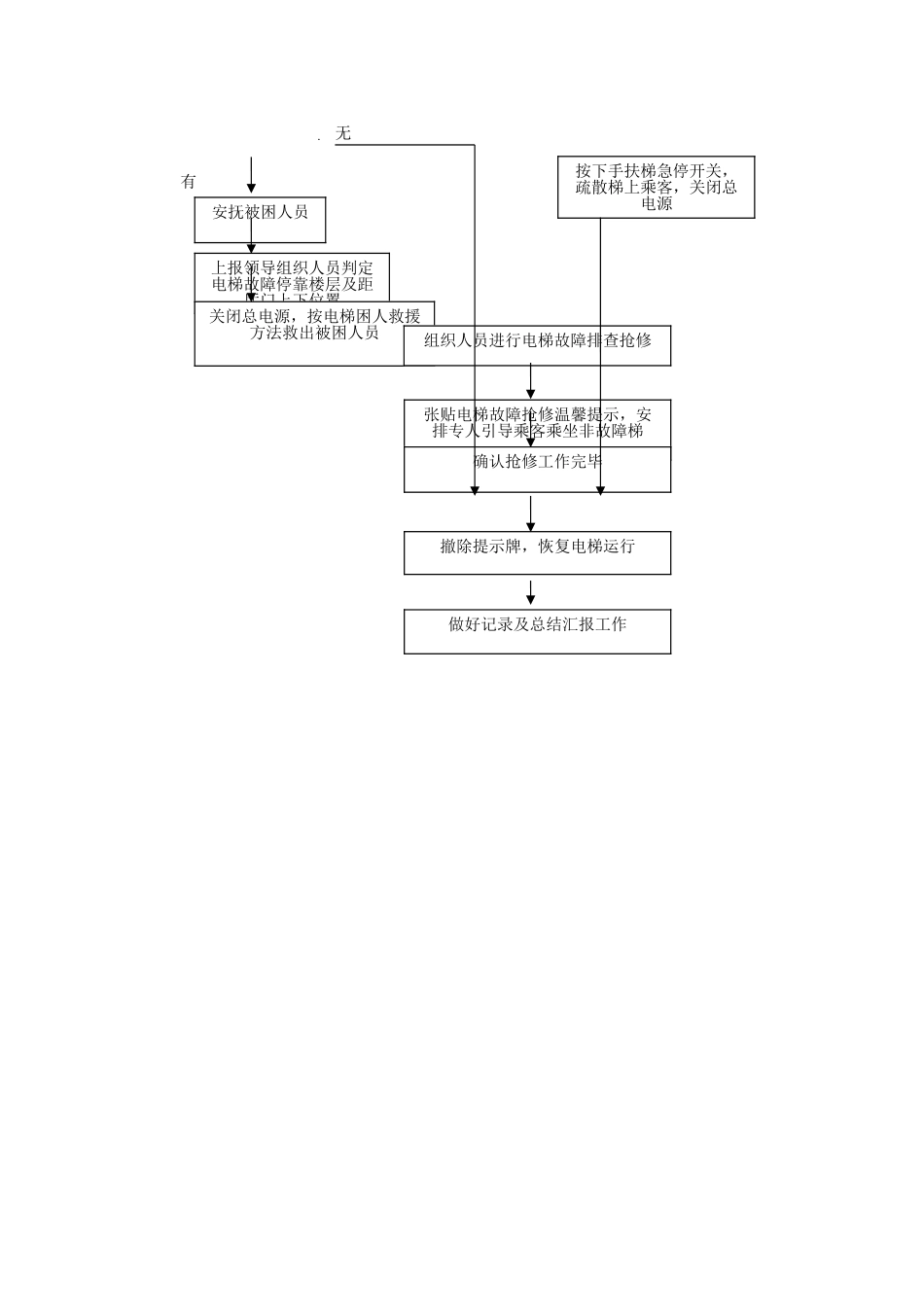
电梯故障处理流程当值班人员得知电梯故障信息后,应按以下流程进行处理:1、值班人员应立即电话或对讲通知电梯技术人员在 5 分钟内到达故障现场查看,通知电梯安装方技术人员立即赶赴现场,信息不明的情况下先确认故障电梯是垂直电梯还是手扶电梯。2、若为垂直电梯应立即用电梯内监控或对讲了解电梯内有无困人,被困人员情况如何。3、确认有人被困,立即组织人员判定故障电梯停靠楼层及轿厢距厅门坎上下间的距离,安排专人通过电梯对讲对被困人员进行安抚。4、电梯技术员人员根据故障电梯停靠的位置确定救援方法,轿厢距厅门坎上下的距离在 0。5 米范围内可直接开启厅门救人,不在 0。5 米范围内应实行机房盘车的方法救援出被困人员。5、若为手扶电梯故障,电梯技术人员在保证梯上乘客安全的前提下应立即关闭电源,引导梯上乘客撤离故障电梯.6、根据救援出来的乘客的情况,决定是否实施现场抢救或拨打 120 急救。7、电梯未困人或确定被困人员已全部救援完毕后,组织电梯技术人员及施工安装方技术人员立即对电梯故障原因进行排查抢修。8、客户服务人员立即在故障梯现场张贴电梯故障抢修的温馨提示,电梯技术人员安装故障检修护栏,在人流量较大楼层安排专门的客户服务人员引导乘客乘坐非故障梯。9、故障电梯抢修完毕后,电梯技术人员进行电梯试运行,确认电梯修复正常,可以使用。10、撤除电梯故障检修护栏及温馨提示,恢复电梯正常运行。11、处理结果上报管理处和项目经理,电梯技术人员做好抢修记录及事故总结工作。电梯故障处理流程图电梯故障报修信息垂直电梯故障手扶梯故障确认有无困人无 有 安抚被困人员上报领导组织人员判定电梯故障停靠楼层及距厅门上下位置关闭总电源,按电梯困人救援方法救出被困人员组织人员进行电梯故障排查抢修按下手扶梯急停开关,疏散梯上乘客,关闭总电源张贴电梯故障抢修温馨提示,安排专人引导乘客乘坐非故障梯确认抢修工作完毕撤除提示牌,恢复电梯运行做好记录及总结汇报工作

1、当您付费下载文档后,您只拥有了使用权限,并不意味着购买了版权,文档只能用于自身使用,不得用于其他商业用途(如 [转卖]进行直接盈利或[编辑后售卖]进行间接盈利)。
2、本站所有内容均由合作方或网友上传,本站不对文档的完整性、权威性及其观点立场正确性做任何保证或承诺!文档内容仅供研究参考,付费前请自行鉴别。
3、如文档内容存在违规,或者侵犯商业秘密、侵犯著作权等,请点击“违规举报”。

碎片内容

电梯故障处理流程

范哲铺+ 关注
实名认证
内容提供者

想你所想,急你所急,你需要的都在店铺里可以找到。

确认删除?
VIP
微信客服
  • 扫码咨询
会员Q群
  • 会员专属群点击这里加入QQ群
客服邮箱
回到顶部