电脑桌面
添加小米粒文库到电脑桌面
安装后可以在桌面快捷访问

J013_车门内护板设计规范标准

J013_车门内护板设计规范标准_第1页
1/14
J013_车门内护板设计规范标准_第2页
2/14
J013_车门内护板设计规范标准_第3页
3/14
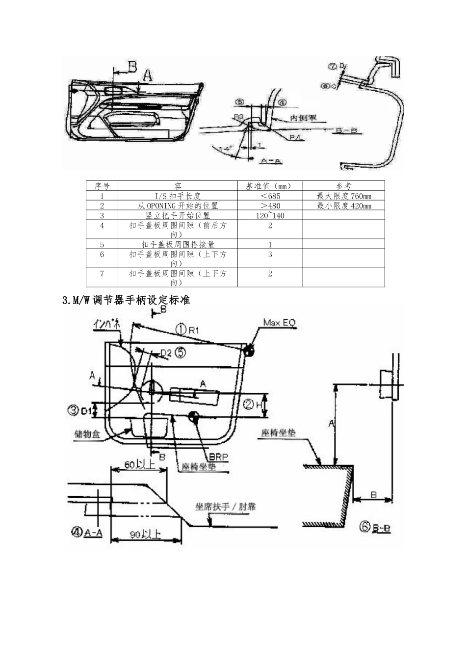
Q/XRFxxxxx 公司Q/XRF-J013-2024xxxx车门护板设计规编制:日期: 校对:日期: 审核:日期: 批准:日期: 2024-03-15 发布 2024-03-15 实施xxxxx 公司发布前言 随着汽车工业的日新月异,人们对汽车饰的追求也在不断提高。作为汽车饰重要的组成部分—车门饰板,舒适性、可靠性、美观性越来越成为人们追求的目标。对车门护板的正确设计,将会给试制、批量生产、整车商品性带来事半功倍的效果。本文对我公司车型车门护板的设计进行详细介绍。1.吸能块和周边零件间隙序号容基准值(mm)1与车窗玻璃的间隙102与车门板便面的间隙53与车门板孔的间隙104与车门饰的间隙22.扣手的设定标准3.M/W 调节器手柄设定标准序号容基准值(mm)参考1I/S 扣手长度<685最大限度 760mm2从 OPONING 开始的位置>480最小限度 420mm3竖立把手开始位置120~1404扣手盖板周围间隙(前后方向)25扣手盖板周围搭接量16扣手盖板周围间隙(上下方向)37扣手盖板周围间隙(上下方向)24.电动控制钮的设定标准序号容基 准 值(mm)参考1调节器手柄的长度<6702从乘坐参考点开始到扣手中心高度>1303与车门储物盒的距离>1604与肘靠的距离>904与肘靠的距离>60应用参考手册表面高度5与仪表板的距离>1306从坐姿的距离参照左图5.肘靠 的设定标准序号容基准值(mm)参考1对应室冲击必要条件的场合>2 in纵面倾斜 15°以2对应室部突出物必要条件的场合>R3.5适合围清参考上图 *1 推举高度=(0.6+30)+SEAT BACK ANGLE 修正值±10上限高度=0.6d+50下限高度=0.6d序号容基准值(mm)参考1电动控制钮的长度625~7252从把手开始的距离>1403从把手开始的角度<184前后倾斜角0~10°前面提升至 10°5左右倾斜角0~5°ARM 表面高度6与饰表面的距离≥25序号容基准值(mm)参考1肘靠上面的高度(H)根据*1 计算式从 SRP(JM50%)开始2肘靠长度(SRP 的前侧)170±20SRP(JM50%)3同上(SRP 的后侧)110±20同上4ARMREST 上面的前后倾斜5~6 度5ARMREST 上面的左右倾斜0~5 度6ARMREST 上面的宽度>707室冲击吸收方式侧面宽度15θ3<15°6.缝隙间的设定标准序号容基准值(mm)参考1与仪表板的缝隙52视觉补正上图参考3与 SASH 的缝隙24与 UPPER 和 LOWER 的搭接尺寸上图参考序号容基准值(mm)参考1车门饰与 B 柱装饰件的间隙5水平方向2车门饰与 B 柱装饰件的间隙5车副方向3抽取倾斜角10 度4车门板的突出部分与饰的间隔5注意:1.终端在 OVERHANG 的时要设定...

1、当您付费下载文档后,您只拥有了使用权限,并不意味着购买了版权,文档只能用于自身使用,不得用于其他商业用途(如 [转卖]进行直接盈利或[编辑后售卖]进行间接盈利)。
2、本站所有内容均由合作方或网友上传,本站不对文档的完整性、权威性及其观点立场正确性做任何保证或承诺!文档内容仅供研究参考,付费前请自行鉴别。
3、如文档内容存在违规,或者侵犯商业秘密、侵犯著作权等,请点击“违规举报”。

碎片内容

J013_车门内护板设计规范标准

确认删除?
VIP
微信客服
  • 扫码咨询
会员Q群
  • 会员专属群点击这里加入QQ群
客服邮箱
回到顶部