电脑桌面
添加小米粒文库到电脑桌面
安装后可以在桌面快捷访问

办事处业务流程与运作管理

办事处业务流程与运作管理_第1页
1/30
办事处业务流程与运作管理_第2页
2/30
办事处业务流程与运作管理_第3页
3/30
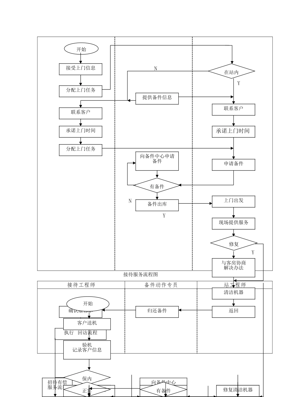
业务运作本章容简介3.1 办事处业务流程介绍3.2 办事处各岗位操作规3.3 岗位规检查表与其容3.4 备件运作管理规定业务操作部分是描述办事处各项业务流程、业务岗位职责和岗位操作规的章节。通过对办事处业务流程的梳理阐明了相关岗们之间的衔接关系,使各岗位人员了解自己在办事处业务动作过程中的位置,从而让员工更好地理解自己的工作在办事处整体工作中的重要性。3.1 办事处业务流程介绍根据办事处日常业务的运作情况,我们将办事处的所有业务以流程图来表示。办事处业务流程分为两级:一级流程和二级流程。一级流程:xx 服务流程二级流程:热线服务流程 上门服务流程 接待服务流程 回访流程 有偿服务流程热线服务流程图 热线工程师协调员开始客户来电了解客户需求求职记录客户信息反馈 2推断服务方式报修指导客户送 修执行有偿服务流程告辞客户填写上门派工单中相关部分解答客户问题送修上门上门结束上 门 信息执行有偿服务流程 N Y N N Y Y Y N上门服务流程图协调员备件动作专员上门维修工程师 N N Y Y Y N 接待服务流程图接待工程师备件动作专员站工程师开始接受上门信息分配上门任务分配上门任务联系客户承诺上门时间提供备件信息向备件中心申请备件备件出库归还备件在站内联系客户承诺上门时间申请备件上门出发与客房协商解决办法返回清洁机器修复有备件执行 回访流程确认维修单现场提供服务开始客户送机验机记录客户信息承诺取机时间招待有偿服务流程通知客户取机验机客户签字取机确认维修单执行 回访流程保内正常提供备件信息向备件中心申请备件备件出库备件入库有备件接受任务申请备件工程师维修修复清洁机器 N Y N Y N Y 回访流程回访专员站长开始接受回访名单给客户打 引导客户发言分析不满意根源征询客户其它建议结束回访告辞客户整理记录分析并制定改进措施满 意请说明原因结束回访信息有偿服务流程图热线工程师上门维修工程师接待工程师 N Y N Y开始客户来电确认属有偿服务承诺上门客户送修结束安排工程师提供服务确认属有偿服务说明有偿服务政策并报价服务完成,填写《维修单》服务完成收费,给发票为客户提供服务出示价目单带发票上门说明有偿服务政策并报价交款给行政专员带客户到行政专员处交款接受接受开始结束结束3.2 岗位操作规办事处是通过执行统一标准的服务程序和个性化服务来实现 xx 服务的长期目标——顾客完全满意。我们将办事处每一个岗位作为管理定位对象;将...

1、当您付费下载文档后,您只拥有了使用权限,并不意味着购买了版权,文档只能用于自身使用,不得用于其他商业用途(如 [转卖]进行直接盈利或[编辑后售卖]进行间接盈利)。
2、本站所有内容均由合作方或网友上传,本站不对文档的完整性、权威性及其观点立场正确性做任何保证或承诺!文档内容仅供研究参考,付费前请自行鉴别。
3、如文档内容存在违规,或者侵犯商业秘密、侵犯著作权等,请点击“违规举报”。

碎片内容

办事处业务流程与运作管理

领读文化+ 关注
实名认证
内容提供者

传播文化,铸就未来

确认删除?
VIP
微信客服
  • 扫码咨询
会员Q群
  • 会员专属群点击这里加入QQ群
客服邮箱
回到顶部