电脑桌面
添加小米粒文库到电脑桌面
安装后可以在桌面快捷访问

拔卸油轨件的油轨喷嘴的密封盖一种拔卸装置设计大学论文VIP专享

拔卸油轨件的油轨喷嘴的密封盖一种拔卸装置设计大学论文_第1页
1/16
拔卸油轨件的油轨喷嘴的密封盖一种拔卸装置设计大学论文_第2页
2/16
拔卸油轨件的油轨喷嘴的密封盖一种拔卸装置设计大学论文_第3页
3/16
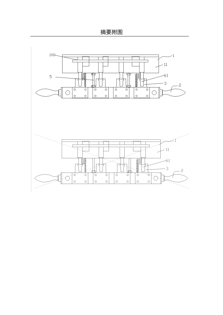
说明书摘要本有用新型公开了一种拔卸装置,用于拔卸油轨件的油轨喷嘴的密封盖,包括:油轨件定位组件,具有第一定位槽板和第二定位槽板,第一定位槽板和第二定位槽板相结合,形成安置油轨件的油轨件定位槽;卡爪定位组件,具有用于拔卸所述密封盖的卡爪,卡爪与安置在油轨件定位槽中的油轨件的油轨喷嘴的密封盖结合。本有用新型提高油轨喷嘴密封盖的拔卸效率,减轻员工的劳动强度。摘要附图权利要求书1、一种拔卸装置,用于拔卸油轨件的油轨喷嘴的密封盖,其特征在于,包括:油轨件定位组件,具有第一定位槽板和第二定位槽板,第一定位槽板和第二定位槽板相结合,形成安置油轨件的油轨件定位槽;卡爪定位组件,具有用于拔卸所述密封盖的卡爪,卡爪与安置在油轨件定位槽中的油轨件的油轨喷嘴的密封盖结合。2、如权利要求 1 所述的拔卸装置,其特征在于,所述卡爪定位组件包括:卡爪竖直定位件,具有垂直导向柱孔;卡爪水平定位件,其上设置有用于穿入所述垂直导向柱孔的垂直导向柱,其中所述卡爪固定在所述卡爪竖直定位件上。3、如权利要求 2 所述的拔卸装置,其特征在于,所述垂直导向柱上安装有弹簧。4、如权利要求 3 所述的拔卸装置,其特征在于,所述卡爪水平定位件开设有与所述垂直导向柱垂直的水平导向柱孔,所述第一定位槽板上设穿入所述水平导向柱孔的水平导向柱。5、如权利要求 4 所述的拔卸装置,其特征在于,所述第一定位槽板上设有水平移动限位机构,用于调节卡爪水平定位件与第一定位槽板的水平距离以便卡爪与密封盖结合。6、如权利要求 5 所述的拔卸装置,其特征在于,所述水平移动限位机构包括:设置在所述第一定位槽板上的内螺纹套杆;与所述内螺纹套杆螺纹连接的间隙调节螺栓。7、如权利要求 4 至 6 任一所述的拔卸装置,其特征在于,所述水平导向柱上套设弹簧。说明书一种拔卸装置 技术领域本有用新型涉及汽车发动机生产装配技术,尤其涉及一种用于拔卸油轨件的油轨喷嘴的密封盖的拔卸装置。背景技术为保证发动机装配部品油轨的清洁度,配套油轨厂家在生产的油轨喷嘴上压装密封盖,每套油轨配有四个密封盖。目前,在将油轨装配到发动机时,需要首先将四个密封盖徒手逐一单个拔出,然后再进行油轨安装。由于油轨喷嘴与油轨杆由卡簧卡紧,拔卸时需要一手固定卡簧,一手拔卸油轨喷嘴的密封盖,防止油轨喷嘴一同脱落。此操作过程存在以下不足:1、拔卸过程中容易造成油轨喷嘴一同脱落,使卡簧变形;2、操作过程中出现...

1、当您付费下载文档后,您只拥有了使用权限,并不意味着购买了版权,文档只能用于自身使用,不得用于其他商业用途(如 [转卖]进行直接盈利或[编辑后售卖]进行间接盈利)。
2、本站所有内容均由合作方或网友上传,本站不对文档的完整性、权威性及其观点立场正确性做任何保证或承诺!文档内容仅供研究参考,付费前请自行鉴别。
3、如文档内容存在违规,或者侵犯商业秘密、侵犯著作权等,请点击“违规举报”。

碎片内容

拔卸油轨件的油轨喷嘴的密封盖一种拔卸装置设计大学论文

办公文档专营+ 关注
实名认证
内容提供者

大量办公文档,欢迎选择

确认删除?
VIP
微信客服
  • 扫码咨询
会员Q群
  • 会员专属群点击这里加入QQ群
客服邮箱
回到顶部