电脑桌面
添加小米粒文库到电脑桌面
安装后可以在桌面快捷访问

生产异常及停线管理规范

生产异常及停线管理规范_第1页
1/6
生产异常及停线管理规范_第2页
2/6
生产异常及停线管理规范_第3页
3/6
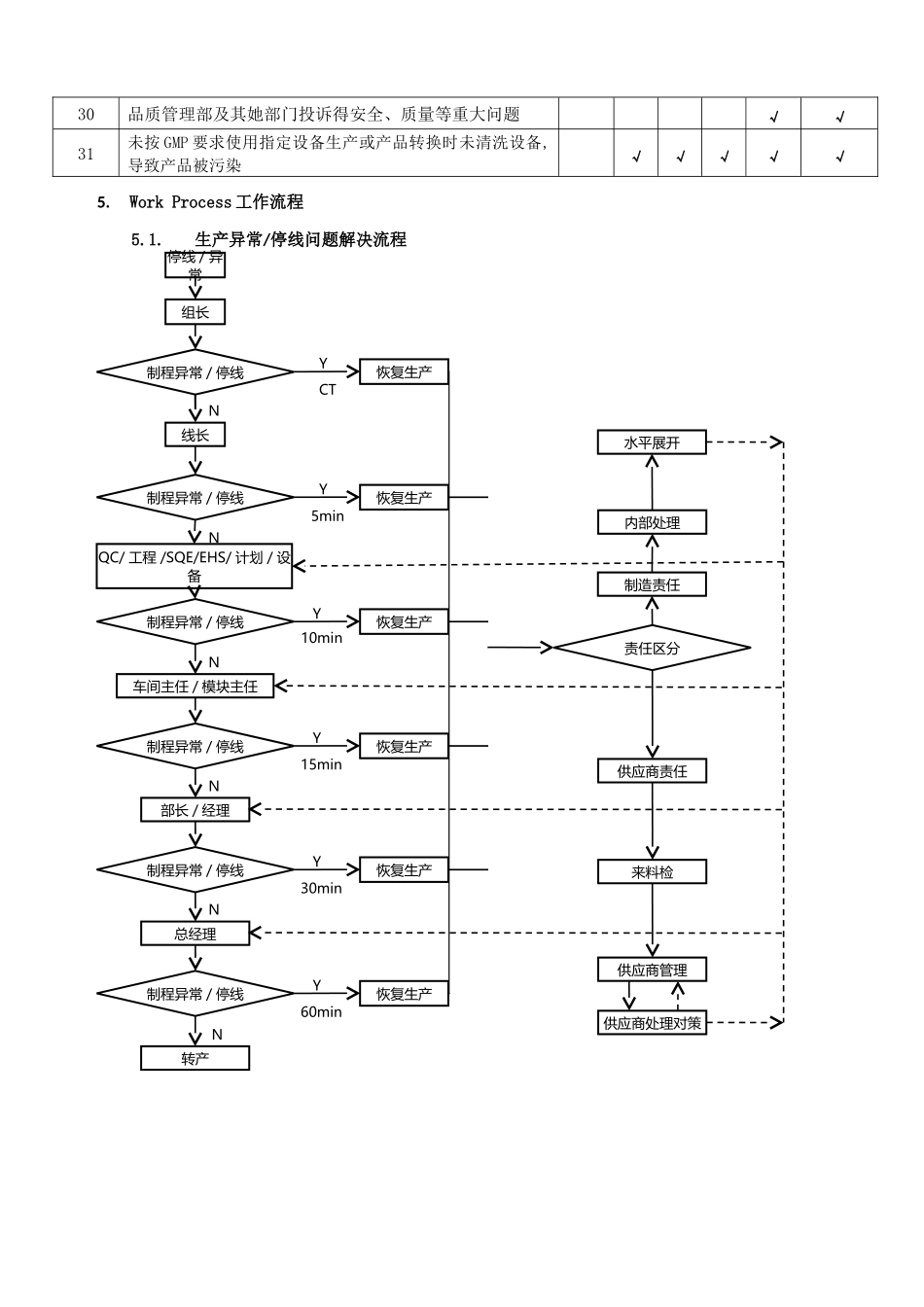
生产异常及停线管理法律规范1.Purpose 目得法律规范各车间在生产过程中产线发生紧急事故、质量、安全、设备、物料、EHS、人员等异常状况时;各车间及辅助部门得标准作业流程,特制定本法律规范。2.Scope 适用范围适用于本公司各制造部门、各车间、各生产线。3.Definition 定义 3.1. 生产异常类型3.1.1.不安全行为:3.1.1.1.不安全就是在生产过程中,系统得运行状态对人得生命、财产、环境可能产生得损害;例如:设备安全保护措施失效或不稳定等。3.1.2.人员异常:3.1.2.1.在生产活动中生产人员不足以满足最低生产配置要求,重要岗位人员技能不足,突发疾病等状况。3.1.3.设备异常:3.1.3.1.在生产活动中由于生产设备发生故障、参数异常、未按规定操作状况;例如:功率仪、绝缘耐压综合仪等未有校验,光栅损坏等。3.1.4.操作异常:3.1.4.1.产线在生产过程中未根据 SOP 规定得操作,导致产品质量不符合要求;3.1.4.2.临时有特别生产工艺要求,但未有临时 SOP,导致生产中操作不符合规定。3.1.5.物料异常:3.1.5.1.对于物料发生 A\B\C 类问题得停产比例达到一定值,需停线整改。A 类问题不良率≥5%,B 类问题不良率≥10%,C 类问题不良率≥20%,参照 5、4、材料等级及影响表。3.1.6.不符合法律、法规行为:3.1.6.1.在生产过程中,管理或操作违反操作规程、强迫生产,如:使用危害健康物质、未按GMP 要求使用指定设备生产或产品转换时未清洗设备,导致产品被污染等。4.Responsibilities 职责4.1.停线权限4.1.1. 对于生产异常问题得停线权限,就是依据问题得严重程度与处理问题得能力等各方面考量,列表如下: 序号异常现象描述停线权限EHS员工组长线长QC主管车间主任及以上1人员疲乏、突发疾病√√√√√√2测试、检验、维修人员未经岗位培训合格即上岗√√√√3机器参数设定错误或机器故障√√√√4无生产工装、测试工装或错误√√√5生产/测试治具未进行首件确认√√√√6生产/测试工装、生产/测试设备、未依规定保养点检√√7仪器未校验或未依规定进行日常保养或点检√√√√8A 类问题不良率≥5%√√√9B 类问题不良率≥10%√√√10C 类问题不良率≥20%√√√11材料分类管制不清楚及材料标识、料号、规格不明确√12材料使用错误√√√√√13未做首件检查√√√√14未依 SOP 或相关作业文件要求作业√√√15良品与不良品未区分√√√16产品堆叠在一起(未有防护)√√17测试误判率≥5%√√18成品抽检时判定批次不良 1 次√√19SOP 规定错误,如规格、参数√20...

1、当您付费下载文档后,您只拥有了使用权限,并不意味着购买了版权,文档只能用于自身使用,不得用于其他商业用途(如 [转卖]进行直接盈利或[编辑后售卖]进行间接盈利)。
2、本站所有内容均由合作方或网友上传,本站不对文档的完整性、权威性及其观点立场正确性做任何保证或承诺!文档内容仅供研究参考,付费前请自行鉴别。
3、如文档内容存在违规,或者侵犯商业秘密、侵犯著作权等,请点击“违规举报”。

碎片内容

生产异常及停线管理规范

确认删除?
VIP
微信客服
  • 扫码咨询
会员Q群
  • 会员专属群点击这里加入QQ群
客服邮箱
回到顶部