电脑桌面
添加小米粒文库到电脑桌面
安装后可以在桌面快捷访问

通信直流电源作业指导书样本

通信直流电源作业指导书样本_第1页
1/24
通信直流电源作业指导书样本_第2页
2/24
通信直流电源作业指导书样本_第3页
3/24
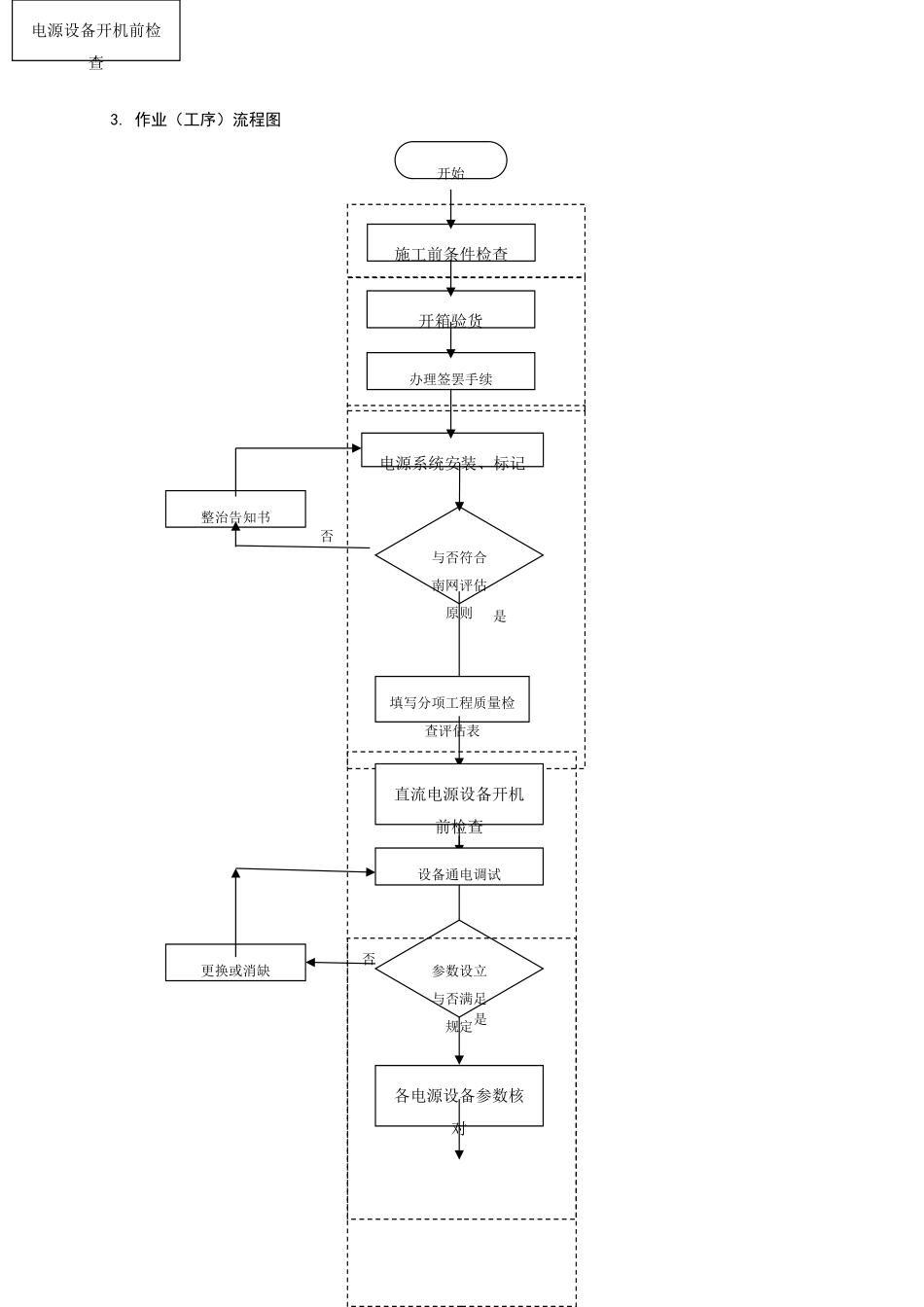
通信直流电源施工作业指引书编码:DLTX-031.合用范畴1、本作业指引书是中华人民共和国南方电网有限责任公司通信直流电源设备安装、调试和验收环节,合用于 110kV~500kV 电压级别电网通信直流电源新建、扩容及搬迁工程施工作业。2、本作业指引书未涉及内容和指标规定,应按国家关于规定、工程合同、设计文献等规定执行 。当本法律规范与国标及法律规范有矛盾时,应以国标和法律规范为准。3、在施工过程中,施工单位应严格执行各项施工质量检查规定。施工单位、监理单位应严格进行随工检查工作。4、在特别状况下,执行本作业指引书有困难时,施工单位应充分阐述理由,并提供报告呈建设单位主管部门审批。2.编写根据表 2-1 引用原则及法律规范名称序号原则及法律规范名称颁发机构1DL 408-91-1991 《电业安全工作规程》中华人民共和国能源部2DL/T 544-94 《电力系统通信管理规程》中华人民共和国电力出版社3DL/T 548-94 《电力系统通信站防雷运营管理规程》中华人民共和国电力出版社4DL/T781- 《电力用高频开关整流模块》中华人民共和国国家经济贸易委员会5DL/T5044- 《电力工程直流系统设计技术规程》中华人民共和国电力出版社6DL/T 724- 《电力系统用蓄电池直流电源装置运营与维护技术规程》中华人民共和国电力出版社7YD/T 1058- 《通信用高频开关组合电源》中华人民共和国信息产业部8YD/T 1051- 《通信局(站)电源系统总技术规定》中华人民共和国信息产业部9YD/T 731- 《通信用高频开关整流器》中华人民共和国信息产业部10YD/T 983-1998 《通信电源设备电磁兼容性限值及测量办法》中华人民共和国信息产业部11YD/T 799- 《通信用阀控式密封铅酸蓄电池》中华人民共和国信息产业部12国家电网公司十八项电网重大反事故办法中华人民共和国国家电网公司13《110kV∽500KV 送变电工程质量检查及评估原则》中华人民共和国南方电网公司14中华人民共和国南方电网通信管理暂行规定中华人民共和国南方电网公司15Q/CSG-《220kV~500kV 变电站电气技术导则》中华人民共和国南方电网公司15《中华人民共和国南方电网公司十项重点反事故办法》中华人民共和国南方电网公司163. 作业(工序)流程图 电源系统安装、标记与否符合南网评估原则整治告知书否是填写分项工程质量检查评估表开箱验货办理签罢手续开始施工前条件检查更换或消缺否是电源设备开机前检查各电源设备参数核对直流电源设备开机前检查设备通电调试参数设立与否满足...

1、当您付费下载文档后,您只拥有了使用权限,并不意味着购买了版权,文档只能用于自身使用,不得用于其他商业用途(如 [转卖]进行直接盈利或[编辑后售卖]进行间接盈利)。
2、本站所有内容均由合作方或网友上传,本站不对文档的完整性、权威性及其观点立场正确性做任何保证或承诺!文档内容仅供研究参考,付费前请自行鉴别。
3、如文档内容存在违规,或者侵犯商业秘密、侵犯著作权等,请点击“违规举报”。

碎片内容

通信直流电源作业指导书样本

您可能关注的文档

确认删除?
VIP
微信客服
  • 扫码咨询
会员Q群
  • 会员专属群点击这里加入QQ群
客服邮箱
回到顶部