电脑桌面
添加小米粒文库到电脑桌面
安装后可以在桌面快捷访问

014质量控制流程-门窗工程质量控制流程a

014质量控制流程-门窗工程质量控制流程a_第1页
1/1
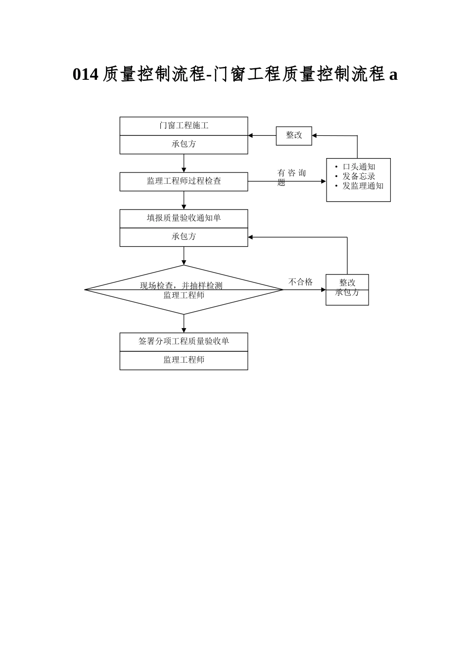
014 质量控制流程-门窗工程质量控制流程 a有 咨 询题不合格门窗工程施工承包方监理工程师过程检查签署分项工程质量验收单监理工程师填报质量验收通知单承包方现场检查,并抽样检测监理工程师整改承包方· 口头通知· 发备忘录· 发监理通知整改

1、当您付费下载文档后,您只拥有了使用权限,并不意味着购买了版权,文档只能用于自身使用,不得用于其他商业用途(如 [转卖]进行直接盈利或[编辑后售卖]进行间接盈利)。
2、本站所有内容均由合作方或网友上传,本站不对文档的完整性、权威性及其观点立场正确性做任何保证或承诺!文档内容仅供研究参考,付费前请自行鉴别。
3、如文档内容存在违规,或者侵犯商业秘密、侵犯著作权等,请点击“违规举报”。

碎片内容

014质量控制流程-门窗工程质量控制流程a

一二三四传媒+ 关注
实名认证
内容提供者

大量资料供您选择,没有合适的可以联系小二。

相关文档

确认删除?
VIP
微信客服
  • 扫码咨询
会员Q群
  • 会员专属群点击这里加入QQ群
客服邮箱
回到顶部