电脑桌面
添加小米粒文库到电脑桌面
安装后可以在桌面快捷访问

14种桩基及地基处理工艺流程图

14种桩基及地基处理工艺流程图_第1页
1/14
14种桩基及地基处理工艺流程图_第2页
2/14
14种桩基及地基处理工艺流程图_第3页
3/14
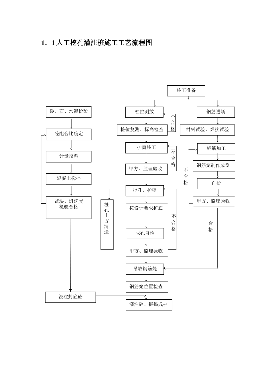
14 种桩基及地基处理工艺流程图(word 版)目 录1.挖孔桩....................................................................................................21.1 人工挖孔灌注桩施工工艺流程图................................................22.钻孔灌注桩..........................................................................................22.钻孔灌注桩..........................................................................................32.1 回转钻成孔正循环清孔工艺流程图..............................................32.2 回转钻成孔反循环清孔工艺流程图..............................................42.3 冲击成孔正循环清孔工艺流程图..................................................53. 沉管灌注桩..........................................................................................63.1 沉管灌注桩施工工艺流程图........................................................63.2 引孔沉管灌注桩施工工艺流程图..................................................74.长螺旋压力灌注桩..............................................................................74.长螺旋压力灌注桩..............................................................................84.1 长螺旋压灌砼桩施工工艺..............................................................84.2 长螺旋压浆桩施工工艺..................................................................85. 预制桩..................................................................................................95.1 预制桩锤击沉桩法施工工艺..........................................................95.2 预制桩静压法施工工艺流程........................................................106.预压....................................................................................................116.1 真空预压工艺流程图.................................................................117.搅拌桩..................................................................................................117.搅拌桩..................................................

1、当您付费下载文档后,您只拥有了使用权限,并不意味着购买了版权,文档只能用于自身使用,不得用于其他商业用途(如 [转卖]进行直接盈利或[编辑后售卖]进行间接盈利)。
2、本站所有内容均由合作方或网友上传,本站不对文档的完整性、权威性及其观点立场正确性做任何保证或承诺!文档内容仅供研究参考,付费前请自行鉴别。
3、如文档内容存在违规,或者侵犯商业秘密、侵犯著作权等,请点击“违规举报”。

碎片内容

14种桩基及地基处理工艺流程图

确认删除?
VIP
微信客服
  • 扫码咨询
会员Q群
  • 会员专属群点击这里加入QQ群
客服邮箱
回到顶部