电脑桌面
添加小米粒文库到电脑桌面
安装后可以在桌面快捷访问

北京某多层综合楼质量管理方案

北京某多层综合楼质量管理方案_第1页
1/47
北京某多层综合楼质量管理方案_第2页
2/47
北京某多层综合楼质量管理方案_第3页
3/47
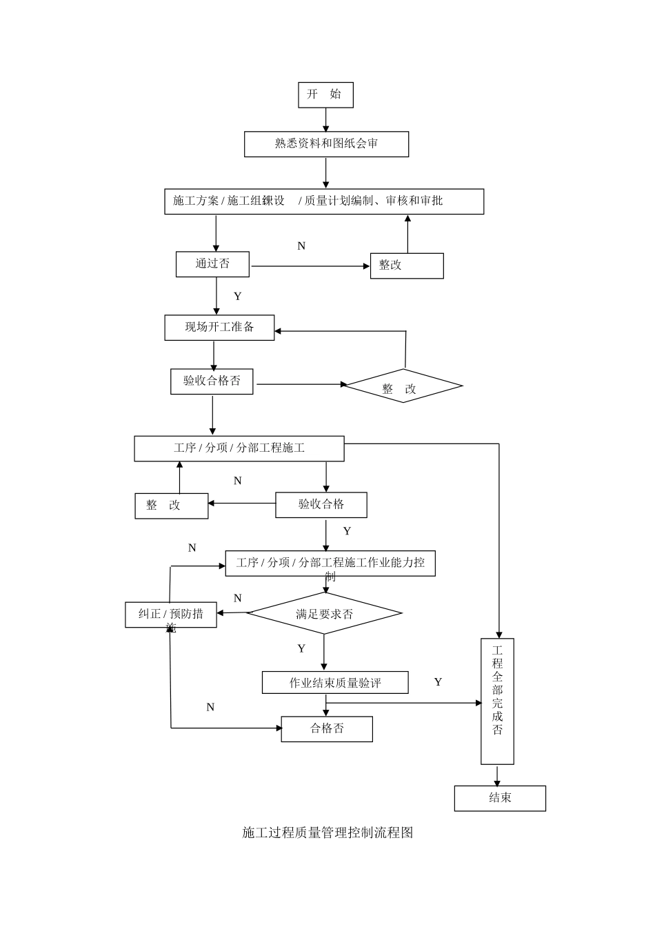
质量管理方案第一节 建立完善的质量保证体系一、工程质量保证目标本工程将按《ISO9001 程序文件》要求,实行全方位、全过程质量管理,确保分项工程一次验收合格率 100%,确保整体工程竣工验收达到“合格”标准。争创“结构长城杯”和“竣工长城杯”。二、工程质量控制体系我单位根据 ISO9001 国际标准质量体系进行质量管理,建立由项目经理为领导小组组长的“质量管理体系”,覆盖各要素、各职能部门,一切以质量为中心,全员参加质量管理的管理模式。编制项目质量计划,成立以项目经理为首的项目质量管理小组。施工中将严格根据 ISO9001 质量标准程序运作,从原材料、劳务的采购开始,对工程产品的质量层层把关。选择合格分供商的材料和劳务,进场后经过现场检验能够满足本工程需要方可使用。对劳务施工队伍进行严格的进场再培训,考核合格后方可允许上岗,并且仔细进行施工技术交底。编制重点工程工序的施工作业指导书。在施工过程中控制质量,在前一道工序完成后必须经过检验,合格后方可进入下一道工序,项目部施工过程实行联检、三检制度,在检查中发现的质量隐患和不合格品及时实行纠正措施进行整改,对发生频率高的质量问题应进行质量分析,制定切实可行的预防措施,针对重点分部分项工程建立 QC 小组并有效运行。质量过程实行全过程跟踪动态管理,所有施工过程形成的文件资料不追记、不涂改、保持记录真实性,并安排专人保管。在施工检查过程中消灭质量问题,在整个工程竣工之后及时总结施工经验教训,继续对施工产品进行维护,定期回访,保证工程使用不受影响。质量管理体系框图见下页。质量管理组织体系框图施工技术部设备物资部综合办公室测量试验室计划财务部安全管理部项 目 经 理 ( 组长 )项目副经理( 副组长 )总工程师( 副组长 )结构施工队钢结构施工队装修施工队幕墙施工队电气施工队土方施工队防水施工队质量检查部地基处理施工队设备安装施工队施工过程质量管理控制流程图熟悉资料和图纸会审施工方案 / 施工组织设计/ 质量计划编制、审核和审批现场开工准备通过否验收合格否开 始整改整 改工序 / 分项 / 分部工程施工验收合格工序 / 分项 / 分部工程施工作业能力控制作业结束质量验评工程全部完成否合格否整 改 纠正 / 预防措施结束满足要求否NYNNNNYYY开 始进场物料、在施品、成品 已检否合格否合格状态标识转入使用 下道工序 交付结 束 检 验未(特)检标识不合格状态标识已检待定...

1、当您付费下载文档后,您只拥有了使用权限,并不意味着购买了版权,文档只能用于自身使用,不得用于其他商业用途(如 [转卖]进行直接盈利或[编辑后售卖]进行间接盈利)。
2、本站所有内容均由合作方或网友上传,本站不对文档的完整性、权威性及其观点立场正确性做任何保证或承诺!文档内容仅供研究参考,付费前请自行鉴别。
3、如文档内容存在违规,或者侵犯商业秘密、侵犯著作权等,请点击“违规举报”。

碎片内容

北京某多层综合楼质量管理方案

您可能关注的文档

一二三四传媒+ 关注
实名认证
内容提供者

大量资料供您选择,没有合适的可以联系小二。

确认删除?
VIP
微信客服
  • 扫码咨询
会员Q群
  • 会员专属群点击这里加入QQ群
客服邮箱
回到顶部