电脑桌面
添加小米粒文库到电脑桌面
安装后可以在桌面快捷访问

施工质量保证措施

施工质量保证措施_第1页
1/64
施工质量保证措施_第2页
2/64
施工质量保证措施_第3页
3/64
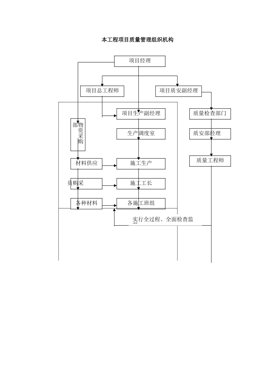
施工质量保证措施质量是企业的生命,我们本着“干一项工程,树一面旗帜”的决心,精心组织,精心施工,严格实行全员、全方位、全过程的质量控制,确保本工程建成为一流的优质工程。本工程将严格按法律规范化的质量体系文件进行操作,加强项目质量管理,法律规范管理工作程序,提高工程质量,从而达到交付满意工程的目的。9.1 工程质量目标9.1.1 工程质量管理目标本工程的施工质量根据国家现行技术标准和技术法律规范进行质量评定。本工程的质量目标:工程质量一次性验收合格,确保中建总公司金奖工程,国家优质工程“鲁班奖”。9.1.2 目标值分部分项工程一次性验收合格率 100%。9.2 施工质量保证体系施工质量保证体系是确保工程施工质量的主要要素,整个质量保证体系可分为施工质量管理体系和施工质量控制体系。9.2.1 施工质量管理体系施工质量管理体系是整个施工质量能加以控制的关键,而本标段工程质量的优劣是对项目班子质量管理能力的最直接的评价,同样质量管理体系设置的科学性对质量管理工作的开展起到决定性的作用。9.2.1.1 施工质量管理组织施工质量的管理组织是确保工程质量的保证,其设置的合理、完善与否将直接关系到整个质量保证体系能否顺利地运转及操作,在本标段工程中,我们将按以下的组织机构来全面地进行质量的管理及控制。本工程项目质量管理组织机构项目经理项目总工程师项目质安副经理质量检查部门质安部经理质量工程师项目生产副经理生产调度室施工生产施工工长各施工班组物资采购部材料供应采购员各种材料实行全过程、全面检查监督9.2.1.2 质量管理职责根据质量管理体系图,建立岗位责任制和质量监督制度,明确分工职责,落实施工质量控制责任,各行其职。(1)项目经理职责履行合同,执行企业质量方针,实现工程质量目标,组织建立和完善项目管理机构,明确项目管理人员职责,建立健全项目内部各种责任制;组织项目质量策划和质量计划的编制、实施及修改工作;组织制定项目其他各项规划、计划。对工程项目的成本、质量、安全、工期及现场文明施工等日常管理工作全面负责;合理配置并组织落实项目的各种资源,按质量体系要求组织项目的施工生产活动;协调项目经理部和业主之间的关系。(2)项目总工程师职责组织项目人员进行图纸会审;编制施工组织设计,并发放至有关部门和人员;确定施工关键过程和特别过程,并编制质量控制要点;组织编制作业指导书,并逐级交底至作业班组;负责项目技术洽商,处理设计变更有关...

1、当您付费下载文档后,您只拥有了使用权限,并不意味着购买了版权,文档只能用于自身使用,不得用于其他商业用途(如 [转卖]进行直接盈利或[编辑后售卖]进行间接盈利)。
2、本站所有内容均由合作方或网友上传,本站不对文档的完整性、权威性及其观点立场正确性做任何保证或承诺!文档内容仅供研究参考,付费前请自行鉴别。
3、如文档内容存在违规,或者侵犯商业秘密、侵犯著作权等,请点击“违规举报”。

碎片内容

施工质量保证措施

确认删除?
VIP
微信客服
  • 扫码咨询
会员Q群
  • 会员专属群点击这里加入QQ群
客服邮箱
回到顶部