电脑桌面
添加小米粒文库到电脑桌面
安装后可以在桌面快捷访问

电梯安装工程施工监理控制措施

电梯安装工程施工监理控制措施_第1页
1/26
电梯安装工程施工监理控制措施_第2页
2/26
电梯安装工程施工监理控制措施_第3页
3/26
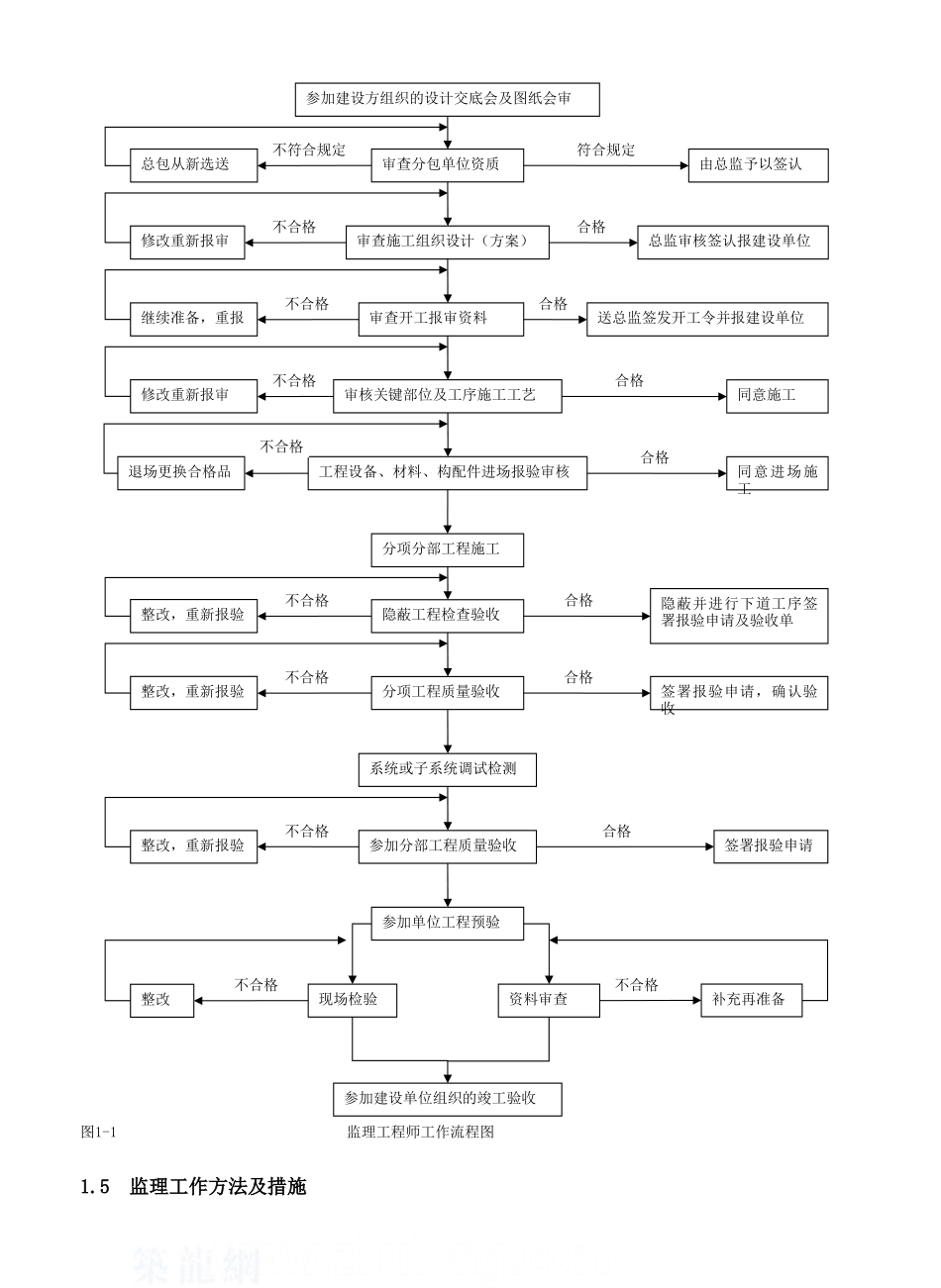
电梯安装工程施工监理实施细则1.1 工程概况及专业工程特点工程概况为简要介绍工程名称、工程地点、工程组成及建筑规模、主要建筑结构类型、预算工程投资总额、计划工期、质量目标、建设单位、设计单位、施工单位及监理单位名称。可与监理规划的介绍一致或更简单一些。 专业工程的特点则重点介绍相关专业工程的组成、规模及特点。一般介绍系统设计组成特点,系统主要设备品牌,设计特别要求、所采纳的新设备、新技术、新材料及新工艺的特点等。1.2 监理工作的范围及内容 指相关专业工程的监理范围和内容。此内容应与委托监理合同内容或监理规划中所述本分部工程内容一致。1.3 工程质量控制目标合格。满足建设单位与施工安装单位的共同约定和设计要求,满足电梯工程施工质量验收法律规范的规定。当建设单位与施工承包单位另有约定,提出更高的质量目标时,则应依施工承包合同为准 GB 50300-2001《建筑工程施工质最验收统一标准》规定了检验批、分项工程、分部(子分部)工程质量合格应达到的要求,即是对工程质量的控制目标。 检验批质量合格的要求: 1.主控项目和一般项目的质量经抽样检验合格。 2.具有完整的施工操作依据、质量检验记录。 分项工程质量合格的要求: 1.分项工程所含的检验批均应符合合格质量的规定。2.分项工程所含的检验批的质量验收记录应完整。分部(子分部)工程质量合格的要求: 1.分部(子分部)工程所含分项工程的质量均应验收合格。 2.质量控制资料应完整。 3.地基与基础、主体结构和设备安装等分部工程有关安全及功能的检验和抽样检测结果应符合有关规定。 4.观感质量验收应符合要求。1.4专业监理工程师监理工作流程图1-1 监理工程师工作流程图1.5 监理工作方法及措施参加建设方组织的设计交底会及图纸会审审查分包单位资质总包从新选送由总监予以签认总监审核签认报建设单位审查施工组织设计(方案)修改重新报审送总监签发开工令并报建设单位继续准备,重报审查开工报审资料同意施工审核关键部位及工序施工工艺修改重新报审同意进场施工退场更换合格品工程设备、材料、构配件进场报验审核分项分部工程施工隐蔽并进行下道工序签署报验申请及验收单隐蔽工程检查验收整改,重新报验整改,重新报验分项工程质量验收签署报验申请,确认验收系统或子系统调试检测签署报验申请整改,重新报验参加分部工程质量验收参加单位工程预验补充再准备资料审查现场检验整改参加建设单位组织的竣工验收符合规定...

1、当您付费下载文档后,您只拥有了使用权限,并不意味着购买了版权,文档只能用于自身使用,不得用于其他商业用途(如 [转卖]进行直接盈利或[编辑后售卖]进行间接盈利)。
2、本站所有内容均由合作方或网友上传,本站不对文档的完整性、权威性及其观点立场正确性做任何保证或承诺!文档内容仅供研究参考,付费前请自行鉴别。
3、如文档内容存在违规,或者侵犯商业秘密、侵犯著作权等,请点击“违规举报”。

碎片内容

电梯安装工程施工监理控制措施

您可能关注的文档

确认删除?
VIP
微信客服
  • 扫码咨询
会员Q群
  • 会员专属群点击这里加入QQ群
客服邮箱
回到顶部