电脑桌面
添加小米粒文库到电脑桌面
安装后可以在桌面快捷访问

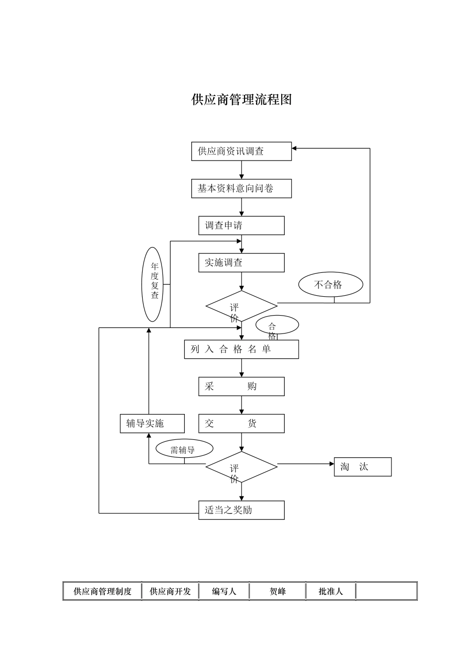
供应商管理流程图

供应商管理流程图_第1页
1/12
供应商管理流程图_第2页
2/12
供应商管理流程图_第3页
3/12
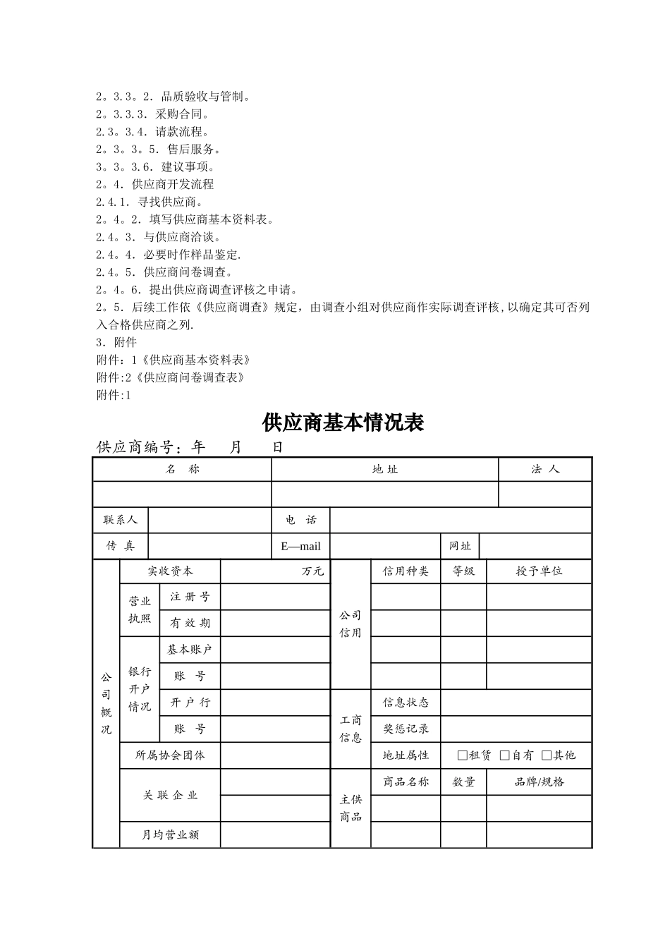
供应商管理流程图供应商管理制度供应商开发编写人贺峰批准人供应商资讯调查基本资料意向问卷调查申请实施调查评 价列 入 合 格 名 单采 购交 货评 价适当之奖励不合格辅导实施淘 汰合 格需辅导年度复查编号版本号生效日期1.总则1。1.制定目的为法律规范供应商开发流程,使之有章可循,特制定本规章。1。2.适用范围本公司新供应商之开发工作,除另有规定外,悉依本规章执行。1。3.权责单位1.3.1.采购部负责本规章制定、修改、废止之起草工作。1.3.2.总经理、采购经理负责本规章制定、修改、废止之核准。2 供应商开发程序2.1 供应商开发权责2。1。1.采购部负责供应商开发主导工作。2。1。2.品部负责供应商样品的确认。2.1.3.采购部组成供应商调查小组,负责供应商的调查评核。2.2.供应商资讯来源及新供应商资讯来源一般有下列方式:2.2。1.各种采购指南。2。2。2.新闻传播媒体,如电视、广播、报纸等.2。2。3.各种产品发表会。2。2.4.各类产品展示(销)会.2.2。5.行业协会。2。2.6.行业或政府之统计调查报告或刊物。2.2。7.同行或供应商介绍。2。2。8.公开征询.2.2。9.供应商主动联络。2。2。10 其他途径.2。3.供应商问卷调查2。3。1.问卷设计由采购部主导,出品部等单位协助,设计应注意的事项有:2。3.1。1.依本公司需要设计内容及格式。2。3。1.2.应尽可能掌握、了解供应商的资讯。2。3.1。3.易于填写。2.3.1。4.通俗易懂。2。3.1。5.便于整理。2.3。2.《供应商基本情况表》。已有或新增供应商填列,该表包括下列内容:2。3.2.1.公司名称、法定代表人、联系人、地址、电话、传真、E—mail、网址.2。3.2.2.公司概况,如实收资本、印业执照及信息、年营业额、银行讯息.2。3.2.3.公司信用、工商信息、主要供应商品状况.2.3。2.4.人力资源状况。2。3。2.5.主要产品及原材料。2.3。2。6.主要客户。2。3.2.7.其他必要事项。2。3。3 供应商问卷调查表,一般包括下列内容:2.3.3。1.材料确认.2。3.3。2.品质验收与管制。2。3.3.3.采购合同。2.3。3.4.请款流程。2。3。3。5.售后服务。3。3。3.6.建议事项。2。4.供应商开发流程2.4.1.寻找供应商。2。4。2.填写供应商基本资料表。2.4。3.与供应商洽谈。2.4。4.必要时作样品鉴定.2.4。5.供应商问卷调查。2。4。6.提出供应商调查评核之申请。2。5.后续工作依《供应商调查》规定,由调查小组对供应商作实际调查评核,以确定其可否列入合格供应商...

1、当您付费下载文档后,您只拥有了使用权限,并不意味着购买了版权,文档只能用于自身使用,不得用于其他商业用途(如 [转卖]进行直接盈利或[编辑后售卖]进行间接盈利)。
2、本站所有内容均由合作方或网友上传,本站不对文档的完整性、权威性及其观点立场正确性做任何保证或承诺!文档内容仅供研究参考,付费前请自行鉴别。
3、如文档内容存在违规,或者侵犯商业秘密、侵犯著作权等,请点击“违规举报”。

碎片内容

供应商管理流程图

确认删除?
VIP
微信客服
  • 扫码咨询
会员Q群
  • 会员专属群点击这里加入QQ群
客服邮箱
回到顶部