电脑桌面
添加小米粒文库到电脑桌面
安装后可以在桌面快捷访问

公共建筑施工组织设计方案

公共建筑施工组织设计方案_第1页
1/72
公共建筑施工组织设计方案_第2页
2/72
公共建筑施工组织设计方案_第3页
3/72
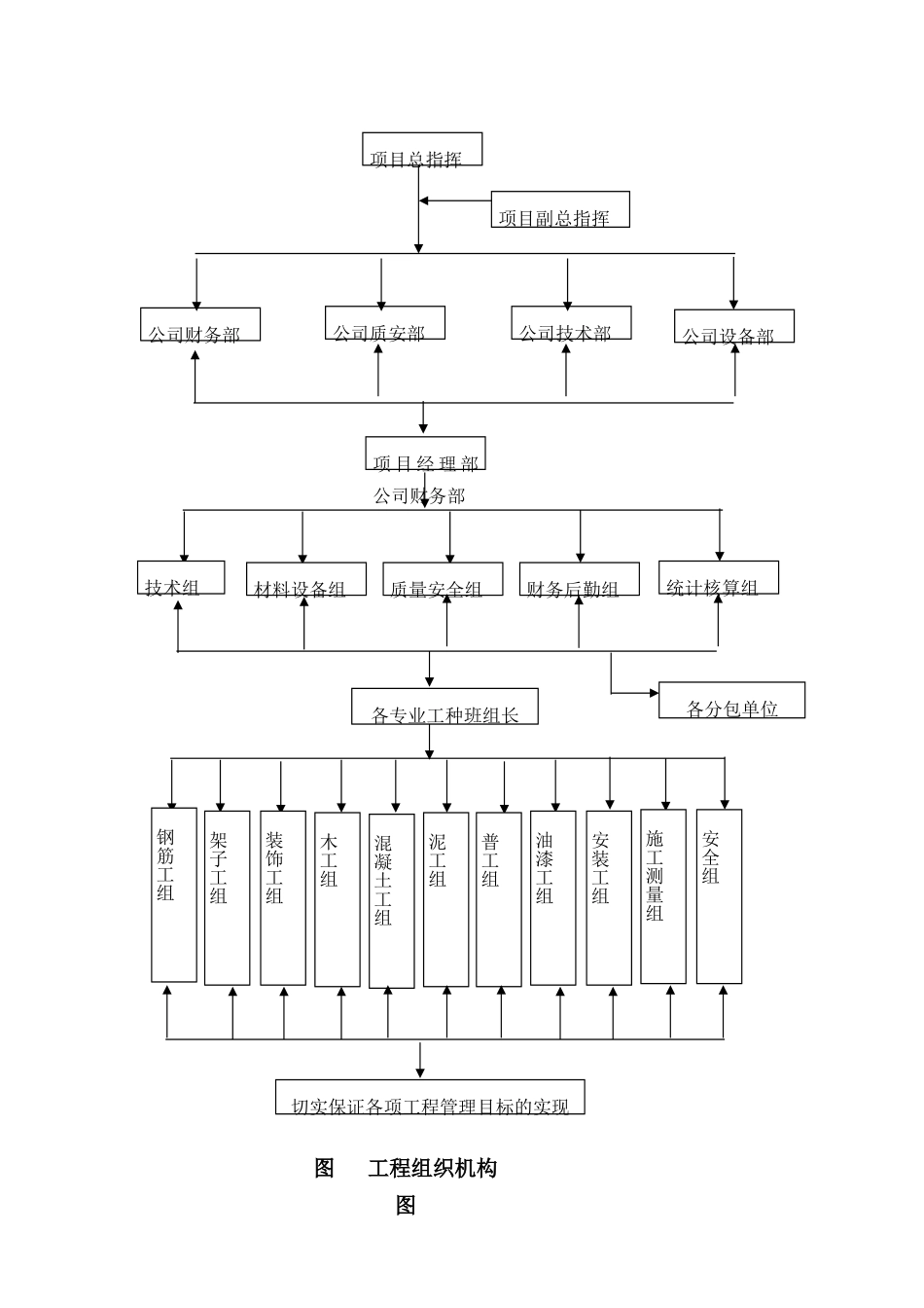
第一章 施工部署1 施工部署原则 ¤目标管理原则 按本项目招标文件确立的工期、质量和其它要求,配置生产诸要素,实现合同目标 ,确保优良等级、工期要求,确保工程的社会效益。 ¤程序管理原则 按“先地下、后地上,先结构、后装饰"的建设程序,根据工程结构特点遵循施工固有规律组织施工。 ¤过程控制原则 明确制定施工控制网络,强化动态管理,控制关键线路,保证关键工序点完成。关键线路见施工进度网络计划。¤均衡施工原则以提高企业综合经济效益为目的,保证工程效益,合理组织生产要素,达到均衡施工.2 施工组织 我公司具有多次类似工程的丰富施工经验,并且我公司拥有高素养的项目施工管理人员,在人员组织上具有广泛的选择性。根据本工程的性质和特点,为加强工程人、才、物等各项资源的调度与管理,成立以公司总经理为项目总指挥,总工程师为副总指挥,公司财务部、技术部、设备部、质量安全部等各个部门经理为主要成员的工程项目指挥部,同时成立施工经验丰富、质量意识强的项目经理部具体负责工程施工的各项工作,并将严格根据杭州市有关工程质量、安全文明施工标化要求来进行该工程的管理。 我公司一贯坚持质量第一的原则。影响工程质量的因素很多,关键在于控制“人”的因素.在该工程上,公司将通过 ISO9002 质量保证体系严格的保证措施和技术工人的精心操作,在用样板开路,严格“三检”的基础上,虚心听取建设单位、设计单位、工程监理、质监部门的意见并及时整改,确保质量目标的实现.工程质量是企业的生命,质量管理必须牢固树立“质量第一求效益,用户至上创信誉”的精神,遵循“每位员工,做每件事,都要预防为主;每个工程,每项服务,都位顾客满意”的质量方针,正确处理好质量、工期、成本、安全四者关系。坚持“三级监督、五步到位"的质量控制标准,消灭返工现象,以工作质量保证产品质量.公司设备部财务后勤组各分包单位图 工程组织机构图项目总指挥项目副总指挥公司财务部公司质安部公司技术部项 目 经 理 部公司财务部技术组材料设备组质量安全组各专业工种班组长 钢筋工组 架子工组 装饰工组 木工组 混凝土工组 泥工组 普工组 油漆工组 安装工组切实保证各项工程管理目标的实现统计核算组 施工测量组 安全组 工程质量目标工程技术负责人项目质量安全组公司 ISO9002 贯标办公室工程质量特点总工程师项目经理项目技术组项目施工员项目质检员方针目标达到质量目标图 工程质量保证体系质量责任...

1、当您付费下载文档后,您只拥有了使用权限,并不意味着购买了版权,文档只能用于自身使用,不得用于其他商业用途(如 [转卖]进行直接盈利或[编辑后售卖]进行间接盈利)。
2、本站所有内容均由合作方或网友上传,本站不对文档的完整性、权威性及其观点立场正确性做任何保证或承诺!文档内容仅供研究参考,付费前请自行鉴别。
3、如文档内容存在违规,或者侵犯商业秘密、侵犯著作权等,请点击“违规举报”。

碎片内容

公共建筑施工组织设计方案

确认删除?
VIP
微信客服
  • 扫码咨询
会员Q群
  • 会员专属群点击这里加入QQ群
客服邮箱
回到顶部