电脑桌面
添加小米粒文库到电脑桌面
安装后可以在桌面快捷访问

事故、事件、不符合控制程序测试题

事故、事件、不符合控制程序测试题_第1页
1/3
事故、事件、不符合控制程序测试题_第2页
2/3
事故、事件、不符合控制程序测试题_第3页
3/3
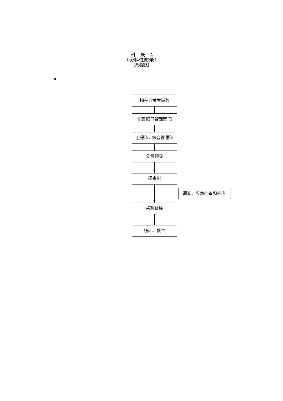
事故、事件、不符合控制程序1 目的为了对质量、职业健康安全、环境污染以及其他灾害事故的及时调查,分析,处理,以便采取有效的措施,使不符合的现实和潜在的根源得到消除,达到防止类似事故的重复发生,保证公司质量、职业健康安全和环境方针、目标的实现。2 范围适用于公司质量、职业健康安全和环境事故调查、处理、报告的管理。3 职责3.1 公司综合管理部负责职业健康安全、环境的不符合项的控制归口管理。3.2 公司各部门负责本部门职业健康安全及环境运行不符合项的控制,对不符合项进行纠正,必要时制定纠正预防控制措施实施控制。3.3 工程部是事故、事件调查、处理和报告控制的归口管理部门,管理者代表负责领导事故、事件的调查处理。3.4 工程部负责组织对质量事故、人身事故、火灾事故、交通事故、机械设备事故、事件、环境污染、违章雷击以及地震等事件的调查、分析和处理。3.5 工程部负责对相关事故、事件、违章的报告及一般事故、事件、违章的调查和处理,协助管理者代表对重大事故、事件、违章的调查和处理。3.6 综合管理部负责有关食品卫生和传染病方面事件及管理体系不符合项的调查和处理。3.7 工会参与有关事故、事件、违章的调查、处理和报告。4 管理内容与方法4.1 不符合项的来源—— 内审中发现的不符合项;—— 日常运行中各部门发现的不符合项;—— 管理评审中发现的不符合项;—— 监测和测量中发现的不符合项;—— 外部审核发现的不符合项。4.2 不符合项控制要求—— 对日常运行中发现的不符合项由责任单位负责纠正;4.3 事故快报4.3.1 事故快报范围· 人员伤亡一次造成三人以上轻伤,或一人以上重伤的事故;· 事故发生后,因高处坠落、触电、火灾、高空落物、中毒窒息和传染病等造成人员伤势不明,不能确定伤害程度的情况;· 火灾事故;· 质量事故;· 交通死亡事故或人员重伤实施抢救或造成三人以上负伤以及车物严重受损的交通事故;· 设备严重损坏、倾覆、侧翻等事件;· 因暴雨、风暴、雷击、地震等自然灾害造成局部或全部停产,或由此引起人员伤亡和环境传染的事件;· 放射源或剧毒物品引起人员伤害或在一小时内未寻回放射源或剧毒物品的事件;· 化学物品大量流失引起污染或可能引发事故的事件;· 其他有关引起电力、通讯、供气、供水中断的事故或事件;4.3.2 快报时间设定各部门或相关供方在灾害或事故、事件、违章发生后一小时内向公司相应的职责归口管理部门电话报告,并...

1、当您付费下载文档后,您只拥有了使用权限,并不意味着购买了版权,文档只能用于自身使用,不得用于其他商业用途(如 [转卖]进行直接盈利或[编辑后售卖]进行间接盈利)。
2、本站所有内容均由合作方或网友上传,本站不对文档的完整性、权威性及其观点立场正确性做任何保证或承诺!文档内容仅供研究参考,付费前请自行鉴别。
3、如文档内容存在违规,或者侵犯商业秘密、侵犯著作权等,请点击“违规举报”。

碎片内容

事故、事件、不符合控制程序测试题

您可能关注的文档

确认删除?
VIP
微信客服
  • 扫码咨询
会员Q群
  • 会员专属群点击这里加入QQ群
客服邮箱
回到顶部