电脑桌面
添加小米粒文库到电脑桌面
安装后可以在桌面快捷访问

北京市园林绿化工程监理规程VIP免费

北京市园林绿化工程监理规程_第1页
1/94
北京市园林绿化工程监理规程_第2页
2/94
北京市园林绿化工程监理规程_第3页
3/94
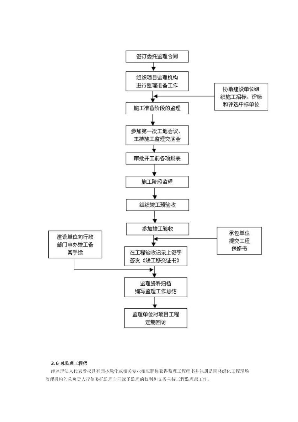
北京园林绿化工程监理规程前言为适应北京城园林绿化行业的开展进步北京园林绿化工程监理工作程度促进绿化工程监理工作的程序化、化、科学化根据?建筑法?、?城绿化?、?建立工程质量理?、?合同法?、?建立工程监理?和北京?工程建立监理规程?并结合北京园林绿化工程施工相关、特制定本规程。本附录A、附录B、附录C、附录D、附录E、附录F、附录G、附录H、附录I、附录J为性附录。本由北京园林提出并归口。本起草:北京园林绿化效劳中心。本主要起草人:杨振铎、周捷可、史军鹏、任爱国、徐琳、陈广华。目次1范围2性引用3术语和定义4总那么5工程监理机构及监理前准备6施工准备阶段的监理7施工阶段的监理8施工合同其他事项的理9开工验收的监理10工程监理部工11监理对工程监理部的考核12保修与养护阶段监理附录A承包用表附录B监理用表附录C各方通用表附录D施工资料用表附录E工程验收用表附录F园林种植工程检验批质量验收记录表附录G园林绿化工程监理附录H监理工作格式附录I工程资料封面格式1、范围本规定了工程监理机构对园林绿化工程工程的规划设计、施工准备、施工过程、开工验收、保修养护等各阶段中进展控制、进度控制、质量控制以及合同理、信息理等各个方面业务工作流程和要求。本适用于北京地区新建、改建、整治等各类施行监理的城园林绿化工程工程。2、性引用CJJ/T82-99城绿化工程施工及验收GB50500-2003建立工程工程量计价DB11/T212-2003城园林绿化工程施工及验收建立工程质量理3、术语和定义以下术语和定义适用于本。3.1园林绿化工程园林、城绿地和风景名胜区中除园林建筑工程以外的室外工程。注;包括表达园林地貌创作的土方工程、园林筑山工程(如叠山、塑山等)、园林理水工程、园林小品工程、园林桥涵工程、园林景观照明工程、园林铺地工程、种植工程(包括种植树木、造花坛、铺草坪等)。3.2建立(业主)园林绿化建立工程工程法人或为施行园林绿化工程而设置的理机构。3.3监理为建立提供园林绿化建立监理效劳的企业。注:在工商行政理部门登记注册获得企业法人营业执照并获得工程建立行政主部门颁发的园林绿化监理资质证书。3.4承包有相应资质与建立签订园林绿化工程施工合同承当施工任务且有相应资质的企业。根据园林绿化建立工程施工合同的约定或经监理的书面认可报建立同意后承包可将其一部工程按有关规定交由具有相应资质等级的施工企业负责施工该施工企业作为分包与承包签定园林绿化工程分包合同。3.5工程监理部监理在园林绿化工程施工现场负责履行委托监理合同的监理组织机构。详见:园林绿化工程监理部框示图。3.6总监理工程师经监理法人代表受权具有园林绿化或相关专业相应职称获得监理工程师书并注册是园林绿化工程现场监理机构的总负责人行使委托监理合同赋予监理的权利和义务主持工程监理部工作。3.7总监理工程师代表经监理法人代表同意总监理工程师受权代表总监理工程师行使其部职权的注册监理工程师。3.8专业监理工程师具有园林绿化或相关专业相应职称并获得监理工程师书并注册根据工程监理岗位职责分工和总监理工程师的指负责施行某一专业或某一方面的监理工作可签发监理的监理人员。3.9监理员经过监理业务培训具有园林工程相关知识从事详细监理工作的监理人员。3.10园林绿化工程监理规划与施行细那么总监理工程师主持编制监理规划经监理技术负责人批准用以指导工程监理部开展监理业务的指导性。监理细那么是总监理工程师根据工程需要根据监理规划责成专业监理工程师针对某一专业或某一方面监理工作编制的具有操作性监理并经总监理工程师审核批准。3.11巡视与旁站巡视与旁站是监理人员施行监理的根本方式。巡视:监理人员对施工部位或工序进展有目的或随机的监理活动。旁站:监理人员对施工的某些关键部位或工序进展全过程连续监控的活动。3.12平行检验工程监理部利用一定的检验手段在承包自检的根底上按照一定的比例进展的检验活动。3.13工程变更在工程工程施行过程中按照合同约定的程序对工程材料、品种、规格以及构造、尺寸、功能、施工工艺流程、技术指标、工程量等方面做出的更改。3.14工程计量根据承包合同、设计图纸及由监理工程师签认的质量凭证按...

1、当您付费下载文档后,您只拥有了使用权限,并不意味着购买了版权,文档只能用于自身使用,不得用于其他商业用途(如 [转卖]进行直接盈利或[编辑后售卖]进行间接盈利)。
2、本站所有内容均由合作方或网友上传,本站不对文档的完整性、权威性及其观点立场正确性做任何保证或承诺!文档内容仅供研究参考,付费前请自行鉴别。
3、如文档内容存在违规,或者侵犯商业秘密、侵犯著作权等,请点击“违规举报”。

碎片内容

北京市园林绿化工程监理规程

您可能关注的文档

确认删除?
VIP
微信客服
  • 扫码咨询
会员Q群
  • 会员专属群点击这里加入QQ群
客服邮箱
回到顶部