电脑桌面
添加小米粒文库到电脑桌面
安装后可以在桌面快捷访问

压力管道安装管理流程图VIP免费

压力管道安装管理流程图_第1页
1/65
压力管道安装管理流程图_第2页
2/65
压力管道安装管理流程图_第3页
3/65
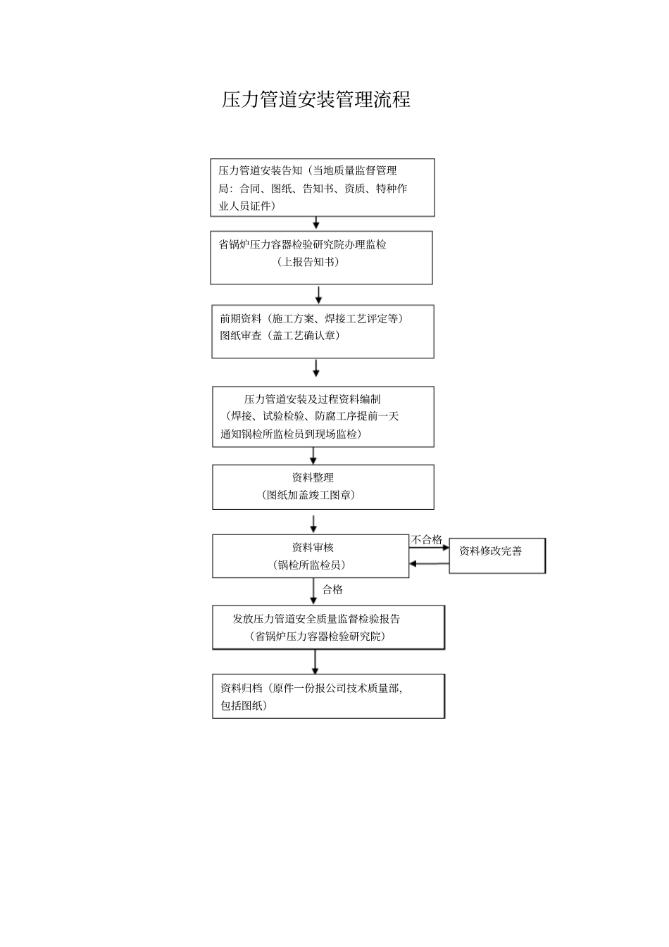
压力管道安装管理流程省锅炉压力容器检验研究院办理监检(上报告知书)压力管道安装及过程资料编制(焊接、试验检验、防腐工序提前一天通知锅检所监检员到现场监检)资料整理(图纸加盖竣工图章)资料审核(锅检所监检员)合格发放压力管道安全质量监督检验报告(省锅炉压力容器检验研究院)资料修改完善资料归档(原件一份报公司技术质量部,包括图纸)不合格前期资料(施工方案、焊接工艺评定等)图纸审查(盖工艺确认章)压力管道安装告知(当地质量监督管理局:合同、图纸、告知书、资质、特种作业人员证件)压力管道安装过程资料编制时需注意的问题1、资料及图纸上责任人员按公司压力管道人员任命文件执行。2、材料质量证明文件上必须有红章(厂家或供应商)。3、要求监检员到现场监检的施工工序必须提前一天通知监检员。4、资料根据具体施工的压力管道可增加相关表格。5、理化检验、无损检测、热处理需签订分包协议,由外协单位控制,检测报告由外协方提供。6、省表格按照省资料软件表格编制。7、资料表格若有更新,按照新表格编制资料。-2-压力管道质量记录名称及受控号一览表序号受控编号表格名称页码一中石油昆仑燃气有限公司表格1B-001-01图纸会审记录72B-001-02技术(安全)交底记录83B-001-03开工报告94B-001-04工作联系单105B-001-05防腐层质量检查记录116B-001-06管道接口防腐绝缘检验单127B-001-07焊缝质量综合评级汇总表138B-001-08燃气管道吹扫记录149B-001-09燃气管道强度试验记录1510B-001-10管道严密性试验验收单1611B-001-11隐蔽工程检查验收记录1712B-001-12设备、配(备)件检查录1813B-001-13工序质量评定1914B-001-14焊缝焊接工作记录2015B-001-15焊条烘烤发放记录2116B-001-16管道焊接质量检验表2217压力管道安装告知书18压力管道安装安全质量监督检验报告二石化公司1B-001-01单项(位)工程开工报告232B-001-02施工图审查记录243B-001-03设计变更通知单明细表254B-001-04声像材料明细表265B-001-05材料代用单27压力管道质量记录名称及受控号一览表序号受控编号表格名称页码6B-001-06合格证汇总表287B-001-07设备开箱检查记录298B-001-08材料检验(试验)报告明细表309B-001-09阀门/管件试验记录3110B-001-10合格焊工登记表3211B-001-11管道焊缝热处理报告3312B-001-12焊缝返修施工检查记录3413B-001-13压力管道焊接检查记录3514B-001-14阀门/管件试验记录3615B-001-15设备/管道防腐施工检查记录3716B-001-16设备/管道绝热施工检查记录3817B-001-17设备、管道防腐绝缘层电火花检测报告3918B-001-18管道补偿装置安装检查记录4019B-001-19安全阀调试记录汇总表4120B-001-20管道静电接地测试记录4221B-001-21管道系统吹扫及清洗检查记录4322B-001-22管道系统压力试验检查记录4423B-001-23无损检测人员登记表4524B-001-24厚度测量报告4625B-001-25光谱分析报告4726B-001-26硬度试验报告27压力管道安装告知书28压力管道安装安全质量监督检验报告三省资料软件表格1B-001-01工程开工报告压力管道质量记录名称及受控号一览表序号受控编号表格名称页码2B-001-02图纸会审记录3B-001-03工程联系单4B-001-04技术交底记录5B-001-05设计变更明细表6B-001-06安装工程设备、材料合格证书7B-001-07安装工程重要材料进场抽检报告汇总表8B-001-08设备开箱检查记录9B-001-09工序工种交接检查记录10B-001-10管道强度、严密性试验11B-001-11管道安装隐蔽验收记录12B-001-12阀门试验记录13B-001-13管道焊口检查记录14B-001-14设备管道防腐涂漆记录15B-001-15设备、管道吹洗(脱脂)记录16B-001-16安全阀调整试验记录17B-001-17设备封闭清扫检查记录18B-001-18燃气管道绝缘层电火花测试记录19B-001-19燃气管道压力试验记录20B-001-20室外燃气管道安装记录21B-001-21焊缝返修记录22B-001-22焊工一览表23B-001-23焊接位置图24B-001-24焊工工艺卡25B-001-25焊材一级库温湿度26B-001-26焊条发放记录压力管道质量记录名称及受控号一览表序号受控编号表格名称页码27B-001-27焊材烘干记录28B-001-28焊条烘焙记录表29B-001-29热处理报告30B-001-30钢管、有色金属管道保证项目检验记录31B-...

1、当您付费下载文档后,您只拥有了使用权限,并不意味着购买了版权,文档只能用于自身使用,不得用于其他商业用途(如 [转卖]进行直接盈利或[编辑后售卖]进行间接盈利)。
2、本站所有内容均由合作方或网友上传,本站不对文档的完整性、权威性及其观点立场正确性做任何保证或承诺!文档内容仅供研究参考,付费前请自行鉴别。
3、如文档内容存在违规,或者侵犯商业秘密、侵犯著作权等,请点击“违规举报”。

碎片内容

压力管道安装管理流程图

您可能关注的文档

确认删除?
VIP
微信客服
  • 扫码咨询
会员Q群
  • 会员专属群点击这里加入QQ群
客服邮箱
回到顶部