电脑桌面
添加小米粒文库到电脑桌面
安装后可以在桌面快捷访问

物业服务应急突发事件处理预案及处理流程VIP免费

物业服务应急突发事件处理预案及处理流程_第1页
1/36
物业服务应急突发事件处理预案及处理流程_第2页
2/36
物业服务应急突发事件处理预案及处理流程_第3页
3/36
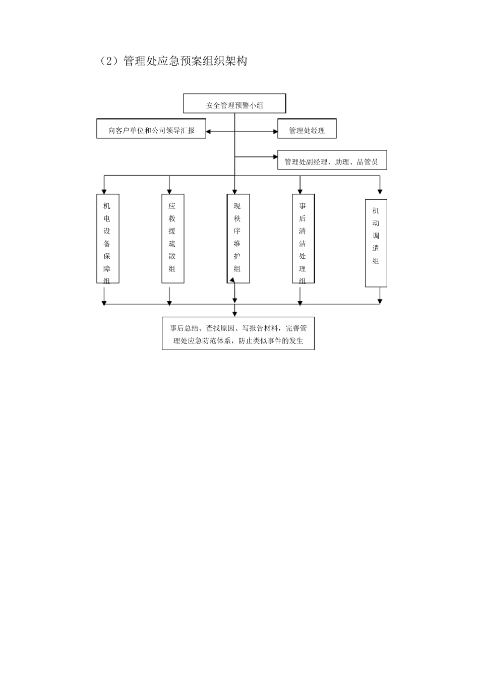
物业服务应急突发事件处理预案及处理流程一、物业管理应急预案组织架构1、建立危机管理预警系统(1)物业公司应急预案架构图物业公司应急工作预警小组总经理管理者代表行政人事部品质管理部安管部财务部工程部安管部保洁部绿化部居委会、派出所各管理处经理业委会、用户单位副经理、助理客户服务部24小时值班及应急热线电话(2)管理处应急预案组织架构安全管理预警小组向客户单位和公司领导汇报管理处经理管理处副经理、助理、品管员机电设备保障组应救援疏散组现秩序维护组事后清洁处理组机动调遣组事后总结、查找原因、写报告材料,完善管理处应急防范体系,防止类似事件的发生(3)应急预案处理流程发生突发事件打架斗殴、闹事交通事故等盗窃、抢劫等火灾事故台风水浸自然灾害通知就近岗位和管理处领导、相关单位,或报案特殊岗位除外,应迅速赶往现场处理做好书面记录配合相关部门处理二、自然灾害应急预案为了有效提高应急处置台风、洪灾、旱灾、地震、冰雹、暴雪等自然灾害事件的能力和水平,规范应急处置工作,减轻或者消除自然灾害的危害,特制定本应急预案。主要职责:1、在辖区主管单位自然灾害事件应急处置领导小组的统一领导下,指导和落实服务项目自然灾害事件预防的各项工作。2、监督、汇总和收集项目自然灾害事件的信息情况,分析、研究预防的工作措施。3、根据不同季节和情况,宣传自然灾害事件的预防知识。4、指导和督查管理区域住户预防自然灾害事件的措施落实情况。5、总结、推广行业处置自然灾害事件的经验和做法。6、协同上级部门做好因自然灾害所发生的处置工作。自然灾害事件的预防1、高度重视,切实加强对自然灾害事件的领导和管理。将预防自然灾害事件的工作纳入项目目标管理考核,并定期开展专项督查检查,发现问题及时提出整改措施。2、项目服务中心应针对围墙、水沟、烟囱、电线、树木等重点防范点位开展自查,尽早发现问题,及时消除安全隐患。3、在自然灾害事件发生前做好管理区域住户的疏散安排工作。4、加强基础建设,切实加固好自然灾害事件易发生的基础设施。自然灾害事件的报告1、各项目服务中心在台风、暴雨、地震等自然灾害期间,应建立24小时值班制度,并设立和开通值班电话。2、严格执行公司重大自然灾害事件报告制度。对发生的事件做到按程序逐级报告,并以最快的通讯方式报告有关部门,确保信息畅通。3、任何部门和个人都不得隐瞒、缓报、谎报,或授意他人隐瞒、缓报、谎报自然灾害情况。自然灾害事件的应急反应1、当有关人员接到气象部门或上级主管部门的有关暴雨等自然灾害信息时,要第一时间报告项目管理人员并及时管理区域住户做好预防措施。2、根据自然灾害事件的发生情况,结合管理区域的特点,如需进行疏散时,应立即采取措施组织管理区域住户进行有序疏散。3、关注灾情进展情况,所有人员保持24小时通讯畅通,做到灾情及时上报、下传,及时调配各类人员。4、灾情发生时,各部门工作人员要按照公司管理要求做好住户情绪安抚,并在项目服务中心的统一安排下有组织的将住户疏散到安全地带,避免伤亡事故发生。5、发生破坏性灾害时,要立即做好抗灾自救工作,开展自救活动。6、若遇到人员受伤应积极组织抢救。7、做好卫生防疫工作,做好灾后卫生消毒,防止传染性疾病在管理区域滋生蔓延,做到大灾之后无大疫。8、灾情过后要及时进行总结,并向上级进行汇报。责任追究对于玩忽职守,疏于管理者,应视情节轻重,给予有关责任人相应处分。地震灾害的应急处理预案:1.发生地震时,服务中心各岗位员工应保持镇定,坚守岗位,在附近寻找坚固的结构部位寻求掩护,切勿离开本物业管理区域。2.远离窗户、玻璃、不牢固的支架或悬挂的物件。3.切勿在悬挂物上逗留,应在适当时机尽快离开。4.地震时切勿在楼梯下躲避。5.准备应付后续更多余震的各部门职责:(1)工程部应迅速切断生活水泵、供水,关闭其附属设备,切断非应急电源及天然气总阀门。(2)服务中心应组织业主镇定而有秩序地沿应急疏散通道撤离本物业管理区域的危险地区,并在安全空旷场地集合。(3)消防中控室应按照服务中心负责人的命令,通过应急广播向本物业区域的业主提示以下注...

1、当您付费下载文档后,您只拥有了使用权限,并不意味着购买了版权,文档只能用于自身使用,不得用于其他商业用途(如 [转卖]进行直接盈利或[编辑后售卖]进行间接盈利)。
2、本站所有内容均由合作方或网友上传,本站不对文档的完整性、权威性及其观点立场正确性做任何保证或承诺!文档内容仅供研究参考,付费前请自行鉴别。
3、如文档内容存在违规,或者侵犯商业秘密、侵犯著作权等,请点击“违规举报”。

碎片内容

物业服务应急突发事件处理预案及处理流程

您可能关注的文档

确认删除?
VIP
微信客服
  • 扫码咨询
会员Q群
  • 会员专属群点击这里加入QQ群
客服邮箱
回到顶部