电脑桌面
添加小米粒文库到电脑桌面
安装后可以在桌面快捷访问

进口付汇核销流程图VIP免费

进口付汇核销流程图_第1页
1/12
进口付汇核销流程图_第2页
2/12
进口付汇核销流程图_第3页
3/12
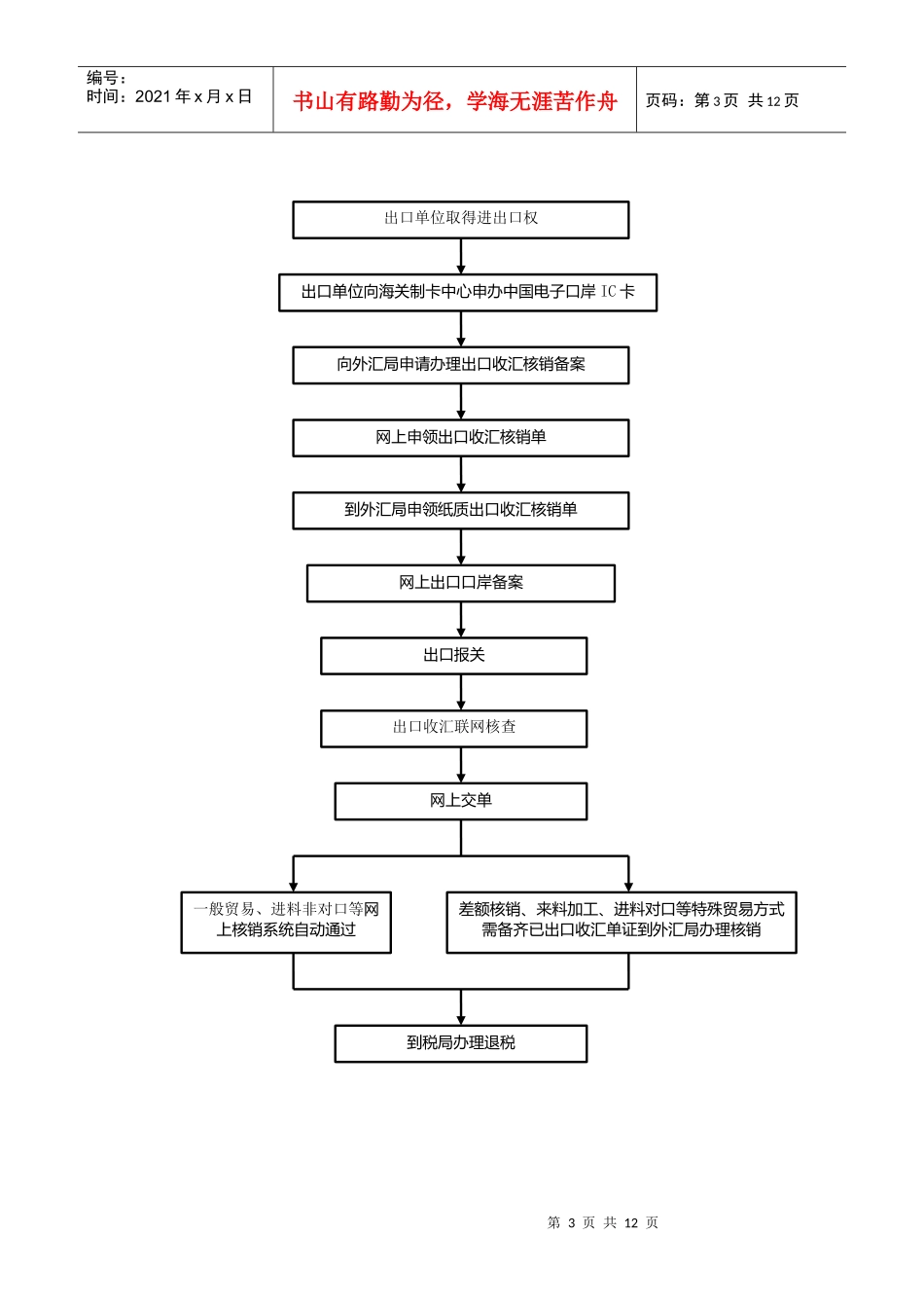
第1页共12页编号:时间:2021年x月x日书山有路勤为径,学海无涯苦作舟页码:第1页共12页进口付汇核销流程图第2页共12页第1页共12页进口单位取得进出口权进口单位持有关材料到外汇指定银行办理开证或购付汇手续进口单位在有关货物报关后一个月内到外汇局办理进口核销报审手续。进口单位付汇或开立信用证前,到外汇局办理“进口付汇备案表”手续进口单位向海关制卡中心申办中国电子口岸IC卡进口单位持有关材料向注册所在地外汇局申请办理列入“对外付汇进口单位名录”外汇局审核无误后,为进口单位办理“对外付汇进口单位名录”手续编号:时间:2021年x月x日书山有路勤为径,学海无涯苦作舟页码:第2页共12页出口收汇核销流程图第3页共12页第2页共12页出口单位取得进出口权网上申领出口收汇核销单到外汇局申领纸质出口收汇核销单网上交单网上出口口岸备案向外汇局申请办理出口收汇核销备案出口单位向海关制卡中心申办中国电子口岸IC卡出口报关到税局办理退税差额核销、来料加工、进料对口等特殊贸易方式需备齐已出口收汇单证到外汇局办理核销一般贸易、进料非对口等网上核销系统自动通过出口收汇联网核查编号:时间:2021年x月x日书山有路勤为径,学海无涯苦作舟页码:第3页共12页第4页共12页第3页共12页编号:时间:2021年x月x日书山有路勤为径,学海无涯苦作舟页码:第4页共12页进口核销业务操作指南项目内容提供材料“对外付汇进口单位名录”管理尚未开立经常项目外汇账户的进口企业:1、加盖单位公章的进口单位名录登记申请书;2、商务主管部门的批件或加盖备案登记印章的对外贸易经营者备案登记表及复印件;3、工商营业执照副本及复印件;4、中华人民共和国组织机构代码证书及复印件。已经开立经常项目外汇账户的进口企业:1、进口单位名录登记申请书;2、对外贸易经营者备案登记表或相关证明及复印件;3、银行经常项目外汇账户开户证明及复印件。个人对外贸易经营者:1、申请书;2、个人有效身份证明正本及复印件;3、依法取得的工商营业执照或者其它执业证明(副本)及复印件;4、加盖备案登记印章的对外贸易经营者备案登记表及复印件;5、海关注册登记证明书及复印件;6、组织机构代码证书及复印件;7、中国电子口岸IC卡;8、外汇局要求的其他材料。“黑名单”管理1、进口单位有下列违规行为的,应列入"黑名单":(1)向外汇局或外汇指定银行报审伪造、假冒、涂改、重复使用等进口货物报关单(核销联)或其它凭证的;(2)付汇后无法按时提供有效进口货物报关单或其它到货证明的;(3)需凭备案表付汇而没有备案表;(4)漏报、瞒报等不按规定向外汇局报送核销表及所附单证,或丢失有关核销单证的;(5)违反《贸易进口付汇核销暂行办法》其他规定的。2、"黑名单"经核实后公布;3、"黑名单"有效期最低为自公布之日起六个月;4、"黑名单"撤销需“名单”内的企业提出撤销申请,外汇局考察其整改情况。5、对“黑名单”内的企业不予办理:异地付汇、90天以上的远期信用证和先支后收项下转口贸易付汇的备案。异地付汇项下贸易进口付汇备案管理进口单位办理异地开证、付汇时,外汇局需审核进口单位的备案申请函、进口合同、代理协议(委托代理项下需提供),并根据不同的结算方式审核相应的材料及复印件:1、信用证:开证申请书;2、托收:托收通知书;3、预付货款:商业发票或形式发票;4、货到汇款:商业发票、中国电子口岸IC卡、进口货物报关单原件及复印件。第5页共12页第4页共12页编号:时间:2021年x月x日书山有路勤为径,学海无涯苦作舟页码:第5页共12页不在名录企业进口付汇备案管理1、进口单位的备案申请;2、进口合同原件及复印件;3、并根据不同的结算方式审核相应的材料及复印件:(1)信用证:开证申请书;(2)托收:托收通知书;(3)预付货款:商业发票或形式发票和经国内银行核对密押的预付货款保函或备用信用证原件及复印件(3万美元以下可不提供预付货款保函或备用信用证原件)(4)货到汇款:商业发票、中国电子口岸IC卡、进口货物报关单原件及复印件。4、对于尚未办理“名录”的进口单位,还应审核办理“对外付汇进口单位名录”所需提供的材料。真实性审核(“黑...

1、当您付费下载文档后,您只拥有了使用权限,并不意味着购买了版权,文档只能用于自身使用,不得用于其他商业用途(如 [转卖]进行直接盈利或[编辑后售卖]进行间接盈利)。
2、本站所有内容均由合作方或网友上传,本站不对文档的完整性、权威性及其观点立场正确性做任何保证或承诺!文档内容仅供研究参考,付费前请自行鉴别。
3、如文档内容存在违规,或者侵犯商业秘密、侵犯著作权等,请点击“违规举报”。

碎片内容

进口付汇核销流程图

确认删除?
VIP
微信客服
  • 扫码咨询
会员Q群
  • 会员专属群点击这里加入QQ群
客服邮箱
回到顶部