电脑桌面
添加小米粒文库到电脑桌面
安装后可以在桌面快捷访问

静压桩监理细则VIP免费

静压桩监理细则_第1页
1/19
静压桩监理细则_第2页
2/19
静压桩监理细则_第3页
3/19
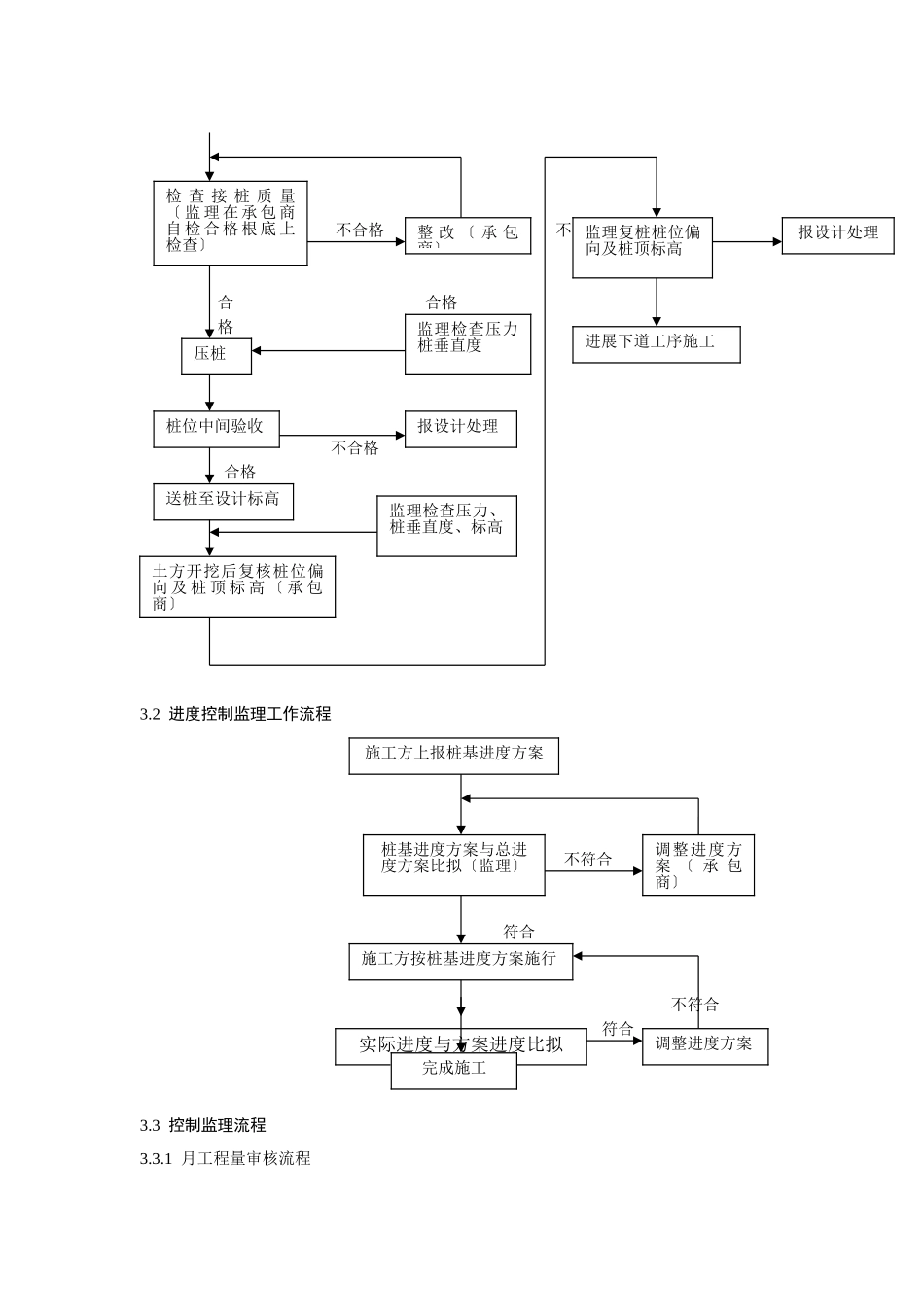
1专业工程概况与特点1、建立:xxxxxxxxxxxx股份2、设计:xxxxxxxxxxxx工程3、施工:xxxxxxxxxxxx工程4、监理:xxxxxxxx工程建立5、预应力桩具有强度高、单桩承载力大、穿透岩土才能强、施工便捷、质量易保证及综合造价本钱低等优点预应力桩是采用先张法预应力高温高压工艺及离心成型法制成的一种空心圆筒体细长砼预制构件。6、设计桩数量和规格:序工程名称桩数〔根〕规格单桩承载力(KN)有效桩长(m)桩端持力层受力类型1总体原料罐区160PHC-400〔90)A-C80-10,5B98015-4端承桩2MAH-R1311、1321、133196PHC-500〔100)AB-C80-8,7B120015-43MAH-TK1405、1506、1588、160193PHC-400〔90)A-C80-8B5008-44MAH-T1401、T140932PHC-500〔100)AB-C80-13B120013-45中间罐区125PHC-400〔90)A-C80-8B5008-46MAH-廊102PHC-400〔90)AB-C80-8B5008-47空压机棚C-120130PHC-500〔100)AB-C80-15B120015-42工程质量验收根据和规定2.1在桩静压施工过程中施工方案、施工工艺的优劣对桩基工程质量起着关键性的作用先张法预应力桩静压施工受到施工过程中各个环节影响施工阶段的质量控制工作要求各方人员积极配合认真研究、分析整个施工过程中要做好事前控制、事中控制和事后控制针对特殊环节、特殊工序采取相应的施工措施确保施工质量以实现预目的。2.2检验批的划分:根据?建筑工程施工质量验收统一?GB50300-2001划分建筑工程分部、分项工程和检验批。2.2.1静压桩为地基与根底分部桩基子分部中的分项工程。2.2.2静压桩分项工程的检验批划分为一批。〔假设工程中子较多需分批验收可按子划分为多个检验批〕。2.3压桩监理实测实量质量检验采用全数检验方案。2.4验收根据:2.4.1?建筑工程施工质量验收统一?GB50300-2001;2.4.2?建筑地基根底工程施工质量验收?GB50202-2002;2.4.6设计施工图纸;2.4.7设计交底、图纸会审纪要。2.4.8有关政策法规等。3监理工作流程:3.1质量控制监理工作流程:施工过程控制原材料质量控制资料控制不合格不合格合格合格合格不合格桩位放样〔承包商〕成品桩桩合格证、强度检验接桩用焊条或半成品的硫磺胶泥合格证书或检验证书复核桩位〔监理〕整改〔承包商〕检查外观、尺寸、强度检验压桩〔承包商〕接桩〔承包商〕监理检查压力桩垂直度制止使用退货处理整改不合格不合格合合格格不合格合格3.2进度控制监理工作流程不符合符合不符合符合3.3控制监理流程3.3.1月工程量审核流程检查接桩质量〔监理在承包商自检合格根底上检查〕压桩桩位中间验收报设计处理监理检查压力桩垂直度整改〔承包商〕送桩至设计标高监理检查压力、桩垂直度、标高土方开挖后复核桩位偏向及桩顶标高〔承包商〕监理复桩桩位偏向及桩顶标高进展下道工序施工报设计处理施工方上报桩基进度方案桩基进度方案与总进度方案比拟〔监理〕施工方按桩基进度方案施行实际进度与方案进度比拟完成施工调整进度方案调整进度方案〔承包商〕3.3.2工程变更监理审核流程不同意同意4监理工作的控制要点及目的值4.1质量控制要点及目的值4.1.1桩位的放样允许偏向如下:群桩20mm单排桩10mm4.1.2桩基工程的桩位验收除设计有规定外应按下述要求进展:4.4.4.打〔压〕入桩的桩位偏向必须符合表1的规定。斜桩倾斜度的偏向不得大于倾斜角正切值的15〔倾斜角系桩的纵向中心线与铅垂线间夹角〕。〔强迫性条文〕表1预制桩桩位的允许偏向〔mm〕施工方上报月完成工程量监理现场计量审核工程量报业主工程变更监理审核变更方案上报业主审核取消变更或调整变更工程变更施行项工程允许偏向1盖有根底梁的桩:(1)垂直根底梁的中心线(2)沿根底梁的中心线100+0.01H150+0.01H2桩数为1-3根桩基中的桩1003桩数为4-16根桩基中的桩1/2桩径或边长4桩数大于16根桩基中的桩:(1)最外边的桩(2)中间桩1/3桩径或边长1/2桩径或边长注:H为施工现场地面标高与桩顶设计标高的间隔。4.设计要求不应少于总桩数的30%每个承台下不得少于1根。4.2进度控制要点与目的值4.2.1比拟实际进展与方案进度的差异4.2.2专业监理工程师在施行工程进度控制中要特别重视纷繁复杂的影响因素对进度方案在执行过程呈现的可变性和不平衡性要注意相关对进度的影响设计对进度的...

1、当您付费下载文档后,您只拥有了使用权限,并不意味着购买了版权,文档只能用于自身使用,不得用于其他商业用途(如 [转卖]进行直接盈利或[编辑后售卖]进行间接盈利)。
2、本站所有内容均由合作方或网友上传,本站不对文档的完整性、权威性及其观点立场正确性做任何保证或承诺!文档内容仅供研究参考,付费前请自行鉴别。
3、如文档内容存在违规,或者侵犯商业秘密、侵犯著作权等,请点击“违规举报”。

碎片内容

静压桩监理细则

您可能关注的文档

确认删除?
VIP
微信客服
  • 扫码咨询
会员Q群
  • 会员专属群点击这里加入QQ群
客服邮箱
回到顶部