电脑桌面
添加小米粒文库到电脑桌面
安装后可以在桌面快捷访问

监理大纲流程VIP免费

监理大纲流程_第1页
1/11
监理大纲流程_第2页
2/11
监理大纲流程_第3页
3/11
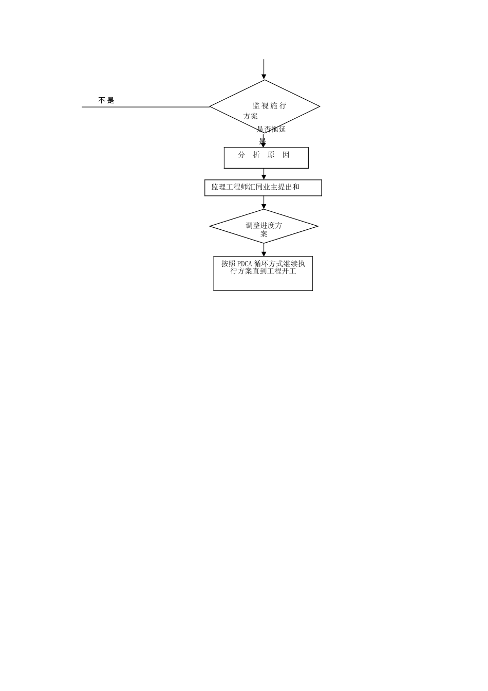
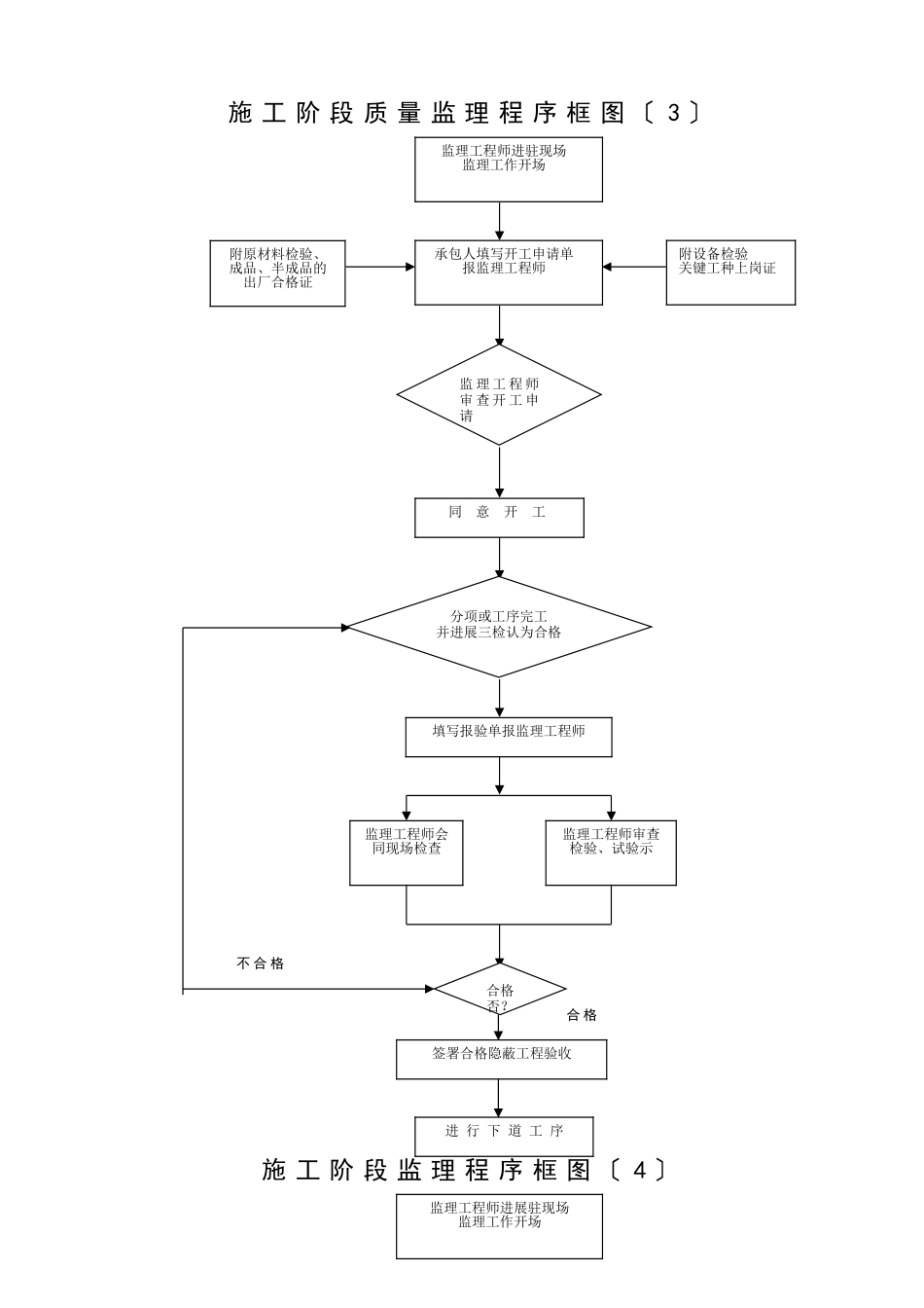
工程施工阶段监理工作程序框图〔1〕施工阶段进度监理程序框图〔2〕不同意同意建立以总监为首的监理工作质量保证体系编制监理规划及细那么制定监理程序及各种监理报表审查开工前施工准备工作审查开工前材料机具设备准备情况审查施工工程组织资源安排情况组织设计图纸会审审查施工组织设计落实业主提供的现场施工条件总监签发开工工程开工业主签署监理工程师对工程目的进行监视控制工作控制质量控制监理及记录进度控制信息理合同理组织协调组织开工初验与验收开工结算与资料归档签署责任书监理工程师进驻现场监理工作开场承包人根据合同工目的编制施工总进度方案内报监理工程师审查监理工程师审查后报业主并共同协商批准施行并编制季度月方案1、落实资源方案〔劳力设备、资金流量〕。2、临时设施占地方案。3、编制方案网络图。1、是否满足合同目的要求。2、资源是否落实。3、方案是否实在可行。不是是监视施行方案是否拖延分析原因监理工程师汇同业主提出和调整进度方案按照PDCA循环方式继续执行方案直到工程开工施工阶段质量监理程序框图〔3〕不合格合格施工阶段监理程序框图〔4〕监理工程师进驻现场监理工作开场承包人填写开工申请单报监理工程师监理工程师审查开工申请同意开工分项或工序完工并进展三检认为合格填写报验单报监理工程师监理工程师审查检验、试验示监理工程师会同现场检查合格否?签署合格隐蔽工程验收进行下道工序附设备检验关键工种上岗证附原材料检验、成品、半成品的出厂合格证监理工程师进展驻现场监理工作开场审查开工前的方案与支付交业主审定、支付中的计量与支付承包人报完成工作量〔包括额外计量索赔〕监理工程师进展计量审查报业主审定后返回支付款项最终计量、支付的审查报业主最后审定支付并扣保修金保修结果开除缺陷责任业主及最终支付支付根据合同履约担保工程量计算及采用的1、工程量的认可。2、现场各项签证及变更的增减认可。3、支付条件的审查。签发缺陷责任书开工书工程材料、构配件、设备质量控制程序不合格合格〔图5〕施工填写工程材料/构配件/设备报验监理部审验施工另选审核证明材料审核证明材料审核证明材料审核证明材料合格?准许施工使用工序交接检验根本程序不合格不合格〔图6〕隐蔽工程验收根本程序不合格不合格〔图7〕工序施工完毕施工自检互检、专检监理部会同现场检查试验室检验合格?签署质检合格进展下道工序返修隐蔽工程施工完毕合格?填写隐蔽工程报验单审查施工记录核查质量保证资料监理工程师签署验收会同现场检查测量试验室复验班组自检专职初验监理部组织审验返修分局部项工程签认根本程序不合格合格不合格合格不合格合格不合格〔图8〕工程验收根本程序有缺陷有缺陷〔图9〕工程进度控制根本程序分项工程施工完毕施工自检专检监理部审核检验填写:分项工程质量报验单分项工程质量评定表监理部审核检验施工自检专检监理工程师签认分项工程填写分部工程质量报验单总监签认分部工程继续施工分部工程到达验收条件返修返修工程到达开工条件施工自检验收监理部组织初验业主组织质监、设计、施工、监理正式验收监理部签发开工初验填写工程开工验收单核查质量保证资料审查开工图组织工程盘点会同现场检查整改签发监理不同意同意〔图10〕工程计量根本程序〔图11〕工程款支付控制程序监理工程师审定签认?月完成工程量表?返还施工填写?月完成工程量报审表?监理部审核工程质量签认属内工程外工程签认手续会同现场实测实量施工根据合同工编制施工总进度方案经总工程师签认填写施工进度方案报审表监理部审查监理睬议监视方案施行满足合同目的资源是否落实计划是否可行保证连续施工施工编制年、季、月、进度方案监理部审批施工按方案施行根本实现方案目的施工编制下一方案施工采取措施分析原因严重偏离方案目的本月实际完成工程进度工程不同意同意不同意同意不同意同意不同意同意〔图12〕设计变更、工地洽商理根本程序不同意同意合格不同意同意〔图13〕费用索赔理根本程序监理工程师签认月工程计量报审表施工提出付款申请各类证明编制付款证书现场签证料监理工程师审查总监签发付款证书支付条件审查工程计量认可工程质量认可支付款项业主审...

1、当您付费下载文档后,您只拥有了使用权限,并不意味着购买了版权,文档只能用于自身使用,不得用于其他商业用途(如 [转卖]进行直接盈利或[编辑后售卖]进行间接盈利)。
2、本站所有内容均由合作方或网友上传,本站不对文档的完整性、权威性及其观点立场正确性做任何保证或承诺!文档内容仅供研究参考,付费前请自行鉴别。
3、如文档内容存在违规,或者侵犯商业秘密、侵犯著作权等,请点击“违规举报”。

碎片内容

监理大纲流程

您可能关注的文档

确认删除?
VIP
微信客服
  • 扫码咨询
会员Q群
  • 会员专属群点击这里加入QQ群
客服邮箱
回到顶部