电脑桌面
添加小米粒文库到电脑桌面
安装后可以在桌面快捷访问

土建监理细则docVIP免费

土建监理细则doc_第1页
1/51
土建监理细则doc_第2页
2/51
土建监理细则doc_第3页
3/51
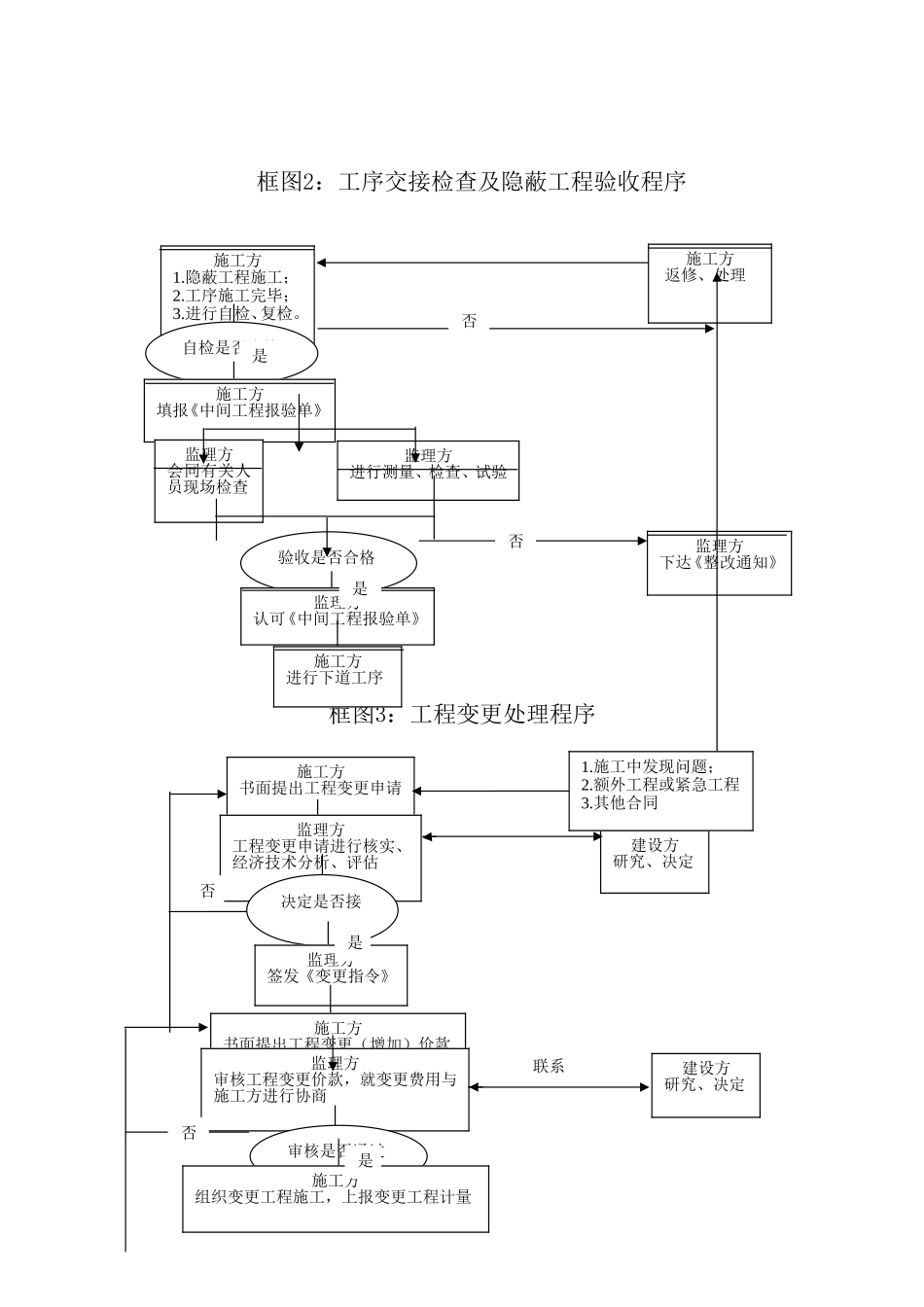
台泥(安顺)水泥有限公司4000t∕d熟料水泥生产线二期工程土建实施监理细则土建实施监理细则概述1.编制实施细则的依据1)监理计划;2)与土建施工相关的标准(见监理规划);3)成都建筑材料工业设计研究有限公司的设计图纸、技术资料;4)中国十七冶施工组织设计;5)其他水泥厂工程项目的监理经验注:由于设计院图纸未全到现场,缺少设计文件,细则编写依据不够充分,只能按照4000t/d规模的水泥厂监理通用部分编写,待设计文件到现场后再进行修改。2、专业工程的特点水泥厂的建设工程特点是;1)专业多;工艺、土建、设备、电气、自动化、总图运输及道路、给排水、技术经济等;2)所有专业都要满足工艺要求;3)大多数生产设备是偏载转动,动负荷大;4)建、构筑物的孔洞和预埋件多,基础预留孔截面小,深度较深,垂直度允许偏差为5/1000;5)建筑物间坐标和工艺设备定位尺寸(坐标和标高)要求高,设备中心线的允许偏差范围较窄;6)自动化程度高;7)以工业建筑物、构筑物为主,窑尾为钢管混凝土框架,高达80多米以上。3、监理工作的流程各项监理工作流程如下;1框图1:工程材料检查验收程序2施工方工程材料、构件进场,自复验合格,质量证明文件齐全。填报《建筑、安装材料报验表》监理方审核质量证明文件、名称数量监理方现场检查、抽样检验、试验各项检验是否合格监理方签署《建筑安装材料报验单》施工方进行材料加工使用监理方按规定加倍抽样检查,或进行材料成分实验。否是否合格是否降级使用监理方下达降级使用指令,并指定使用施工方按监理指令指定使用是监理方下达清退指令、督促不合格材料清退出场否施工方不合格材料清退出场框图2:工序交接检查及隐蔽工程验收程序框图3:工程变更处理程序3施工方1.隐蔽工程施工;2.工序施工完毕;3.进行自检、复检。自检是否合格施工方填报《中间工程报验单》是监理方会同有关人员现场检查监理方进行测量、检查、试验验收是否合格监理方认可《中间工程报验单》施工方进行下道工序监理方下达《整改通知》施工方返修、处理否否是施工方书面提出工程变更申请监理方工程变更申请进行核实、经济技术分析、评估决定是否接监理方签发《变更指令》施工方书面提出工程变更(增加)价款监理方审核工程变更价款,就变更费用与施工方进行协商审核是否通过施工方组织变更工程施工,上报变更工程计量是建设方研究、决定否联系否建设方研究、决定1.施工中发现问题;2.额外工程或紧急工程3.其他合同是框图4:设计变更处理程序框图5:工程事故处理程序4监理方核实变更工程计量,签发变更付款凭证建设方会签并支付变更费用1.图纸会审中发现的错误设计;2.施工中发现的错误设计;3.施工条件变化需要设计;4.其它需要增加或紧急设计变更。监理方进行变更设计的必要性,可行性,经济性预分析,提出变更设计要求设计方提出变更设计图或修改设计图监理方变更设计图审核、会签审核是否通过监理方签发《变更指令》施工方按变更设计图组织施工监理方按质量控制程序否是监理方估算变更设计工程量,调整预算建设方研究、确定建设方研究、决定发生工程质量事故或人身伤亡事故施工方对影响安全的应及时紧急处理施工方向监理方,建设方填报《质量事故报告》监理方发出《工程暂停通知书》施工方暂停施工,消除停工因素施工方、监理方、建设方事故调查取证填报《事故调查报告》施工方、建设方上报主管部门施工方、监理方、建设方事故原因分析,初步提出处理方案施工方提出《质量事故报告》监理方组织审查《质量事故报告》原因是否查清是否处理施工方、监理方、建设方研究确定处理方案、措施施工方事故处理方案实施、自检施工方补充调查,提出补充方案是否监理方发出《复工指令》施工方恢复施工(1)倒塌事故12小时上报(2)重大事故24小时内书面报告(3)一般事故每月汇总集中上报框图6:工程开工管理程序框图7:工程复工管理程序框图8:工程中间验收程序5监理方检查验收合格监理方发出《复工指令》施工方开工准备完成,提交《开工申请报告》监理方复核开工准备,审查开工申请业主及有关部门联系是否批准否监理方签署审核意见业主下达开工令施工方开始施工是出现停工...

1、当您付费下载文档后,您只拥有了使用权限,并不意味着购买了版权,文档只能用于自身使用,不得用于其他商业用途(如 [转卖]进行直接盈利或[编辑后售卖]进行间接盈利)。
2、本站所有内容均由合作方或网友上传,本站不对文档的完整性、权威性及其观点立场正确性做任何保证或承诺!文档内容仅供研究参考,付费前请自行鉴别。
3、如文档内容存在违规,或者侵犯商业秘密、侵犯著作权等,请点击“违规举报”。

碎片内容

土建监理细则doc

确认删除?
VIP
微信客服
  • 扫码咨询
会员Q群
  • 会员专属群点击这里加入QQ群
客服邮箱
回到顶部