电脑桌面
添加小米粒文库到电脑桌面
安装后可以在桌面快捷访问

质量保证措施和质量违约责任承诺VIP免费

质量保证措施和质量违约责任承诺_第1页
1/7
质量保证措施和质量违约责任承诺_第2页
2/7
质量保证措施和质量违约责任承诺_第3页
3/7
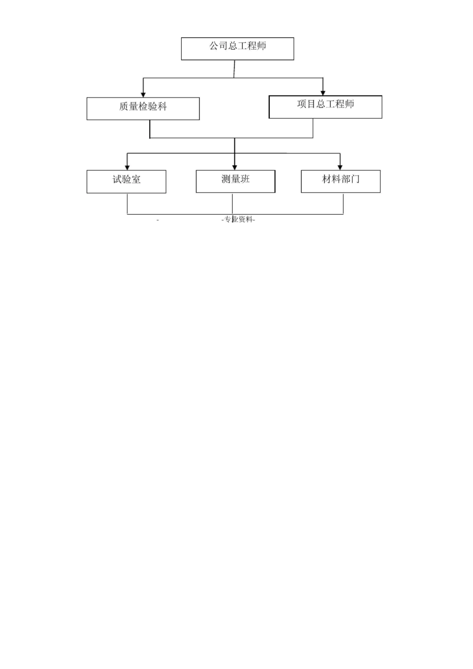
(八)质量保证措施和质量违约责任承诺本项目在满足招标文件要求,达到合格工程的前提下,争创优质工程。为保证质量目标的实现,我公司将从以下几方面入手:1、建立完善的质量保证体系及组成机构项目经理部针对质量创优目标,建立健全行之有效的质量保证体系,按照质量体系文件完善项目经理部管理职责,在项目经理部中建立项目部质量保证体系。实行工程质量责任制,即项目经理对所承担工程项目的质量负直接责任,项目总工对所承担工程项目的技术质量负领导责任,各部门负责人按质量体系要求,分担各职能责任,各级管理及操作人员履行本岗位的质量职责。2、质量保证措施(1)质量检查程序每一道工序完成后由质检员按设计图和技术规范要求严格进行自检,对自检合格工程填写质检申请表,经质检核实后报质检组审查,质检组确认自检组的检查有效并签字报送现场监理工程师申请检验,监理工程师认可后,方可进行下道工序。质量保证体系(2)加强施工前的质量控制工作1)施工前,组织技术人员认真会审设计文件和图纸,切实了解和掌握工程的要求和施工的技术标准,理解业主的需要和要求,如有不清楚或不明确之处,及时向业主或设计单位提出书面报告。2)根据工程的要求和特点,组织专业技术人员编写具体施工组织设计,严格按照公司质量体系程度的内容要求,编制施工计划,确定适用的实施设备并落实配备,施工过程中着重控制手段、检验设备、辅助装置、资源(包括人力)以达到规定的质量要求,并根据施工的技术要求,分部分项地制定详尽的施工方案,编写施工工艺,以保证该工程的质量达到要求。3)若工程施工时因客观原因发生变化,要及时对已制定的施工方案和有关程序进行修订和变更,并严格按照质量体系控制程序的要求,报送有关部门论证审批后,方可实施,确保程序的科学性和可行性,并做好变更后的标识和记录工作。工序质量检查程序单项工程完成后中间交工程序4)开工前要做好各部位、工序的技术交底工作,严格按照质量体系规定的内容做好技术交底,按照三级技术交底的要求,使各级施工人员清楚地掌握对将要进行施工的部位、工序的施工、施工工艺、技术规范要求,对特殊和重点部位要真正做到心中有数,确保施工操作的准确性和规范性。(3)做好施工全过程的质量控制工作1)配齐满足工程施工需要的人力资源。有针对性地组织各类施工人员学习,进行必要的施工前岗位培训,以保证工程施工的技术要求,特殊工种作业人员须持有效上岗操作证,技术人员、组织管理人员必须熟悉本工程的技术、工艺要求,了解工程的特点和现场情况,以确保工程施工能正常运转。2)配齐满足工程施工需要的各类设备。自有设备必须经检修、试机、检验合格后,方能进场施工,外租设备在进场前,要进行检查和认可,证明能满足工程施工需要后,方可进行施工。严格执行“设备维修保养管理规定”及“施工机械操作规程”,保证各类设备在施工中的作用,满足整个工程施工的需要。3)工程施工实行现场标牌管理,标示牌上注明分项工程作业内容、简要工艺和质量要求、施工及质量负责人姓名等。4)组织强有力的测量人员进行测量控制。测量是整个工程的基础,是推进工程的指挥棒,我们将严格按照质量管理体系中对测量质量控制的要求,实行从放线到竣工的一整套质量控制程序,严格执行复核制度、交底签认制度、向监理工程师报批制度,以放准、勤复、点、线、面通盘控制的方法,确保测量工作的准确无误,并做好测量原始记录的保存归档工作。5)严格执行已经认可的施工方案,保证在具体施工操作过程中,能够实现业主的期望,尤其是对工程的特殊重点部位和工序,则要专门制定施工方案,并加强监督的力度和控制的手段,使工程的每个部位、工序均达到合格标准。6)严格按照施工组织设计和操作规程,高起点、高质量地做好每一道工序,将每道工序的检验数据结果定位在全优起点上,并以此做样板,通过高标定位的全方位控制手段,确保每道工序、每个部位、整项工程最终达到合格工程。7)通过严把过程检验和试验关,保证工程施工的每一段、每个部位的质量在施工的过程中受到控制。严格按照“过程检验和试验控制程序”的内容和要求保证四级验收...

1、当您付费下载文档后,您只拥有了使用权限,并不意味着购买了版权,文档只能用于自身使用,不得用于其他商业用途(如 [转卖]进行直接盈利或[编辑后售卖]进行间接盈利)。
2、本站所有内容均由合作方或网友上传,本站不对文档的完整性、权威性及其观点立场正确性做任何保证或承诺!文档内容仅供研究参考,付费前请自行鉴别。
3、如文档内容存在违规,或者侵犯商业秘密、侵犯著作权等,请点击“违规举报”。

碎片内容

质量保证措施和质量违约责任承诺

您可能关注的文档

wxg+ 关注
实名认证
内容提供者

该用户很懒,什么也没介绍

确认删除?
VIP
微信客服
  • 扫码咨询
会员Q群
  • 会员专属群点击这里加入QQ群
客服邮箱
回到顶部