电脑桌面
添加小米粒文库到电脑桌面
安装后可以在桌面快捷访问

临时用地呈报表VIP专享VIP免费

临时用地呈报表_第1页
1/3
临时用地呈报表_第2页
2/3
临时用地呈报表_第3页
3/3
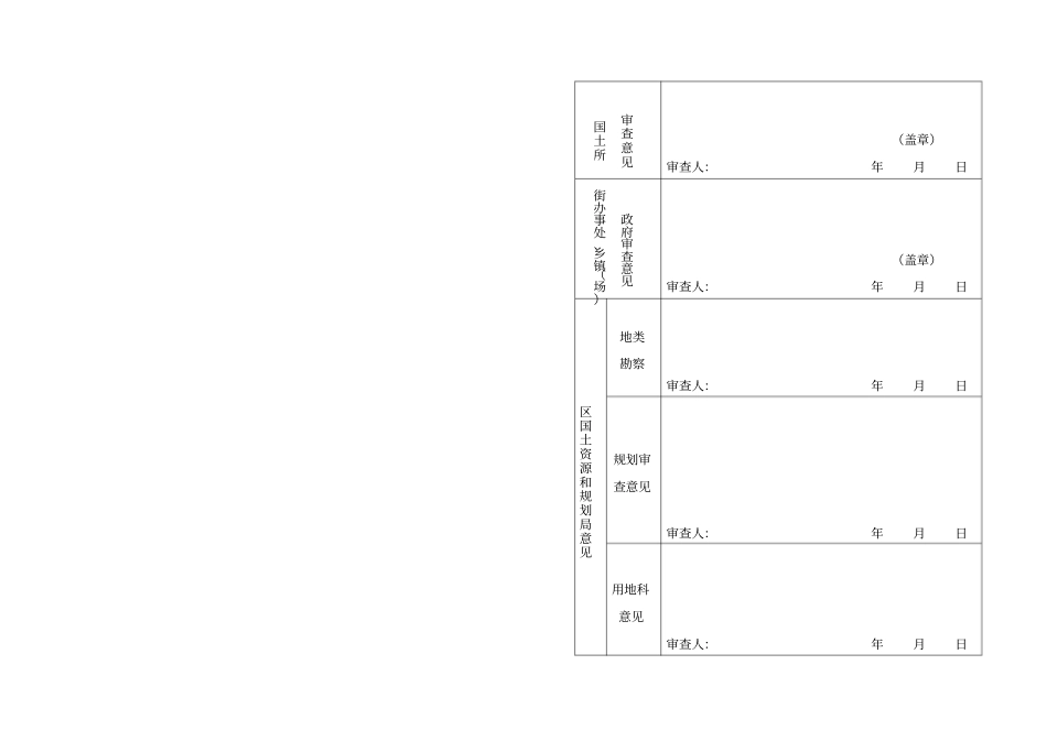
区国土资源和规划局意见分管领导:年月日(盖章)主管领导:年月日用地须知1、用地单位必须按照批准的面积使用,不得任意改变其用途并且不准修建永久性建筑物。2、批准的临时用地期限为1-2年,期满后应及时将土地退还给原单位,如确需要延期使用的,应提前1个月向国土资源部门申请续办,逾期不办的均按非法占地论处。3、临时用地单位或个人占用农用地的必须负责土地的复垦,同国土资源部门签订复垦协议,并按规定交纳土地复垦保证金。4、使用临时用地的单位必须按规定交纳临时用地管理费。5、申请人执行上述规定并签章的,方可办理审批手续。申请人签章:年月日临时用地审批呈报表申请用地单位:(盖章)单位负责人:(签字)经办人:(签字)武汉市蔡甸区国土资源和规划局制主建项目名称总投资(万元)临时用地项目名称用地面积(亩)主体工程的立项批复临时用地总面积亩其中使用集体土地亩使用国有土地亩使用其中:用地单位(盖章)面积(亩)水田(亩)旱地(亩)林地(亩)园地(亩)水面(亩)其它(亩)土地复垦复垦面积(亩)合计水田旱地菜地保证措施用地单位负责复垦被用地单位负责复垦缴纳复垦费审查意见国土所(盖章)审查人:年月日政府审查意见街办事处、乡镇(场)(盖章)审查人:年月日区国土资源和规划局意见地类勘察审查人:年月日规划审查意见审查人:年月日用地科意见审查人:年月日

1、当您付费下载文档后,您只拥有了使用权限,并不意味着购买了版权,文档只能用于自身使用,不得用于其他商业用途(如 [转卖]进行直接盈利或[编辑后售卖]进行间接盈利)。
2、本站所有内容均由合作方或网友上传,本站不对文档的完整性、权威性及其观点立场正确性做任何保证或承诺!文档内容仅供研究参考,付费前请自行鉴别。
3、如文档内容存在违规,或者侵犯商业秘密、侵犯著作权等,请点击“违规举报”。

碎片内容

临时用地呈报表

确认删除?
VIP
微信客服
  • 扫码咨询
会员Q群
  • 会员专属群点击这里加入QQ群
客服邮箱
回到顶部