电脑桌面
添加小米粒文库到电脑桌面
安装后可以在桌面快捷访问

人事行政部工作流程VIP专享VIP免费

人事行政部工作流程_第1页
1/29
人事行政部工作流程_第2页
2/29
人事行政部工作流程_第3页
3/29
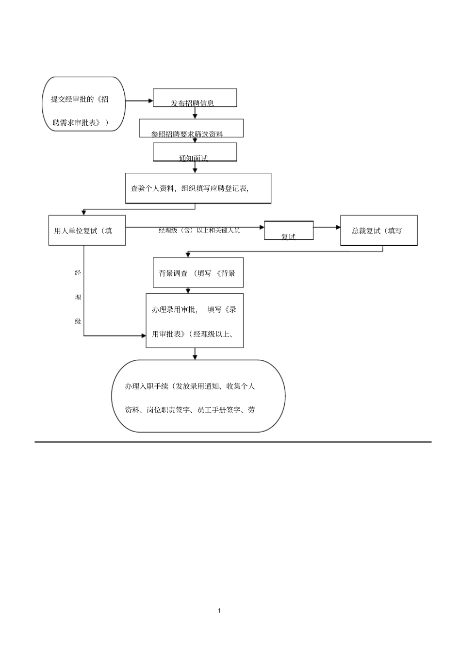
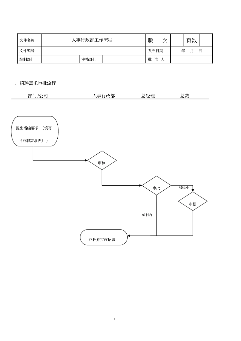
1一、招聘需求审批流程部门/公司人事行政部总经理总裁文件名称人事行政部工作流程版次页数文件编号发布日期年月日编制部门审核部门批准人审核审批存档并实施招聘审批编制内编制外提出增编要求(填写《招聘需求表》)1二、招聘流程用人部门人事行政部总经理总裁1提交经审批的《招聘需求审批表》)发布招聘信息参照招聘要求筛选资料查验个人资料,组织填写应聘登记表,用人单位复试(填总裁复试(填写办理录用审批,填写《录用审批表》(经理级以上、背景调查(填写《背景办理入职手续(发放录用通知、收集个人资料、岗位职责签字、员工手册签字、劳经理级(含)以上和关键人员经理级通知面试复试1三、员工入职流程员工人事行政部用人部门1收集资料(身份证、毕业证、职称证复印件;一寸红底照四张、两寸发放录用通知书签订劳动合同(期限一岗位职责签字并存档发放员工手册(签收)工号牌发放并签字员工信息录入(含指纹)员工档案建立报到上岗办公场所安排;职前介绍进入试用并接受新1四、员工转正流程员工所在部门负责人人事行政部总经理总裁审核审核审批审批发放转正/延期转正/不予转正通知,资料经理级(含)以经理级一天内一天内三天内提前七天提交转正审批表和试用期工作总提前十天发放转正1五、劳动合同续签流程用人部门人事行政部总经理总裁员工每月25日核对下月员工劳动合同信息,并填1填写《用印申请续签劳动合同审核一份给员工并签收,一份存入员工档案签字续签劳动合同意向书审批审批经理级以上及关键人员签收并按要求回复1六、月度培训计划制定流程各部门人事行政部总经理填写《培训需求发放《培训需根据培训需求拟订培训计划并与审批每月25日前存档并实施培训1七、培训实施流程人事行政部培训讲师员工1提前发布培训通知与讲师进行沟通培培训准备(课件、场签到宣布培训纪律;介绍培训做好培训笔记培训效果调查与评估并与培训讲培训资料存档准备课件并提前发1八、绩效考核实施流程被考核人考核人人事行政绩效专员人事行政主管每月3日前考核人与被考核人共同商定考核指标,同时对上月绩效完成31日填写个人下月绩效考核表,并对本月绩效完绩效考核汇总表审核绩效考核资料存档交人事经理计算每月5日前1九、工资表编制与审批流程人事主管人事行政经理总经理集团财务总监1公积金与社保明奖惩通报福利补贴、全勤奖绩效考核汇总表考勤表审核工资表制做审核审批签字的纸质版与电每月5日前每月8日前每月10日前每月12日前入职、离职、转正1十、社保办理流程员工人事行政部社保经办机构1准备劳动合同、员工就业申报花名册、公章、苏州市民卡照片采集表社保中心办理社保并进行备案(次月6日之前办完)员工提供身份证号码、社保编号表一:增加员工提供身份证号码、社保编号准备劳动合同、苏州市用人单位职工退工停保表、解除劳动合同证明、公章社保中心办理减少并进行备案(月底办完)表二:减少1十一、公积金办理流程员工人事行政部公积金经办机构十二、派车流程用车部门部门负责人人事行政部经理总经理驾驶员员工提供公积金编号、身份证号码填写“启封、封存、转入单”、公章公积金中心办理(30日之前)1十三、借车流程借车人员人事行政部经理总经理董事长填写《派车申请单》审核审批审批出车,填写《行车记录表》出苏州市范围1填写《借车申请表》审核审批审批安排车辆,签订借车协议,进行车辆交接出苏州市范围或借车1十四、车辆保养维修流程车辆管理员人事行政部经理总经理总裁董事长填写《车辆保养维修申请表》,注明维修原因与金额审核审批审批审批指定维修点进行维修。2000元(含)以上5000元(含)以上10000元(含)以1十五、员工宿舍申请流程员工人事行政部经理总经理集团财务总监1公司宿舍提前七天填写《住宿申请单》资格外租宿舍发放补贴审核审批安排入住安排租房或发放补贴1十六、机票预订流程申请人部门负责人总经理行政前台填写机票预订审批单审核审批订票并将订票信息及时告知申请人1十七、名片制作流程1申请人部门负责人人事行政部经理行政前台填写《名片申请表》并签名审核核实名片信息联系印刷收取名片并进行核对,如有错误退回重印送达申请人并签收审批1十八、办...

1、当您付费下载文档后,您只拥有了使用权限,并不意味着购买了版权,文档只能用于自身使用,不得用于其他商业用途(如 [转卖]进行直接盈利或[编辑后售卖]进行间接盈利)。
2、本站所有内容均由合作方或网友上传,本站不对文档的完整性、权威性及其观点立场正确性做任何保证或承诺!文档内容仅供研究参考,付费前请自行鉴别。
3、如文档内容存在违规,或者侵犯商业秘密、侵犯著作权等,请点击“违规举报”。

碎片内容

人事行政部工作流程

确认删除?
VIP
微信客服
  • 扫码咨询
会员Q群
  • 会员专属群点击这里加入QQ群
客服邮箱
回到顶部