电脑桌面
添加小米粒文库到电脑桌面
安装后可以在桌面快捷访问

供应商导入流程VIP免费

供应商导入流程_第1页
1/15
供应商导入流程_第2页
2/15
供应商导入流程_第3页
3/15
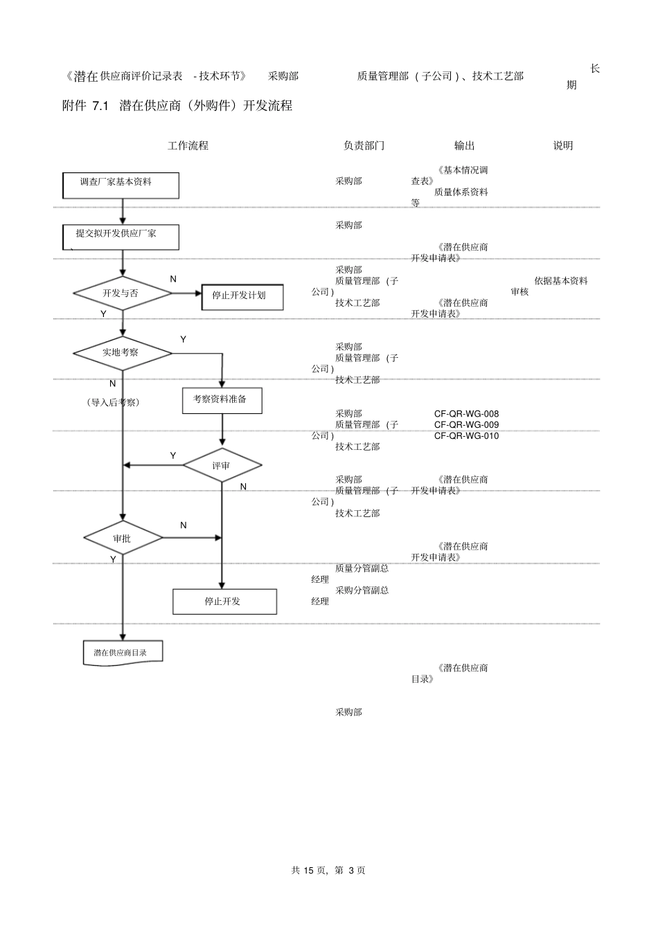
共15页,第1页1目的规范确认供应商在质量、成本、交付、技术等方面能力的要求,确保供应商提供的产品能满足公司需求。2范围适用于为公司(集团)提供产品的潜在供应商。3引用标准无4定义供应商:指提供产品或服务的组织或个人。本作业办法所指供应商,指为外购件供应商、外协供应商二类。潜在供应商:指有可能成为公司(集团)的合格供应商,但目前没有供货关系的供应商。5职责5.1技术中心、物控中心、质量管理部(集团)负责制定本作业办法,并适时修订。5.2采购部负责依据本作业办法,组织相关部门对外购件潜在供应商进行考察与评估,同时由采购部负责对外购件潜在供应商交货保证、成本控制能力进行评估。5.3技术工艺部负责对潜在供应商的技术保证能力进行考察评估。5.4质量管理部(子公司)负责对潜在供应商的质量保证能力进行考察评估。5.5子公司采购分管领导、质量分管领导分别负责新供应商开发的审核、审批。6作业办法与流程6.1选择潜在供应商的总体要求:6.1.1供应商提供的产品与服务必须满足公司产品的技术要求、质量要求及服务要求。6.1.2外购件供应商质量体系条件:原则上关键件供应商需通过TS16949质量体系认证,对涉及强制性认证的产品,供应商必须通过国家强制认证;对于非关键件产品供应商需通过ISO9001(具体标准详见附件7.2)。6.1.3新产品的供应商确定,要求优先在原配套体系或与其它主机厂有配套关系(需提交近2年配套证明材料)中选择。6.1.4每种类及型号产品的正常稳定供货的合格供应商数量为2~3家,原则上不超过3家。6.2潜在供应商评估作业办法6.2.1采购部根据现有体系的供货能力、实现降成本目标、新产品开发等需求,组织人员调查并收集潜在供应商基本情况,经采购部初选后填写《潜在供应商开发申请表》,报送质量管理部(子公司)、技术工艺部会签审定。应收集信息形成表单:《质量体系认证书》、潜在供应商评估作业办法编号CF-WI-WG-003-2011共4页第4页第A1版共15页,第2页《税务登记证》、《法人代表资格证》、《营业执照》《供应商基本情况调查表》6.2.2质量管理部(子公司)依据供应商资料评审潜在供应商在将来产品的质量保证能力及所具备的条件是否符合。6.2.3技术工艺部负责审核潜在供应商的技术水平与技术开发能力。外购件供应商技术条件:关键件供应商产品生产技术及产品性能水平为国内中等以上水平;具备开发能力或可借助外部有实力的力量开发,有完善的试制、试验手段。6.2.4潜在供应商经审定后,由采购部、质量管理部(子公司)、技术工艺部共同确定是否进行开发前期的实地考察,或导入后另定时间进行实地考察;实地考察的内容详见记录表单8.3、8.4、8.5。考察小组由采购部、质量管理部(子公司)、技术工艺部各派一人参加。6.2.5在原配套体系供应商新产品开发,不需进行考察,由技术工艺部直接进行技术对接工作。6.2.6采购部负责依据经批准的《潜在供应商开发申请表》建立《潜在供应商目录》。7附件附件7.1潜在供应商(外购件)开发流程附件7.2《外购件最低执行质量管理体系标准》8记录表单8.1《新供应商开发申请表》CF-QR-WG-0068.2《供应商基本情况调查表》CF-QR-WG-0078.3《潜在供应商评价记录表----采购/生产环节》CF-QR-WG-0088.4《潜在供应商评价记录表----技术环节》CF-QR-WG-0098.5《潜在供应商评价记录表----品管环节》CF-QR-WG-0108.6《潜在供应商目录》CF-QR-WG-0119表单资料归档资料名称存放部门传递部门存放期限《质量体系认证书》采购部质量管理部(子公司)长期《税务登记证》采购部长期《法人代表资格证》采购部长期《营业执照》采购部长期《供应商基本情况调查表》采购部质量管理部(子公司)长期《新供应商开发申请表》采购部质量管理部(子公司)、技术工艺部长期《潜在供应商评价记录表-采购环节》采购部质量管理部(子公司)长期《潜在供应商评价记录表-品管环节》采购部质量管理部(子公司)长期共15页,第3页《潜在供应商评价记录表-技术环节》采购部质量管理部(子公司)、技术工艺部长期附件7.1潜在供应商(外购件)开发流程工作流程负责部门输出说明(导入后考察)采购部采购部采购部质量管理部(子公司)技术工艺部采购部质量管理部(子公司)技术...

1、当您付费下载文档后,您只拥有了使用权限,并不意味着购买了版权,文档只能用于自身使用,不得用于其他商业用途(如 [转卖]进行直接盈利或[编辑后售卖]进行间接盈利)。
2、本站所有内容均由合作方或网友上传,本站不对文档的完整性、权威性及其观点立场正确性做任何保证或承诺!文档内容仅供研究参考,付费前请自行鉴别。
3、如文档内容存在违规,或者侵犯商业秘密、侵犯著作权等,请点击“违规举报”。

碎片内容

供应商导入流程

您可能关注的文档

确认删除?
VIP
微信客服
  • 扫码咨询
会员Q群
  • 会员专属群点击这里加入QQ群
客服邮箱
回到顶部