电脑桌面
添加小米粒文库到电脑桌面
安装后可以在桌面快捷访问

暖通监理实施细则VIP免费

暖通监理实施细则_第1页
1/22
暖通监理实施细则_第2页
2/22
暖通监理实施细则_第3页
3/22
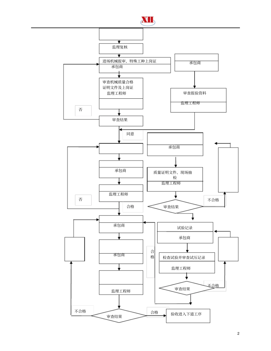
1暖通监理实施细则一、工程概况工程主要地质分析:(地源部分)0~35m主要为粘土层35m~45m沙土层45m~50m硬性粘土(同等于弱风化岩层)50m~65m破碎层和泥石混合层65m~122m灰岩和凝灰岩的交错层(硬度大)二、监理依据1、设计文件、图纸及设计变更2、监理合同3、施工合同及施工组织设计4、《建设工程项目管理规范》GB/T50326-20015、《工业金属管道工程施工及验收规范》GB50235-976、《建筑给水、排水及采暖工程施工质量验收规范》GB5024-20027、《通风与空调工程施工及验收规范》GBJ50243-20028、《机械设备安装工程施工及验收规范》TJ231(五)-789、《压缩机、风机、泵安装工程施工及验收规范》GB50275-9810、《地源热泵系统工程技术规范》GB50366-200511、《工业管道及设备绝热工程施工及验收规范》KY-010212、《制冷设备安装工程施工及验收规范》GBJ66-8413、工程地质勘察报告14、国家法律、法规;地方法律、法规三、监理工作程序2不合格合格不合格试验记录承包商进场机械报审、特殊工种上岗证承包商审查机械质量合格证明文件及上岗证监理工程师审查结果承包商审查报验资料监理工程师承包商监理工程师承包商监理工程师承包商验收进入下道工序监理复核质量证明文件、现场抽检监理工程师检查试验并审查试压记录监理工程师同意合格否合格不合格否承包商审查结果审查结果审查结果3四、施工准备阶段监理控制1、参与业主组织的设计单位、施工单位的图纸会审和技术交底;对设计文件、图纸中存在的问题和需要解决的技术难题共同研究,取得共识,并以文字、图表的形式列入会议纪要中;2、审查施工单位项目管理机构组成人员资质、学历、职务、职称及应具备的资质证书;3、审查技术工人的资质证书及应具备的上岗证。如现场电工、电焊操作工等;对无证上岗人员和不合格人员,监理工程师有权要求承包商予以撤换;4、审核施工方提供的专项施工方案,施工机具和人员的配置、施工工艺及施工方法、质量管理网络及技术质量保证措施、安全管理网络及施工安全保证措施,经监理工程师审批确认后,成为施工合同文件的部份,不得随意更改。如未被确认必须重新编制报审,直至监理工程师认可为止;5、审查施工单位安全生产管理体系,重点审查安全生产许可证、安全生产责任制度、安全生产教育培训制度、安全生产规章制度、安全事故应急救援预案,审查工程安全防护措施费用使用计划;6、审查施工方质量保证体系和质保措施及其落实情况,不足之处,督促其完善;7、审查进场机具设备是否属国家挂牌产品、型号、规格、性能、数量等。若与承诺不符,或性能不能满足工程要求,必须重新调整,否则不许开工;8、承包商采购的原材料,必须有供货商提供的产品合格证及质量检验证;凡进场的原材料,必须经监理工程师现场检查,不合格的隔开堆放,并作明显的标示,迅速退场;9、查验施工方管理人员和作业人员是否一一到场,实际数目与呈报数量是否相符;10、审核承包商进场的测试仪器设备、衡具是否经专门机构计量标定认可,否则禁止使用;11、施工方必须对确定的原始基准点、其准线和高程测量控制点进行复测,报监理工程师审核批复后,施工方据此进行准确的测量放线,并对其正确性负责;12、必须严格执行设计要求、地源热泵技术规范及相关质量验收标准。4五、技术要点(一)、螺杆水冷机组安装:1、空调水管道施工:材料及设备检验→管道支吊架制作安装→干管立管安装→楼层及设备支管安装→水压试验→管道冲冼→管道防腐保温安装前应对施工中所用的所有材料的规格、型号、数量、质量进行认真核对检查,主要材料要有产品合格证和质保书,要求施工单位做好材料报验,确保施工所用材料的质量。1、供回水管管径DN<50mm的采用镀锌钢管,管径DN>50mm的采用无缝钢管;连接风机盘管进回水管采用铜质球阀,凝结水管采用PVC管。阀门应有合格证、型号规格符合设计,外表无缺陷、缺件。止回阀严密性试验压力一般为公称压力。安全阀在使用前按设计要求进行调试。主要阀门应在安装前进行严密及强度试验。2、支吊架制作、安装:(1)管道的支吊架设置型式应符合设计规定的要求,并按有关标准图集制作。(2)支吊架安装要做到位置正确、...

1、当您付费下载文档后,您只拥有了使用权限,并不意味着购买了版权,文档只能用于自身使用,不得用于其他商业用途(如 [转卖]进行直接盈利或[编辑后售卖]进行间接盈利)。
2、本站所有内容均由合作方或网友上传,本站不对文档的完整性、权威性及其观点立场正确性做任何保证或承诺!文档内容仅供研究参考,付费前请自行鉴别。
3、如文档内容存在违规,或者侵犯商业秘密、侵犯著作权等,请点击“违规举报”。

碎片内容

暖通监理实施细则

您可能关注的文档

确认删除?
VIP
微信客服
  • 扫码咨询
会员Q群
  • 会员专属群点击这里加入QQ群
客服邮箱
回到顶部