电脑桌面
添加小米粒文库到电脑桌面
安装后可以在桌面快捷访问

机房重要信息系统应急预案讲解VIP专享VIP免费

机房重要信息系统应急预案讲解_第1页
1/24
机房重要信息系统应急预案讲解_第2页
2/24
机房重要信息系统应急预案讲解_第3页
3/24
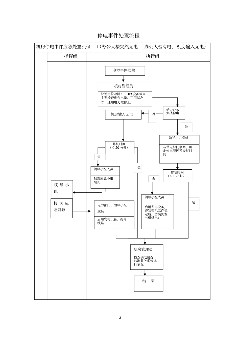
1XXXXXX计算机机房应急预案一、适用条件1适用范围本预案适用于XXXXXX计算机机房发生电力、火灾、空调故障和水浸等突发事件的应急处置工作。1适用场景电力事件:由于机房电力不可用引发的应急事件。以机房为参照物:第一种情况:机房输入无电(大楼突然停电;大楼有电,机房市电输入无电);第二种情况:机房本身供配电故障。火灾事件:机房设施本身产生的火灾以及外部火灾威胁。空调故障:有机房空调故障引发的机房温度升高的应急事件。水浸事件:机房内部遭到水患,影响或破坏机房正常运行。2二、应急处置流程机房突发事件处置总流程机房突发事件处置总流程指挥组执行组故障处理事件发现机房管理人员事件报告安全领导小组事件分析应急组判断是否为事件否领导小组成员协调相关资源业务应急办法确认事件类型领导小组成员电力、空调、火灾、浸水处置业务部门业务部门业务恢复领导小组处置结束结束是领导小组事件定级并启动应急预案否领导小组处置成功3停电事件处置流程机房停电事件应急处置流程-1(办公大楼突然无电;办公大楼有电,机房输入无电)指挥组执行组电力事件发生机房管理员快速定位故障:UPS设备检查,主要检查剩余电量、可用状态等;通知电力维修工。是否办公大楼停电机房输入无电否是领导小组成员修复时间(≤20分钟)修复时间(≤2小时)与供电部门联系,确定停电原因及恢复时间领导小组成员领导小组成员报告应急小组组长否否是启用发电设备,待发电机工作稳定后,切换到发电机供电;是电力部门、领导小组成员启用发电设备、抢修线路机房管理员检查供电情况;监测业务系统运行情况结束领导小组协调应急资源4机房停电事件应急处置流程-2(机房本身供配电故障)指挥组执行组电力事件发生机房管理人员快速定位故障UPS故障配电柜故障机房供电回路故障领导小组成员领导小组成员检查配电柜各开关及线路检查故障位置及原因,以及受影响业务排除故障领导小组成员断开UPS输入空气开关试供电是否正常是否电力维修工、机房供电小组配合检查供电回路故障原因:回路中是否有损坏的设备,是否存在短路,是否有漏电等,针对问题进行处理领导小组成员闭合回路中设备电源开关,试供电,逐台启动设备是领导小组成员闭合UPS输入空气开关领导小组成员检查单电源供电设备,临时解决供电问题领导小组成员通知服务商或厂商进行维修UPS恢复正常运行结束5火灾事件处置流程机房火灾事件处置流程图指挥组执行组火灾事件发生火势特别严重?否是危及人身安全?是领导小组成员是否需要切断供电?否领导小组成员通知全部人员撤离,拨打119火警电话关闭机房电源,若气体灭火设备没有自启,手动启动并拨打119电话,机房人员撤离领导小组成员是领导小组成员否灭火器分区灭火,通知业务部门进行业务紧急处置,切断供电灭火器分区灭火,若影响业务通知业务部门进行部分业务紧急处置领导小组成员报告应急小组组长,通知大楼消防小组火是否被扑灭火被扑灭是否机房管理员配合119灭火业务部门负责人进行业务紧急处置执行组评估机房受害程度,制定恢复措施,恢复机房环境,向指挥组汇报详细情况结束领导小组对人员和资源进行调度6空调事件处置流程机房空调突发事件处置流程图指挥组执行组机房温度上升过快机房管理人员采取降温措施(冰块、风扇等)并监控温度变化情况机房管理人员发现空调故障是否供电故障温度是否降低是否空调设备故障领导小组成员领导小组成员通知服务承包商或厂商维修故障空调排查供电故障是否领导小组成员上报小组组长机房管理员执行停机策略启动业务应急空调运行恢复正常结束领导小组决策:停机策略7水浸事件处置流程机房水浸事件处置流程领导组安全领导小组成员机房水浸事件发生水浸是否严重?否是危及人身安全?是机房管理人员是否需要停电?否机房管理人员通知人员撤离,关闭机房电源报告应急预案小组通知人员撤离领导小组成员是机房管理人员否通知业务部门进行业务处置,切断供电,同时吸水除湿吸水除湿报告小组组长,切断机房供电领导小组成员业务部门负责人进行业务紧急处置机房管理人员评估机房受害程度,制定恢复措施,向应急小组汇报,提出下一步建议恢复运行环境及损坏设施处置结...

1、当您付费下载文档后,您只拥有了使用权限,并不意味着购买了版权,文档只能用于自身使用,不得用于其他商业用途(如 [转卖]进行直接盈利或[编辑后售卖]进行间接盈利)。
2、本站所有内容均由合作方或网友上传,本站不对文档的完整性、权威性及其观点立场正确性做任何保证或承诺!文档内容仅供研究参考,付费前请自行鉴别。
3、如文档内容存在违规,或者侵犯商业秘密、侵犯著作权等,请点击“违规举报”。

碎片内容

机房重要信息系统应急预案讲解

确认删除?
VIP
微信客服
  • 扫码咨询
会员Q群
  • 会员专属群点击这里加入QQ群
客服邮箱
回到顶部