电脑桌面
添加小米粒文库到电脑桌面
安装后可以在桌面快捷访问

计算机组成原理课程设计(桂林电子科技大学)VIP免费

计算机组成原理课程设计(桂林电子科技大学)_第1页
1/30
计算机组成原理课程设计(桂林电子科技大学)_第2页
2/30
计算机组成原理课程设计(桂林电子科技大学)_第3页
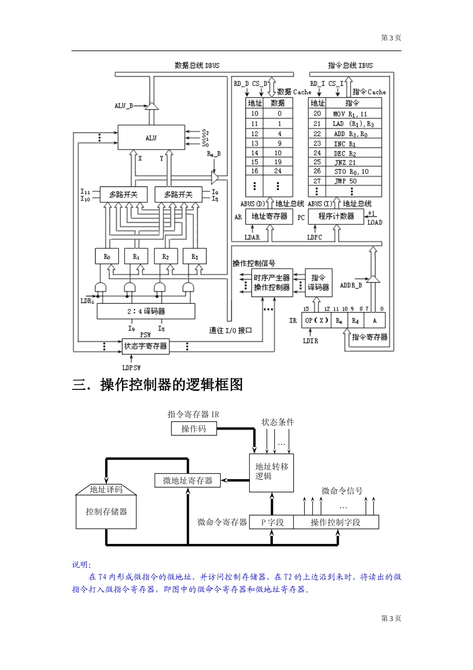
3/30
第1页计算机组成原理课程设计说明书题目:设计一台嵌入式CISC模型计算机院(系):计算机科学与工程学院第1页第2页专业:网络工程学生姓名:唐波学号:1100380219指导教师:陈智勇一、课设题目:设计一台嵌入式CISC模型计算机(采用定长CPU周期、联合控制方式),并运行能完成一定功能的机器语言程序进行验证,实现方法可从以下4类中任选一个:●连续输入5个有符号整数(8位二进制补码表示,用十六进制数输入),求最小的负数的绝对值并输出显示。说明:①5个有符号数从外部输入;②一定要使用符号标志位(比如说SF),并且要使用为负的时候转移(比如JS)或不为负的时候转移(比如JNS)指令。二.CISC模型机系统总体设计第2页第3页三.操作控制器的逻辑框图说明:在T4内形成微指令的微地址,并访问控制存储器,在T2的上边沿到来时,将读出的微指令打入微指令寄存器,即图中的微命令寄存器和微地址寄存器。第3页……指令寄存器IR操作码微地址寄存器地址译码控制存储器地址转移逻辑状态条件微命令寄存器P字段操作控制字段微命令信号第4页四.模型机的指令系统和所有指令的指令格式由此可见,本模型机中的指令系统中共有8条基本指令,下表9列出了每条指令的格式、汇编符号和指令功能。指令助记符指令格式功能15--121110987-----------0IN1Rd0101××Rd××××××××(Rd)+1→Rd,锁存标志位MOVRd,im0001××Rdim立即数→RdCMPRs,Rd0011RsRd××××××××Rs,Rd比较,INCRd0010××Rd××××××××输入设备→RdJNSaddr0100××××addr若大于,则addr→PCJMPaddr0110××××addraddr→PCOUT1Rs1001Rs××××××××××(Rs)→输出设备MOV1Rs,Rd1000RsRd××××××××(Rs)→RdNOTRd0111××Rd××××××××Data取反指令格式:(1)I/O指令(单字节)I说明:对Rs和Rd的规定:Rs或Rd选定的寄存器00R001R110R211R3五.所有机器指令的微程序流程图第4页第5页设计操作控制器单元(即微程序控制器)(1)设计微指令格式和微指令代码表CISC模型机系统使用的微指令采用全水平型微指令,字长为25位,其中微命令字段为17位,P字段为2位,后继微地址为6位,其格式如下:252423222120191817161514131211109876543210LOADLDPCLDARLDIRLDRiRD_BRS_BS2S1S0ALU_BSW_BLED_BRD_DCS_DRAM_BCS_IADDR_BP1P2后继微地址由微指令格式和微程序流程图编写的微指令代码表如下所示,在微指令的代码表中微命令字段从左边到右代表的微命令信号依次为:LOADLDPCLDARLDIRLDRiRD_BRS_BS2S1S0ALU_BSW_BLED_BRD_DCS_DRAM_BCS_IADDR_B微地址微命令字段P1P2后继微地址00110100100011111101100000100110001010001111111000000000021000111010011111110000000103100001100111111111000000000410000010001101111101000011第5页PC→ABUS(I)RDROMIBUS→IRPC+1Rd→YY+1→Rd锁存CF,ZFRs→XRd→Y锁存CF,ZFSW→RdROM→BUSBUS→PCRs→X-X→Rs锁存CF,ZFRs→LEDIR(A)→PCIR(I)→RdP(1)P(2)000002030405O6070900012010CF=0ZF=0CF=1ZF=1INCCMPJNSIN1JMPNOTOUT1000000000000MOV00MOV1Rs→XX→Rd08000000第6页051000101000101111110000010006010000100011111110001000000710001111000111111100000000081000101101011111110001001009100000000011011111000101001001000010001111111000000000(2)设计地址转移逻辑电路地址转移逻辑电路是根据微程序流程图3-2中的棱形框部分及多个分支微地址,利用微地址寄存器的异步置“1”端,实现微地址的多路转移。由于微地址寄存器中的触发器异步置“1”端低电平有效,与µA4~µA0对应的异步置“1”控制信号SE5~SE1的逻辑表达式为:(µA5的异步置“1”端SE6实际未使用)SE5=FS·P(2)·T4SE4=I7·P(1)·T4SE3=I6·P(1)·T4SE2=I5·P(1)·T4SE1=I4·P(1)·T4六.嵌入式CISC模型计算机的顶层电路图第6页第7页CROM:第7页第8页AA;第8页第9页七.汇编代码:MOVR0,00H功能:将0赋给R0MOVR1,FFH将FF赋给R1第9页第10页MOVR2,05H将05赋给R2L0:INCR0计数加1CMPR0,R2R0与R2比较,是否输入五个数JNSL3是跳转L2输出IN1R3输入一个数到R3CMPR3,R1R3和R1比较,锁存CF,ZFJNSL2跳转L2输出JMPL1跳...

1、当您付费下载文档后,您只拥有了使用权限,并不意味着购买了版权,文档只能用于自身使用,不得用于其他商业用途(如 [转卖]进行直接盈利或[编辑后售卖]进行间接盈利)。
2、本站所有内容均由合作方或网友上传,本站不对文档的完整性、权威性及其观点立场正确性做任何保证或承诺!文档内容仅供研究参考,付费前请自行鉴别。
3、如文档内容存在违规,或者侵犯商业秘密、侵犯著作权等,请点击“违规举报”。

碎片内容

计算机组成原理课程设计(桂林电子科技大学)

您可能关注的文档

确认删除?
VIP
微信客服
  • 扫码咨询
会员Q群
  • 会员专属群点击这里加入QQ群
客服邮箱
回到顶部