电脑桌面
添加小米粒文库到电脑桌面
安装后可以在桌面快捷访问

劳动合同管理与劳动纠纷处理流程VIP免费

劳动合同管理与劳动纠纷处理流程_第1页
1/2
劳动合同管理与劳动纠纷处理流程_第2页
2/2
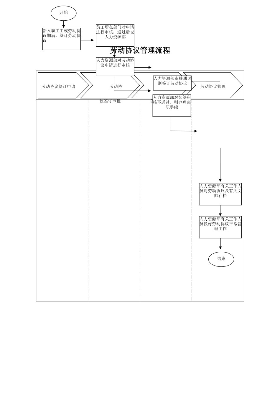
劳动协议管理流程劳动协议签订申请劳动协议签订审批劳动协议签订或离职劳动协议管理开始新入职工工或劳动协议期满,签订劳动协议员工所在部门对申请进行审核,通过后交人力资源部人力资源部对劳动协议申请进行审核人力资源部审核通过则签订劳动协议人力资源部对续签审核不通过,则办理离职手续人力资源部有关工作人员对劳动协议及有关文献存档人力资源部有关工作人员做好劳动协议平常管理工作结束劳动纠纷处理流程纠纷状况理解纠纷状况调查纠纷处理开始人力资源管理人员对劳动纠纷进行协调并理解状况人力资源管理人员对劳动纠纷调解无效,由企业内部调解委员会进行实地理解状况调解委员会对发生纠纷的双方调查取证,并进行深入分析、研究调解委员会通过研究,给出详细的处理意见纠纷双方如对处理成果不满意可以向仲裁机关申请仲裁结束调解委员会将有关资料存档管理

1、当您付费下载文档后,您只拥有了使用权限,并不意味着购买了版权,文档只能用于自身使用,不得用于其他商业用途(如 [转卖]进行直接盈利或[编辑后售卖]进行间接盈利)。
2、本站所有内容均由合作方或网友上传,本站不对文档的完整性、权威性及其观点立场正确性做任何保证或承诺!文档内容仅供研究参考,付费前请自行鉴别。
3、如文档内容存在违规,或者侵犯商业秘密、侵犯著作权等,请点击“违规举报”。

碎片内容

劳动合同管理与劳动纠纷处理流程

您可能关注的文档

静心书店+ 关注
实名认证
内容提供者

专注于各类考试试卷和真题。

确认删除?
VIP
微信客服
  • 扫码咨询
会员Q群
  • 会员专属群点击这里加入QQ群
客服邮箱
回到顶部