电脑桌面
添加小米粒文库到电脑桌面
安装后可以在桌面快捷访问

物料编码规范VIP免费

物料编码规范_第1页
1/13
物料编码规范_第2页
2/13
物料编码规范_第3页
3/13
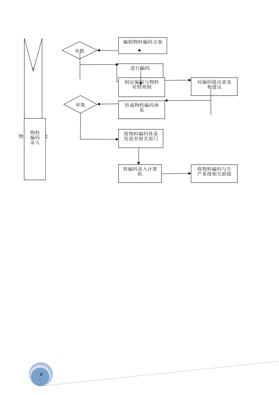
-8-HC珠海市思卡净化技术有限公司规范文件HC计字(2012)第006号-I物料编码规范2012-06-04发布2012-06-04实施珠海市思卡净化技术有限公司发布前言本物料编码规范的编制依据珠海市思卡净化技术有限公司的组织结构和运行机制,为满足规范化管理需求制定并提出。本物料编码规范由珠海市思卡净化技术有限公司计统部提出。本物料编码规范由珠海市思卡净化技术有限公司计统部归口。本物料编码规范由珠海市思卡净化技术有限公司计统部负责起草。本物料编码规范主要起草人:本物料编码规范审核人:本物料编码规范批准人:-8-物料编码流程物料编码准备工作决定进行物料编码组织相关人员成立编码小组将物料种类进行分类整理上报现有物料的所有种类及型号确定物料大类和编码原则、规则-8-物料物料编码审批物料编码录入将编码录入计算机将物料编码与生产系统相互联接对编码提出意见和建议编制物料编码方案进行编码制定编码与物料对照明细形成物料编码体系将物料编码体系发放至相关部门审批审批-8-1.目的物料是企业的一种有形财务,是指为了产品销售出厂(库)需要列入计划、控制库存、控制成本的一切不可缺少的物的统称,即是指从原材料、半成品到产成品的所有项目。物料的内容包括基本资料、财务资料、库存资料等。物料编码就是对这些需要管理的物料分配一个代码以便识别、记录、统计等。2.编码要求2.1不采用有意义编码:零部件图纸代号或一些规格、尺寸等属性不直接反映于编码中,须兼顾到「分类性」、「顺序性」、「弹性」及「唯一性」等编码原则。2.2编码须反应分类:在打印报表时,同类的数据才会被汇总于一处,将方便被比较或汇总.分类的一般原则是大分类号、中分类号、小分类号,依序排列。例如编码时,可以第一位码表示大分类,第二位码表示中分类,第四位码表示小分类,之后则确定多少位码的流水号即可。2.3编码之目的在求简化,如此,可以节省阅读、抄写、输入的作业时间,增加数据处理之效率。另外,由于编码简短,在处理的过程中出错的机率也能够因而降低。2.4避免使用特殊符号:不在编码中使用「-」「*」「.」「/」…等特殊符号,因为这些符号之使用将影响输入之效率﹐而在口述编码时亦会造成不便。2.5编码长度须一致:编码长度一致可使阅读或输入时一眼即可发现异常错误。再者﹐一致的长度在我们附加检查号码时也将方便许多。2.6编码须反应顺序:排序是计算机强大功能之一,资料在打印或查询时通常会依资料编码的大小顺序由小到大(或由大到小)排列。2.7变动属性不纳入编码:有些资料的某项属性如果在未来有可能发生变动,则绝不可将该属性纳入编码中。否则,一旦发生变动时,是否要修改编码将会成为十分困扰的抉择。2.8编码须有防错功能:当编码位数愈长时﹐我们在阅览、口述、书写及输入一串阿拉伯数字构成的编码时﹐发生错误、漏字、次序颠倒、重复等错误的机率就愈为频繁。有时这种错误会导致资料张冠李戴之严重后果。3.适用范围适用于公司所有物料的编码作业(研发中心零部件图纸代号编制除外)。4.物料类型定义4.1原材料:直接用于生产的主要外购材料且有固定的定额,没有经过本公司深加工、没有附加值的材料。例如铝型材、钢板、螺钉标准件、电子元器件等。4.2半成品:所有本公司自制和委外加工的零部件为半成品。4.3成品:已完成全部生产过程、按规定标准检验合格、可供销售的产品。5.职责5.1研发中心负责规范本公司所有物料(原材料/半成品/产成品)的名称及描述。物料描述应先描述物料主要属性,后描述物料次要属性,基本顺序是物料名称/型号或规格/尺寸/材料/颜色或表面处理/特殊要求。5.2计划统筹部负责本公司所有物料(含新增)的物料编码。6.编码原则6.1编码原则概述信息化必须代码化,对物料进行编码,保证每个物料必须有且只有一个物料编码。一旦对物料编码后即不能对编码进行更改,如需废止,只能“停用”状态,不能删除,以满足追溯性。6.2规则介绍XXXXXXXXX第一段大类别号,用一位英文字母表示(A表示原材料,B表示半成品,C表示成品)第三段小类别号,用一位阿拉伯数字表示(1-9)第五段零部件分类别号,用二位阿拉伯数字表示(00-99)第二段中类别号,用一...

1、当您付费下载文档后,您只拥有了使用权限,并不意味着购买了版权,文档只能用于自身使用,不得用于其他商业用途(如 [转卖]进行直接盈利或[编辑后售卖]进行间接盈利)。
2、本站所有内容均由合作方或网友上传,本站不对文档的完整性、权威性及其观点立场正确性做任何保证或承诺!文档内容仅供研究参考,付费前请自行鉴别。
3、如文档内容存在违规,或者侵犯商业秘密、侵犯著作权等,请点击“违规举报”。

碎片内容

物料编码规范

您可能关注的文档

确认删除?
VIP
微信客服
  • 扫码咨询
会员Q群
  • 会员专属群点击这里加入QQ群
客服邮箱
回到顶部