电脑桌面
添加小米粒文库到电脑桌面
安装后可以在桌面快捷访问

项目信息管理流程VIP免费

项目信息管理流程_第1页
1/17
项目信息管理流程_第2页
2/17
项目信息管理流程_第3页
3/17
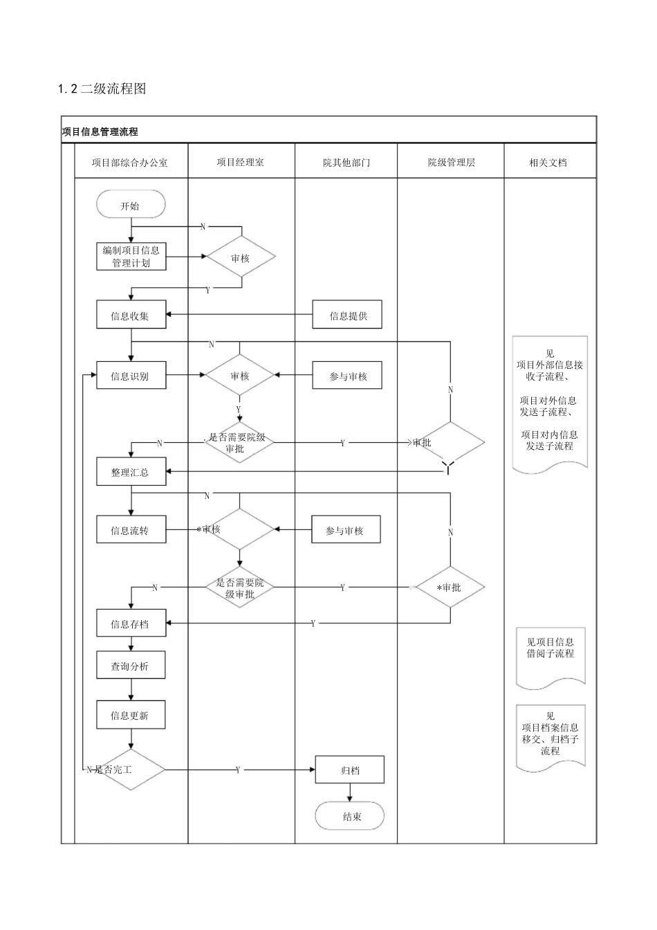
项目信息管理1项目信息管理1.1流程说明编写部门信息处部门编号流程编码主责部门总承包项目实施部门配合部门详见流程中的责任部门主责岗位使用范围适用于院总承包项目相关的主责部门和配合部门关联制度《总承包项目信息管理规定》、《总承包项目信息沟通管理计划管理办法》、《总承包项目外部信息沟通管理办法》、《总承包项目内部信息沟通管理办法》《总承包项目文件编号管理办法》《总承包项目档案管理规定》、《总承包项目现场档案管理办法》《总承包项目文件资料管理办法》、《总承包项目电子档案管理办法》《总承包项目项目档案竣工移交管理办法》流程简介项目信息管理的关键步骤、内容和要求,分为一个二级流程和五个三级流程。输出文档《收文记录联系单》《发文记录联系单》《项目文件借阅单》《会议纪要》《项目部工程联系单》、《移交清单》编制审核批准版本制定(修订)原因发布时间编制部门编制人1.2二级流程图NYNNYNY丫NNNYYY见项目档案信息移交、归档子流程.是否需要院级审批*审批*审核-N是否完工结束审核>审批项目信息管理流程项目部综合办公室项目经理室院其他部门院级管理层相关文档开始信息收集信息提供信息识别参与审核整理汇总信息流转参与审核信息存档查询分析信息更新归档项目对外信息发送子流程、项目对内信息发送子流程编制项目信息管理计划见项目信息借阅子流程见项目外部信息接收子流程、1.3三级流程图1.3.1项目外部信息接收子流程1.3.2项目对外信息发送子流程1.3.3项目对内信息发送子流程1.3.4项目信息借阅子流程1.3.5项目档案信息移交、归档子流程1.4流程描述序号流程步骤责任部门流程步骤描述输出文档相关制度项目信息管理流程1编制项目信息计划项目部综合办公室项目经理组织项目部综合办公室编写项目信息计划。《项目信息管理制度》2审核项目经理室项目信息计划编写完成后呈交项目经理审核。3信息提供其他部门项目其他部室将信息提供给项目部综合办公室,由项目部综合办公室统一收集。4信息收集项目部综合办公室在工程建设过程中形成的各种信息资料,包括来往文件、信函、会议纪要、委托书、标书、合同、协议、保函、设计文件、设计图纸、施工文件、现场记录等,统一收5信息识别项目部综合办公室项目部综合办公室对信息进行分析,判断信息的全面性、准确性、有效性和安全性,将信息报告给项目相关人员审批。6审核项目经理室项目经理室相关人员审批完成后安排人员实施或者根据信息的重要性、安全性,选择是否还需要其他部门人员进行会签。7参与审核其他部门参与会签。8是否需要院级审批项目经理室项目经理判断是否需要院级审批。9审批院级管理层院领导对重要信息进行审批,批准后项目相关人员实施。10整理汇总项目部综合办公室项目部综合办公室整理已经批复完成的信息,将信息归类整理。11信息流转项目部综合办公室根据领导批复,通知相关人员,如需要外发则将外发文件发给项目相关责任人审批。12审核项目经理室项目经理室相关人员审批完成后安排人员实施或者根据信息的重要性、安全性,选择其他部门审批人13参与审核其他部门部门收到信息后,安排人员实施或者根据安全性、重要性选择院级审批人员。14是否需要院级项目经理室项目经理判断是否需要院级审批。序号流程步骤责任部门流程步骤描述输出文档相关制度审批15审批院级管理层院领导对重要信息进行审批,批准后项目相关人员实施。16信息存档项目部综合办公室将信息备份,并将原件保存入库。17查询分析项目部综合办公室信息存档后,如需借阅、查阅,需要相关流程。18信息更新项目部综合办公室为了保证信息的及时、准确、有效,相关责任人需要对相关信息进行及时更新。19是否最终版项目部综合办公室信息更新时判断工程是否是最终版。20归档档案接收部门或者单位项目部综合办公室在工程完工后,整理工程资料,在档案出版处的协助下,将有效信息整理成档案,交由业主签字后将档案父给相关部门项目外部信息接收子流程1接收确认有效性项目部综合办公室接收到的外部信息由项目部综合办公室接收并确认其有效性,进行编码。《来文登记表》《项目信息管理制度》2整理信息项目部综合办公室项目部综合办公室根据...

1、当您付费下载文档后,您只拥有了使用权限,并不意味着购买了版权,文档只能用于自身使用,不得用于其他商业用途(如 [转卖]进行直接盈利或[编辑后售卖]进行间接盈利)。
2、本站所有内容均由合作方或网友上传,本站不对文档的完整性、权威性及其观点立场正确性做任何保证或承诺!文档内容仅供研究参考,付费前请自行鉴别。
3、如文档内容存在违规,或者侵犯商业秘密、侵犯著作权等,请点击“违规举报”。

碎片内容

项目信息管理流程

wxg+ 关注
实名认证
内容提供者

该用户很懒,什么也没介绍

确认删除?
VIP
微信客服
  • 扫码咨询
会员Q群
  • 会员专属群点击这里加入QQ群
客服邮箱
回到顶部