电脑桌面
添加小米粒文库到电脑桌面
安装后可以在桌面快捷访问

供应商管理制度VIP免费

供应商管理制度_第1页
1/6
供应商管理制度_第2页
2/6
供应商管理制度_第3页
3/6
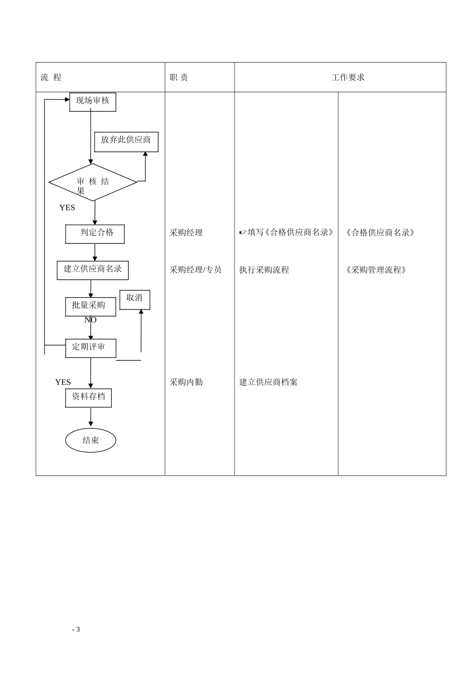
供应商评审流程一、具备下列条件的,可以取得本公司的供应商预审资格:1.具有法人资格并具有独立承担民事责任的能力;(采购金额5000元以下可市内采购)2.遵守国家法律、行政法规,具有良好的信誉;3.具有履行合同的能力和良好的履行合同的记录;4.具有一定水平的管理和质量管理体系.二、需取得供应商资格者,应当向本公司采购部提供下列资料:1.《供应商资料表》2.企业营业执照副本(复印件)、税务登记证副本(复印件)三、采购人员根据所得到的资料如实地对供货商进行评审,并填写《供应商审核表》。经审核后,合格的供货商经我司管理层批准后,具有我司供应商资格。经审核不合格的供货商,限期整改后复审。复审合格后并经批准后,具有我司供应商备选资格。四、供应商应根据我司采购部门要求生产样品并提供质检单。样品由我司质检人员确认合格后,采购部将信息反馈给供货商。五、新供应商的价格要经过评审,合格后才能采购,新供应商的价格要与同类产品的生产厂家价格和质量进行比较,低于同类产品的价格质量又合格的情况下可以直接采用,高于同类的价格的最高不允许超过10%。特殊情况下要经过总经理批示过才可以特殊采用。六、经审核后,并经批准为合格的供应商后,具有我公司供应商资格。七、采购部对供应商,每半年进行一次资格审核(包括质量、交货期、服务、质量管理体系),不符合条件的将取消其供应商资格。八、供应商工商变更、注销,应书面报告公司管理层。经批准后,采购部办理有关供应商的资格变更或注销手续。九、供应商有下列行为之一的,我司可根据情节轻重,给予警告或禁止在2年内进入我司采购市场;给公司采购或其他供应商造成损失的,必须承担赔偿责任。虚作假、隐瞒真实情况骗取采购供应商资格的;价格确认后无正当理由不与公司签订采购合同的;自行变更或者终止采购供货合同的;向采购部门行贿或者提供其他不正当利益的;其它违反法律、法规和规章的。上述行为构成犯罪的,将移交由司法机关追究其刑事责任。供应商管理流程图1.目的:有效的管理供应商。2.适用范围:适用于所有供应商。-13.操作流程/职责和工作要求流程职责工作要求NOYESNOYES采购经理/专员采购经理/专员采购经理/专员各供应商采购经理/专员总经理采购内勤供应商、质检人员?采购员收集供应商信息?跟据《供应商管理流程》?寻找3家以上供应商进行报价。?供应商提供《报价表》?对各供应商所报价格进行比较,选定一个最佳性价比供应商,填写《报价分析表》。?总经理根据《报价分析表》进行价格审核后,转给财务部。?建立供应商价格表。?质检后反馈结果给供应商。《供应商能力调查表》相关文件《询价表》《价格表》《样品检验单》流程职责工作要求-2开始供应商资料收集价格审核初选询价/议价样品验证价格比较价格备案厂商报价流程职责工作要求NOYESNOYES采购经理采购经理/专员采购内勤?填写《合格供应商名录》执行采购流程建立供应商档案《合格供应商名录》《采购管理流程》-3审核结果现场审核批量采购定期评审资料存档结束建立供应商名录判定合格取消放弃此供应商附表一供方评定表编号:序号:供方名称地址电话/传真联系人采购的产品:质量保证能力(包括营业执照、体系、设备、人员、检测能力):进货检验结果:信誉及售后服务:评定结论(是否列入合格供方名录)主管:日期:年度业绩复评记录:-4年度是否继续列入合格供方名录批准时间供应商能力调查表一、企业基本信息企业名称注册所在地建厂日期企业地址:企业性质(划对号):民营/私营企业□;合资企业□(合资方/合资比例:)国有企业□;其它□企业主要产品及市场企业总投资年营业额公司从业人员情况:总数管理人员技术人员工人其它设计人员工艺人员品质人员法人代表;手机;销售负责人:;电话:技术负责人:;电话:品质负责人:;电话:网址:;邮编:二、企业生产情况a.工厂总占地面积:工厂占地面积:b.有几班人员配置:现为几班制:现有生产能力:设计生产能力:c.产品情况主要优势产品及产能情况(请说明规格范围及优势要点)1.2.这些产品主要的市场方向或合作企业4.质量体系、专利■是否通过质量管理体系三方认证?是□否□请...

1、当您付费下载文档后,您只拥有了使用权限,并不意味着购买了版权,文档只能用于自身使用,不得用于其他商业用途(如 [转卖]进行直接盈利或[编辑后售卖]进行间接盈利)。
2、本站所有内容均由合作方或网友上传,本站不对文档的完整性、权威性及其观点立场正确性做任何保证或承诺!文档内容仅供研究参考,付费前请自行鉴别。
3、如文档内容存在违规,或者侵犯商业秘密、侵犯著作权等,请点击“违规举报”。

碎片内容

供应商管理制度

您可能关注的文档

确认删除?
VIP
微信客服
  • 扫码咨询
会员Q群
  • 会员专属群点击这里加入QQ群
客服邮箱
回到顶部