电脑桌面
添加小米粒文库到电脑桌面
安装后可以在桌面快捷访问

仪表板设计指导书VIP免费

仪表板设计指导书_第1页
1/32
仪表板设计指导书_第2页
2/32
仪表板设计指导书_第3页
3/32
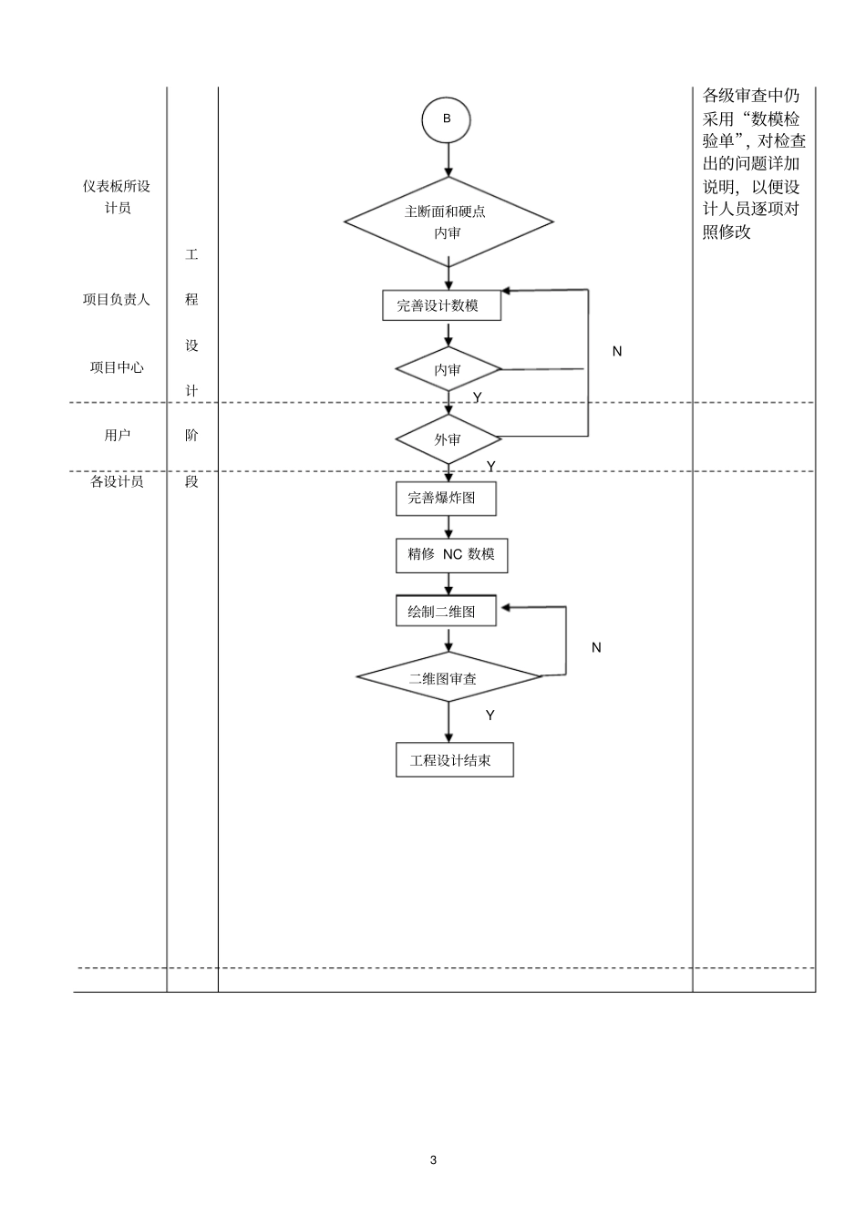
1汽车车身仪表板设计作业指导书21.仪表板件设计流程部门阶段设计工作流程说明工程院车身分院汽车仪表板研究所:项目负责人项目设计员项目经理组件设计员光顺研究所数字化研究所项目设计员工艺研究所概念设计阶段工程设计阶段项目启动通知书根据设计任务书要求,充分观察样车的造型风格和结构特点。确定沿用件和新设计件.根据总成爆炸图编制组件,确定组件设计员。检查结构的合理性:无干涉;与相关零部件配合正确性;零件结构的可加工性.A项目启动调研准备分析设计任务书的具体要求拆车、测量、点云图校核熟悉造型效果图分析和拍摄样车仪表板的结构特点测量油泥模型的相关尺寸初定沿用件、改制件、新设计件明细表绘制爆炸图(总成)、缝隙图、过渡圆角图绘制总成明细表编制组件产品描述表仪表板外表面光顺及分块B检查光顺质量、硬点、分块缝隙、法规符合性N详细结构设计结构工艺检查NY绘制主断面确定设计硬点编制分组件明细表3主断面和硬点内审仪表板所设计员项目负责人项目中心用户各设计员工程设计阶段各级审查中仍采用“数模检验单”,对检查出的问题详加说明,以便设计人员逐项对照修改完善设计数模B内审N完善爆炸图精修NC数模绘制二维图工程设计结束NYYY外审二维图审查42。仪表板件设计的基本要求2.1)仪表板件应执行国家标准和企业标准。2。2)仪表板件应满足技术协议中相关要求。2。3)仪表板设计应符合造型设计的要求和效果。2.4)仪表板设计应符合总布置方案和结构尺寸应满足设计硬点要求。2.5)仪表板设计应满足人机工程等要求,提高舒适性。2.6)在对样车充分了解的基础上,制定沿用件、新件和改制件.2。7)产品设计中尽量采用系列化、标准化、通用化。尽量采用标准件、通用件;各种设计数据尺寸应准确无误。2.8)产品设计中应考虑到加工、装配、安装调试、维修的方便性和经济性.2.9)表面光顺质量:高可见区,A级曲面,局部相切连续。少可见区,B级曲面,相切连续.不可见区,C级曲面,位置连续。2.10)逆向工程中测绘的孔径及位置尺寸要圆整,公差和形位公差标注正确。完整3D数模应有公差数据表。3.检查分析3。1)提交仪表板设计的光顺数模要准确反映出样件或油泥模型上的a)各个特征的形状,大小,位置和方位。b)各特征之间过渡曲面的形状和走向。c)各特征的丰满度及其变化规律。d)各开缝线的走向及其与附近特征的相对位置关系。如发现所提交的光顺数模不符合以上要求,甚至有遗漏特征、风格变化等严重问题,应退回光顺所返工.3.2)仪表板设计首先检查分析仪表板外表面光顺是否符合光顺要求。3.3)注塑、压型零件根据光顺的仪表板外表面特点和边界条件确定拔模方向,以作为以后结构设计的依据。发现有难出模的局部特征,应退回光顺所修改光顺数模。4。设计要点54.1)仪表板边缘要光顺,与其他件间隙要均匀。4。2)孔径形状及位置尺寸要圆整,孔径符合标准化,系列化.4。3)产品设计中尽量做到系列化和通用化,尽量采用标准件,通用件。4.4)各种设计数据尺寸应准确无误,结构强度可靠,安装稳定牢固.4。5)设计过程中应尽量借用其它车型的成熟附件和结构,以降低本车的设计成本。4.6)仪表板设计应充分考虑制造工艺可行性,装配工艺可行性,维修的可行性,经济性和方便性。注塑、吸塑、压型零件应合理选择拔模方向.5。上表皮部分设计设计过程:第一步:熟悉效果图,领会造型师设计意图和造型风格。分析各部分安装结构及实现的可能性.如结构不能实现或有疑问,则立即反馈给造型师,让造型师修改造型或作出解释。图1效果图第二步:熟悉油泥模型、熟悉参考样车零件,注意其安装形式、壁厚以及与边界的搭接关系。第三步:确定结构分块及固定方式、确定主断面、硬点硬点:仪表板下骨架,分块线A柱护板、前风挡玻璃,门框密封条、前风窗6下横梁,管梁,方向管柱,组合仪表及组合仪表罩,各种电器,空调系统,仪表板装饰条等所需安装点及面第四步:确定材料、料厚、成形方式、拔模方向、安装结构.材料;一般为PVC、PE等,料厚:2.5-3mm,第五步第五步:检查。断面检查、硬点检查、工艺检查,并填写数模检验单、断面检查表、硬点检查表。修改完善后提交专家审查。设计要求:产品的总体结构,主要性...

1、当您付费下载文档后,您只拥有了使用权限,并不意味着购买了版权,文档只能用于自身使用,不得用于其他商业用途(如 [转卖]进行直接盈利或[编辑后售卖]进行间接盈利)。
2、本站所有内容均由合作方或网友上传,本站不对文档的完整性、权威性及其观点立场正确性做任何保证或承诺!文档内容仅供研究参考,付费前请自行鉴别。
3、如文档内容存在违规,或者侵犯商业秘密、侵犯著作权等,请点击“违规举报”。

碎片内容

仪表板设计指导书

确认删除?
VIP
微信客服
  • 扫码咨询
会员Q群
  • 会员专属群点击这里加入QQ群
客服邮箱
回到顶部