电脑桌面
添加小米粒文库到电脑桌面
安装后可以在桌面快捷访问

2025年外贸业务流程图VIP免费

2025年外贸业务流程图_第1页
1/2
2025年外贸业务流程图_第2页
2/2
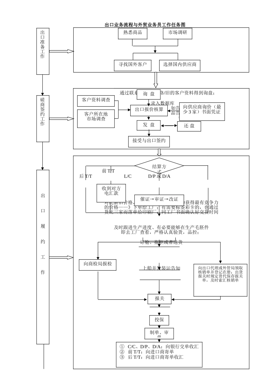
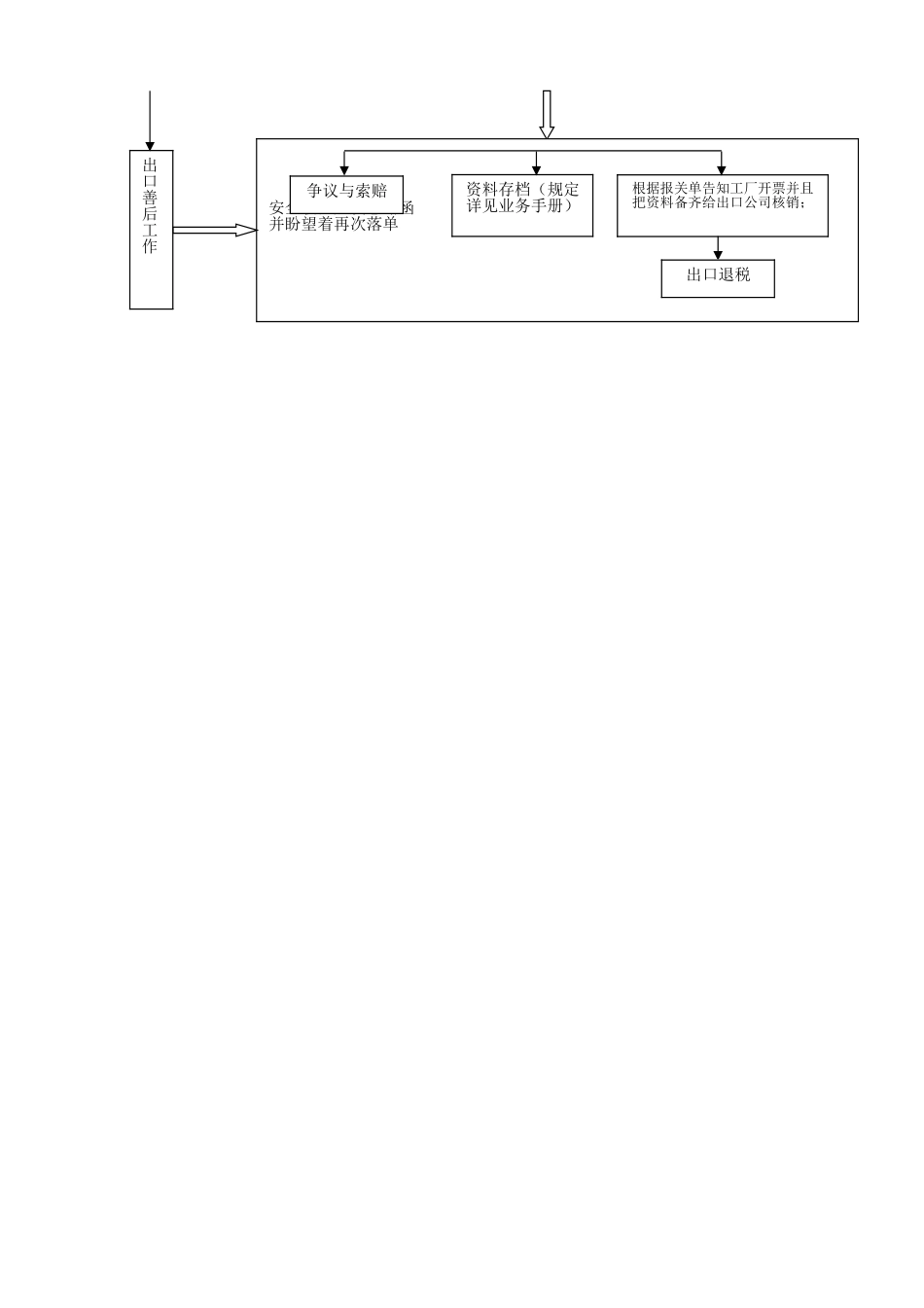
出口业务流程与外贸业务员工作任务图出口准备工作熟悉商品市场调研寻找国外客户选择国内供应商磋商签约工作寻找国外客户通过联系交易会/网络/旧的客户资料得到询盘;录入数据库如告知做样,需发样品告知单(详见业务手册)询盘客户所在地市场调查客户资料调查出口报价核算向供应商询价(最少3家)书面凭证接受与出口签约发盘还盘出口履约工作前T/T后T/TL/CD/P或D/A对比新旧价格,和工厂磋商价格,努力获得最有竞争力的价格——》下单给工厂;有需要标签彩卡的,也通过货比三家而落单给印刷厂;同工厂书面确认好交货时间及时跟进生产进度、有必要能够在生产毛胚件即去工厂查看,严格认真验货,品控;订舱、拖柜或者送货上船并发装运告知结算方式收到对方电汇款催证→审证→改证向商检局报检报关向出口代理或外管局领取核销单并登记在册;出货报关时规定货代保存报关单,及时索汇核销单投保制单、审单①C/C、D/P、D/A:向银行交单收汇②前T/T:向进口商寄单③后T/T:向进口商寄单收汇安全收汇后发感谢函并盼望着再次落单出口善后工作争议与索赔资料存档(规定详见业务手册)根据报关单告知工厂开票并且把资料备齐给出口公司核销;出口退税

1、当您付费下载文档后,您只拥有了使用权限,并不意味着购买了版权,文档只能用于自身使用,不得用于其他商业用途(如 [转卖]进行直接盈利或[编辑后售卖]进行间接盈利)。
2、本站所有内容均由合作方或网友上传,本站不对文档的完整性、权威性及其观点立场正确性做任何保证或承诺!文档内容仅供研究参考,付费前请自行鉴别。
3、如文档内容存在违规,或者侵犯商业秘密、侵犯著作权等,请点击“违规举报”。

碎片内容

2025年外贸业务流程图

您可能关注的文档

静心书店+ 关注
实名认证
内容提供者

专注于各类考试试卷和真题。

确认删除?
VIP
微信客服
  • 扫码咨询
会员Q群
  • 会员专属群点击这里加入QQ群
客服邮箱
回到顶部