电脑桌面
添加小米粒文库到电脑桌面
安装后可以在桌面快捷访问

手术室应急预案处理流程图VIP免费

手术室应急预案处理流程图_第1页
1/23
手术室应急预案处理流程图_第2页
2/23
手术室应急预案处理流程图_第3页
3/23
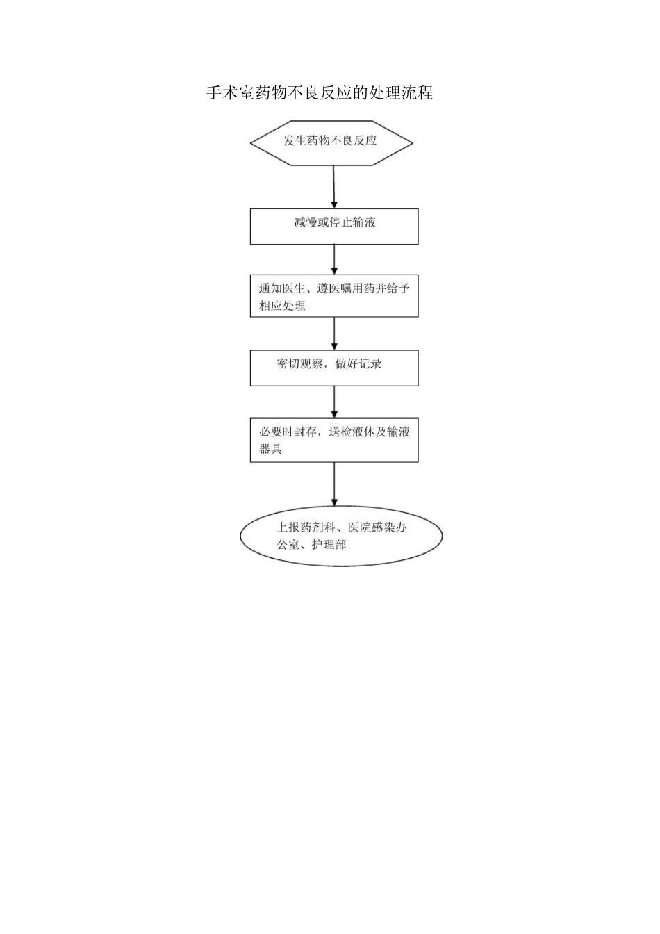
及时记患者呼吸心跳骤停立即抢胸外按压、人工抢救药物的使呼叫其它医务人员帮助抢救密切观察病情气管插建立静脉通路为患者保暖手术患者药物引起过敏性休克的处理流程手术室药物不良反应的处理流程手术患者用药错误的处理流程手术患者输液反应的处理流程通知医生按反应类型及处理程度1r1rir发热反应循环负何过重空气栓塞静脉炎1 F1!1!1!减慢输液速度物理降温抗过敏治疗减慢输液速度端坐位,高流量吸氧必要时遵医嘱用药减慢输液速度取头低足咼左侧卧位高流量吸氧,对症处理更换输液部位患肢抬高制动局部处理手术患者输液反应的处理流程过敏反发热反溶血反严密观察病情变化,做好记录保留余血送检,必要时封存血液通知医生、检验科按反应类型及程序处理减慢输血速度抗过敏、抗休克治疗必要时气管切开及减慢输血速度物理降温抗过敏治疗停止输血升压药、碱化尿液双侧腰部封存及热敷抗休克发生输血反上报医务手术患者输液反应的处理流程术中发生物品清点误差的处理流程手术结束暂停手术再次查找拍 X 线片或其他检查清点用物\记录数据手术者在护理记录单上签字,巡回护士在记录单上注明查找的经过再次确认物品不再伤口内,关闭伤口出现误差,及时上报手术医生手术结束检查无效检查有效关闭伤口关闭伤口手术结束查找有效查找无效手术标本管理流程手术患者手术中大出血时的处理流程作好记录手术室中心负压吸引装置出现故障的处理流程手术室中心吸氧装置出现故障的处理流程通知检查,维修中心吸氧装\\置故障无氧气枕或氧气筒时需辅助呼吸的病人采用呼吸囊进行人工呼吸观察患者缺氧症状,改善及病情变化,并记录调节氧流量,吸氧安慰患者,做好解释工作报告麻醉师,手术医生,护士长局麻或小手术病人全麻或大手术重病人氧气筒供氧氧气枕供氧术中仪器设备突发故障处理流程术中医护人员发生针刺伤时的处理流程医务人发生针登记上报随访被乙肝,丙肝阳性患者血液,体液污染的锐器刺伤在 24h 内去检验科抽血查乙肝,丙肝抗体被 HIV 阳性患者血液,体液污染的锐器刺伤抽查患者血液上报医院感染办公室,按相关程序处理在 24h 内去检验科抽血查HIV 抗体抽查患者血液在流动水下冲洗至少 5min立即挤出伤口血液注射乙肝免疫球蛋白按要求注射乙肝疫苗预防性服药碘酒和酒精消毒按要求复查外科伤口处理批量伤员处理流程患者跌做好通知医检查伤情,做相应处理必要时检查继续观察,严格交接报告上报护理部或院总值班与家属沟察看,安慰患采取保护措手术患者发生坠床...

1、当您付费下载文档后,您只拥有了使用权限,并不意味着购买了版权,文档只能用于自身使用,不得用于其他商业用途(如 [转卖]进行直接盈利或[编辑后售卖]进行间接盈利)。
2、本站所有内容均由合作方或网友上传,本站不对文档的完整性、权威性及其观点立场正确性做任何保证或承诺!文档内容仅供研究参考,付费前请自行鉴别。
3、如文档内容存在违规,或者侵犯商业秘密、侵犯著作权等,请点击“违规举报”。

碎片内容

手术室应急预案处理流程图

您可能关注的文档

确认删除?
VIP
微信客服
  • 扫码咨询
会员Q群
  • 会员专属群点击这里加入QQ群
客服邮箱
回到顶部