电脑桌面
添加小米粒文库到电脑桌面
安装后可以在桌面快捷访问

OA行政模块流程设计方案VIP免费

OA行政模块流程设计方案_第1页
1/26
OA行政模块流程设计方案_第2页
2/26
OA行政模块流程设计方案_第3页
3/26
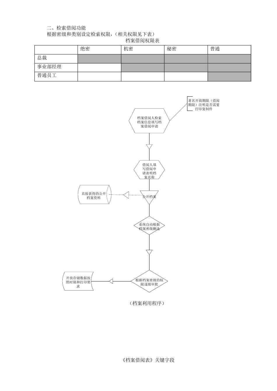
OA 行政模块流程设计方案 一、档案管理 1、具备报表和表单功能。 2、有详细的控制权限。 3、明确的工作流程和准确的表格设计。 4、增设电子图章、电子签名系统 5、档案上传表单项不够丰富,上传完毕后按照时间顺序自动存档 档案管理的流程: (一)档案类别: 按性质分类: 1、外来外文件材料(WL)2、资质、资信类(ZX)3、公司管理类文件(GL)4、人力资源类(HR)5、财务、审计类(cw)6、经营类(jy)7、工程基建类(GC)8、技术研发类(JS)9、安全类(AQ)7、电子类文档(DZ)8、其他类(QT) 编号采用:机构年度—性质—件号。复合分类方法 一、文件的归档功能 文 件 审 批 完 毕 后 提 交 或 者 转 存 或 新 建 时 出 现 档 案 基 本 信 息 表 对 话 框 , 提 交 者 填 写 相 关 内 容 , 其 中 档 案 编 号 按 照档 案 库 中 的 时 间 顺 序 自 动 生 成 , 点 击 保 存 , 原 个 人 OA 账 户 中 的 文 件 自 动 删 除 。但保 留该档 案 的 批 示流程。其 他经济合同类型文 件 扫描后 定期上传;具备上传附件 功能。 文件归档表 机构 档案编号 名称 保存期限 密级 成档日期 责 任人 档案状态 档案所 在地 备注 (归档流程图)档案管理员单独权限 档案管理员根据卷内目录表进行准备根据对话框提示填写要素,并将档案已添加附件形式装载对于无电子文档的纸质档案需要扫描仪扫描为图片格式,工程图纸的为cad格式最佳档案数据库 二、检索借阅功能 根据密级和类别设定检索权限,(相关权限见下表) 档案借阅权限表 (档案利用程序) 《档案借阅表》关键字段 绝密 机密 秘密 普通 总裁 事业部经理 普通员工 借阅人填写借阅申请表明档案名称系统自动根据档案密级删选公开档案直接获得的公开档案资料根据档案密级的权限逐级审批档案借阅人检索档案信息填写档案借阅申请著名开放期限(借阅期限)注明是否需要打印复制件开放存储数据按照时限和打印要求 三、档案的销毁流程 档案根据保存期限档案库进行自动提出过期提示,档案管理员对过期档案每季度整理一次,并上报总裁申请档案销毁,总裁批准后,各保管部门管理人员协同监销人员对纸质文档进行销毁。 增设档案管理员为档案管理员设置管理权限对日常档案进行维护(档案管理员可见)。 四、集团档案管理整体流程图 机构 档案编号 名称 保存 期限 密级 成档 日期...

1、当您付费下载文档后,您只拥有了使用权限,并不意味着购买了版权,文档只能用于自身使用,不得用于其他商业用途(如 [转卖]进行直接盈利或[编辑后售卖]进行间接盈利)。
2、本站所有内容均由合作方或网友上传,本站不对文档的完整性、权威性及其观点立场正确性做任何保证或承诺!文档内容仅供研究参考,付费前请自行鉴别。
3、如文档内容存在违规,或者侵犯商业秘密、侵犯著作权等,请点击“违规举报”。

碎片内容

OA行政模块流程设计方案

确认删除?
VIP
微信客服
  • 扫码咨询
会员Q群
  • 会员专属群点击这里加入QQ群
客服邮箱
回到顶部