电脑桌面
添加小米粒文库到电脑桌面
安装后可以在桌面快捷访问

完整版机房重要信息系统应急预案VIP免费

完整版机房重要信息系统应急预案_第1页
1/24
完整版机房重要信息系统应急预案_第2页
2/24
完整版机房重要信息系统应急预案_第3页
3/24
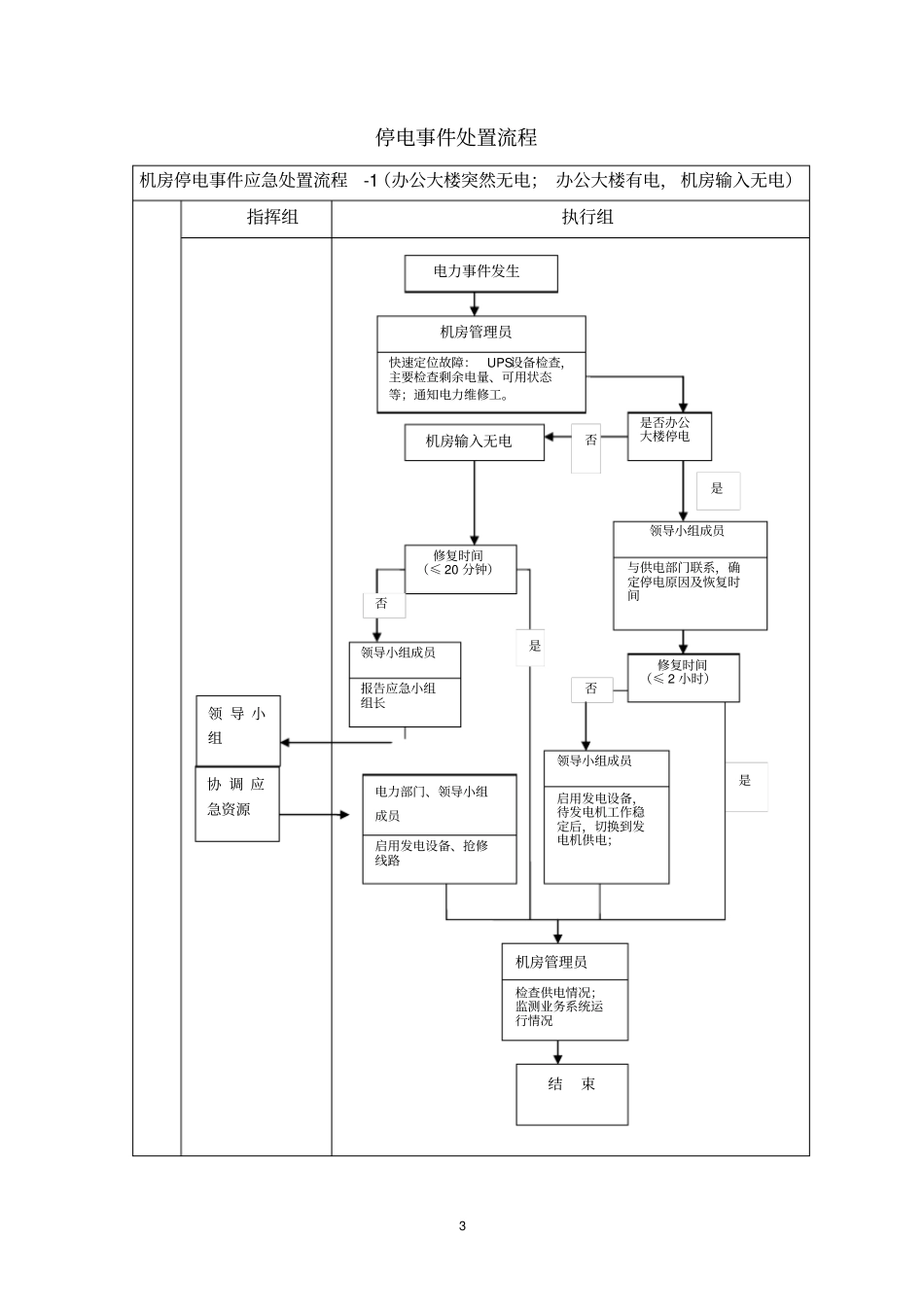
1 XXXXXX计算机机房应急预案一、适用条件1 适用范围本预案适用于XXXXXX 计算机机房发生电力、火灾、空调故障和水浸等突发事件的应急处置工作。1适用场景电力事件:由于机房电力不可用引发的应急事件。以机房为参照物:第一种情况:机房输入无电(大楼突然停电;大楼有电,机房市电输入无电);第二种情况:机房本身供配电故障。火灾事件:机房设施本身产生的火灾以及外部火灾威胁。空调故障:有机房空调故障引发的机房温度升高的应急事件。水浸事件:机房内部遭到水患,影响或破坏机房正常运行。2 二、应急处置流程机房突发事件处置总流程机房突发事件处置总流程指挥组执行组故障处理事件发现机房管理人员事件报告安全领导小组事件分析应急组判断是否为事件否领导小组成员协调相关资源业务应急办法确认事件类型领导小组成员电力、空调、火灾、浸水处置业务部门业务部门业务恢复领导小组处置结束结束是领导小组事件定级并启动应急预案否领导小组处置成功3 停电事件处置流程机房停电事件应急处置流程-1(办公大楼突然无电; 办公大楼有电, 机房输入无电)指挥组执行组电力事件发生机房管理员快速定位故障:UPS设备检查,主要检查剩余电量、可用状态等;通知电力维修工。是否办公大楼停电机房输入无电否是领导小组成员修复时间(≤ 20 分钟)修复时间(≤ 2 小时)与供电部门联系,确定停电原因及恢复时间领导小组成员领导小组成员报告应急小组组长否否是启用发电设备,待发电机工作稳定后,切换到发电机供电;是电力部门、领导小组成员启用发电设备、抢修线路机房管理员检查供电情况;监测业务系统运行情况结束领 导 小组协 调 应急资源4 机房停电事件应急处置流程-2(机房本身供配电故障)指挥组执行组电力事件发生机房管理人员快速定位故障UPS故障配电柜故障机房供电回路故障领导小组成员领导小组成员检查配电柜各开关及线路检 查 故 障 位 置 及 原因,以及受影响业务排除故障领导小组成员断开 UPS 输入空气开关试供电是否正常是否电力维修工、机房供电小组配合检查供电回路故障原因:回路中是否有损坏的设备,是否存在短路,是否有漏电等,针对问题进行处理领导小组成员闭合回路中设备电源开关,试供电,逐台启动设备是领导小组成员闭合 UPS 输入空气开关领导小组成员检查单电源供电设备,临时解决供电问题领导小组成员通知服务商或厂商进行维修UPS 恢复正常运行结束5 火灾事件处置流程机房火灾事件处置流程图指挥...

1、当您付费下载文档后,您只拥有了使用权限,并不意味着购买了版权,文档只能用于自身使用,不得用于其他商业用途(如 [转卖]进行直接盈利或[编辑后售卖]进行间接盈利)。
2、本站所有内容均由合作方或网友上传,本站不对文档的完整性、权威性及其观点立场正确性做任何保证或承诺!文档内容仅供研究参考,付费前请自行鉴别。
3、如文档内容存在违规,或者侵犯商业秘密、侵犯著作权等,请点击“违规举报”。

碎片内容

完整版机房重要信息系统应急预案

您可能关注的文档

确认删除?
VIP
微信客服
  • 扫码咨询
会员Q群
  • 会员专属群点击这里加入QQ群
客服邮箱
回到顶部