电脑桌面
添加小米粒文库到电脑桌面
安装后可以在桌面快捷访问

项目开发和供应商管理流程VIP免费

项目开发和供应商管理流程_第1页
1/9
项目开发和供应商管理流程_第2页
2/9
项目开发和供应商管理流程_第3页
3/9
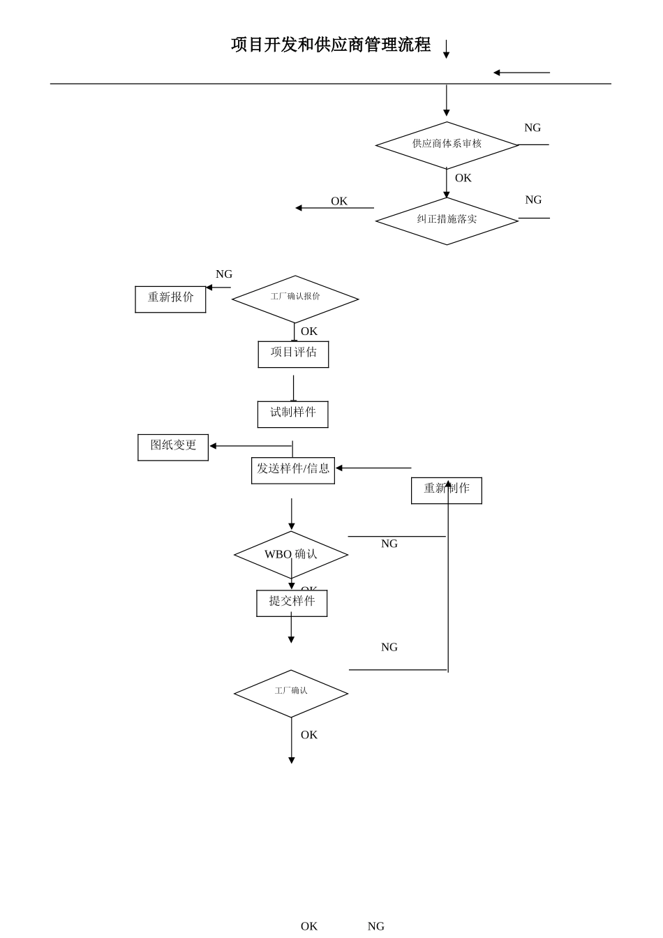
项目开发和供应商管理流程1、目的为了规范相关人员和供应商在项目开发过程中的职责、工作内容和要求,加快项目开发的速度,提高项目的质量和一次通过率,以及促进供应商持续地、稳定地提供合格的产品,特制定本管理流程。本管理流程同时也对供应商的选择、开发和管理中的具体工作;产品发运前的质量控制;各分公司在项目开发过程中的作用进行了相关的描述。2、适用范围本管理流程适用于制动北京的所有的项目开发、产品质量控制和供应商管理。3、流程项目引入SE 确认报价重新报价NGOKNEW图纸归档NGOKNGOLDNG报价确认OK放弃、通知项目评估项目分配供应商类型寻价初始调查与选择项目开发和供应商管理流程WBO 确认OKOK工厂确认重新报价NGOKNG供应商体系审核重新制作纠正措施落实OKOKNGNG工厂确认报价发送样件/信息试制样件项目评估提交样件NGOKNG图纸变更项目开发和供应商管理流程WBO 确认纠正措施纠正措施批量生产小批量确认/发运批量生产定单工厂确认WBO 确认小批量试制NGOKOKNG年度审核供应商年度评价工厂确认产品处理正常批量生产返检/重做批量发运OKOKNGNGNG图纸变更跟踪确认总结继续合作项目开发和供应商管理流程4、程序要求4.1 项目引入4.1.1 采购总监收集图纸、技术和质量要求等,并将项目的相关文件和资料转给采购经理、质量经理和文件负责人。4.1.2 采购工程师从各分公司(简称分公司)收到的类似先前产品的新项目应通知采购总监和采购经理。4.1.3 文件管理员将收到的文件和资料按照分公司和项目进行归类,同时将图纸进行标识,即盖“受控文件”章后存档。4.1.4 采购总监、采购经理和质量经理进行新项目评估,对高风险和低节省金额的项目进行筛选后将可以开展的项目下发给采购工程师。采购总监将不做或暂时不做的项目通知分公司的相关人员。4.2 资源确定4.2.1 采购经理根据项目的生产类型将项目分配给指定的采购工程师。4.2.2 采购工程师与分公司的项目联系人进行交流,收集全部的技术要求、质量要求、要求提交的文件等,最好能得到标准样件或样件照片。4.2.3 向供应商进行寻价,同时发放《保密协议》给新供应商。4.2.4 对供应商的报价进行确认。对没有达到节省金额目标的报价要求供应商进行重新报价,直至符合要求。对找不到合适报价的项目,通知采购经理作为放弃处理。4.2.5 对于新供应商,采购工程师要对其进行考察,并尽量在供应商现场完成《供应商调查表》。采购工程师将已经确认并认为初步可行的供应商的信息通知供应商...

1、当您付费下载文档后,您只拥有了使用权限,并不意味着购买了版权,文档只能用于自身使用,不得用于其他商业用途(如 [转卖]进行直接盈利或[编辑后售卖]进行间接盈利)。
2、本站所有内容均由合作方或网友上传,本站不对文档的完整性、权威性及其观点立场正确性做任何保证或承诺!文档内容仅供研究参考,付费前请自行鉴别。
3、如文档内容存在违规,或者侵犯商业秘密、侵犯著作权等,请点击“违规举报”。

碎片内容

项目开发和供应商管理流程

您可能关注的文档

确认删除?
VIP
微信客服
  • 扫码咨询
会员Q群
  • 会员专属群点击这里加入QQ群
客服邮箱
回到顶部