电脑桌面
添加小米粒文库到电脑桌面
安装后可以在桌面快捷访问

国际贸易的各种流程图(外贸绝对实用,看完就能当经理!)VIP免费

国际贸易的各种流程图(外贸绝对实用,看完就能当经理!)_第1页
1/7
国际贸易的各种流程图(外贸绝对实用,看完就能当经理!)_第2页
2/7
国际贸易的各种流程图(外贸绝对实用,看完就能当经理!)_第3页
3/7
Actor1:出口商Actor2:货代(E)Case:货运委托Doc:货运/保险/报关/报检/发票/装箱清单/许可证/配额/原产地证/核销单Actor1:货代(E)Actor2:船代(E)Case:订舱Doc:订舱单Actor1:船代(E)Actor2:货代(E)Case:订舱确认Doc:配舱回单/设备交接单Actor1:货代(E)Actor2:公路承运人(E)Case:委托运输Doc:托运单Actor1:轮船公司Actor2:船代(E)Case:船期舱位获得Doc:船期表/舱位表Actor1:司机(E)Actor2:出口商Case:装箱Doc:公路运单Actor1:货代(E)Actor2:商检部门(E)Case:报验Doc:报检单/通关单Actor1:货代(E)Actor2:海关(E)Case:报关Doc:报关单Actor1:司机(E)Actor2:港区堆场(E)Case:交箱Doc:设备交接单/场站收据Actor1:出口商Actor2:外经贸委(E)Case:申请外贸单证Doc:出口许可证/配额申请Actor1:公路承运人(E)Actor2:司机(E)Case:车辆调度Doc:派车单Actor1:货代(E)Actor2:出口商Case:结费Doc:发票/海运提单Actor1:出口商Actor2:税务局(E)Case:退税Doc:退税单Actor1:进口商Actor2:银行(I)Case:申请信用证Doc:信用证申请书Actor1:进口商Actor2:货代(I)Case:货代委托Doc:提单/货运/保险/报关/报检/发票/装箱清单/许可证/配额Actor1:船代(I)Actor2:进口商Case:到货通知Doc:到货通知单Actor1:货代(I)Actor2:公路承运人(I)Case:委托运输Doc:托运单/提货单/设备交接单Actor1:货代(I)Actor2:商检部门(I)Case:报验Doc:报检单Actor1:货代(I)Actor2:海关(I)Case:报关Doc:报关单Actor1:司机(I)Actor2:港区堆场(I)Case:提箱Doc:设备交接单/提货单Actor1:进口商Actor2:出口商Case:签约Doc:贸易合同Actor1:司机(I)Actor2:进口商Case:交箱Doc:交货记录Actor1:进口商Actor2:司机(I)Case:提货Doc:交货记录Actor1:进口商Actor2:银行(I)Case:付款赎单Doc:提单Actor1:船代(I)Actor2:货代(I)Case:换单Doc:提货单/设备交接单Actor1:进口商Actor2:外经贸委(I)Case:申请外贸单证Doc:进口许可证/配额申请Actor1:出口商Actor2:商检部门(E)Case:申请原产地证Doc:原产地证申请Actor1:司机(E)Actor2:港区堆场(E)Case:提空箱Doc:设备交接单Actor1:货代Actor2:进口商Case:通知代理Doc:PreAlertActor1:货代(E)Actor2:出口商Case:通知装箱Doc:装箱通知单Actor1:货代(E)Actor2:理货公司(E)Case:通知理货Doc:理货通知单Actor1:港区堆场(I)Actor2:轮船公司Case:卸货Doc:卸货记录Actor1:货代(I)Actor2:税务局(I)Case:交税Doc:税单Actor1:公路承运人(I)Actor2:司机(I)Case:车辆安排Doc:派车单Actor1:出口...

1、当您付费下载文档后,您只拥有了使用权限,并不意味着购买了版权,文档只能用于自身使用,不得用于其他商业用途(如 [转卖]进行直接盈利或[编辑后售卖]进行间接盈利)。
2、本站所有内容均由合作方或网友上传,本站不对文档的完整性、权威性及其观点立场正确性做任何保证或承诺!文档内容仅供研究参考,付费前请自行鉴别。
3、如文档内容存在违规,或者侵犯商业秘密、侵犯著作权等,请点击“违规举报”。

碎片内容

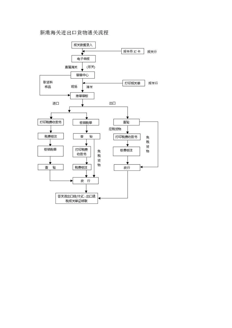
国际贸易的各种流程图(外贸绝对实用,看完就能当经理!)

您可能关注的文档

确认删除?
VIP
微信客服
  • 扫码咨询
会员Q群
  • 会员专属群点击这里加入QQ群
客服邮箱
回到顶部