电脑桌面
添加小米粒文库到电脑桌面
安装后可以在桌面快捷访问

2025年建设工程招标流程图VIP免费

2025年建设工程招标流程图_第1页
1/1
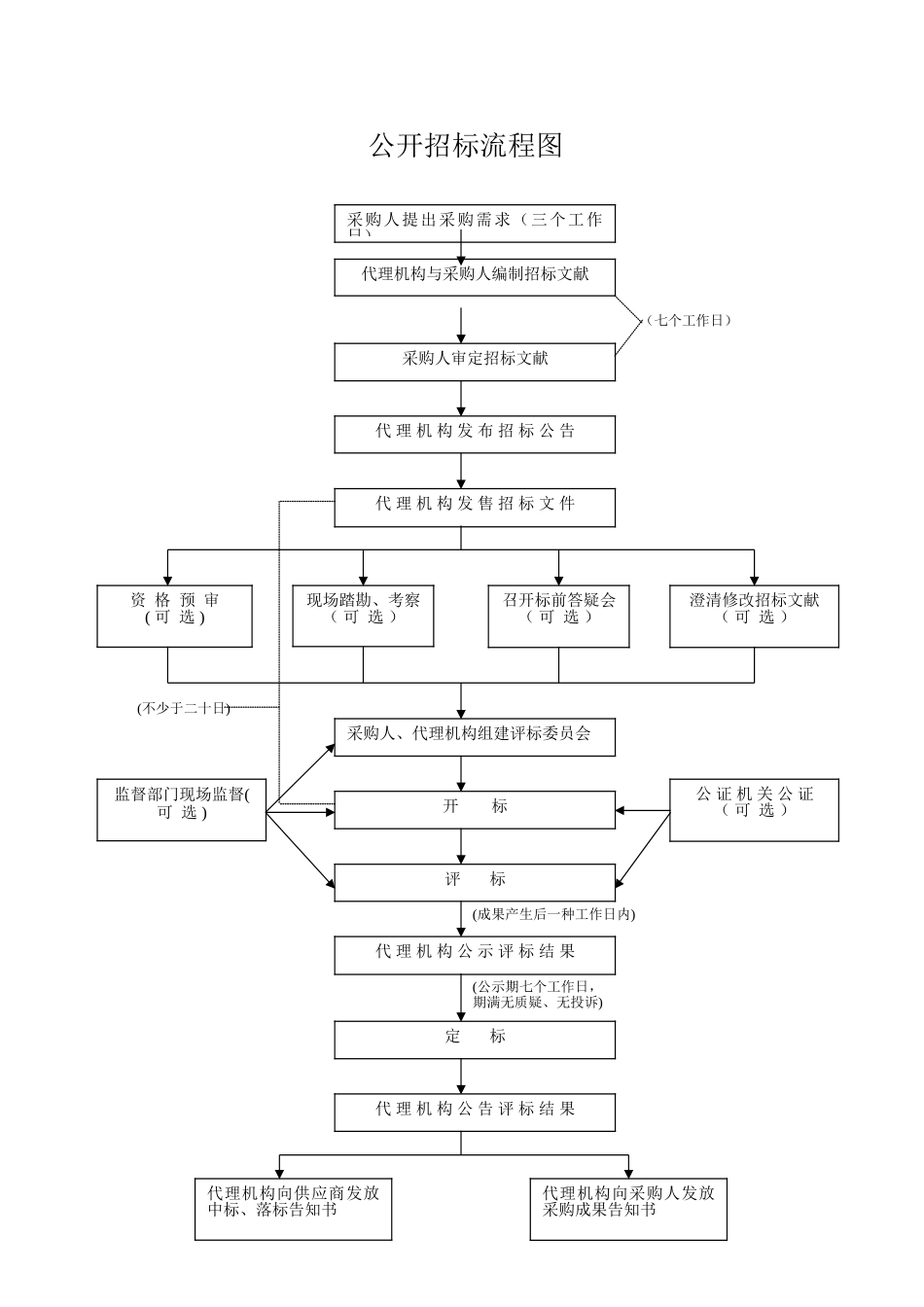
(成果产生后一种工作日内)(公示期七个工作日,期满无质疑、无投诉) 公开招标流程图代理机构与采购人编制招标文献代 理 机 构 发 布 招 标 公 告采购人审定招标文献代 理 机 构 发 售 招 标 文 件评 标定 标采购人、代理机构组建评标委员会开 标代理机构向供应商发放中标、落标告知书代 理 机 构 公 告 评 标 结 果采购人提出采购需求(三个工作日)资 格 预 审( 可 选 )现场踏勘、考察( 可 选 )召开标前答疑会( 可 选 )澄清修改招标文献( 可 选 )监督部门现场监督( 可 选 ) 公 证 机 关 公 证( 可 选 )代 理 机 构 公 示 评 标 结 果代理机构向采购人发放采购成果告知书(七个工作日)(不少于二十日)

1、当您付费下载文档后,您只拥有了使用权限,并不意味着购买了版权,文档只能用于自身使用,不得用于其他商业用途(如 [转卖]进行直接盈利或[编辑后售卖]进行间接盈利)。
2、本站所有内容均由合作方或网友上传,本站不对文档的完整性、权威性及其观点立场正确性做任何保证或承诺!文档内容仅供研究参考,付费前请自行鉴别。
3、如文档内容存在违规,或者侵犯商业秘密、侵犯著作权等,请点击“违规举报”。

碎片内容

2025年建设工程招标流程图

静心书店+ 关注
实名认证
内容提供者

专注于各类考试试卷和真题。

确认删除?
VIP
微信客服
  • 扫码咨询
会员Q群
  • 会员专属群点击这里加入QQ群
客服邮箱
回到顶部