手术患者发生呼吸、心跳骤停的处理流程患者呼吸心跳骤停立即抢救呼叫其它医务人员帮助抢救胸外按压、人工呼吸抢救药物的使用气管插管建立静...
房屋转移登记流程图〔行政确认〕房屋租赁备案流程图〔其他行政行为〕填写?房屋转移登记申请表?,房地产买卖契约,并提交以下材料:1、当事...
房地产公司关键业务流程目 录一、人事行政部行政-01 会议管理流程…………………………………………………04 行政-02 专项档案管理流...
wd.项目投标工作规1.目的为使公司项目投标(含项目竞争性谈判响应)工作程序化、规化,以提高投标工作效率,特制定本工作规。2.适用围适用于...
“征缴工伤保险费〞流程图参保企业带营业执照副本,确定相应费率,并进行工伤保险登记;携带参保职工工资表,确定相应工资总额。填报参保职...
学 校 建 设 项 目 管 理 流 程 图建设项目的工作流程如下:建设项目划分为项目立项、工程设计与概预算、工程招标、工程建设与竣...
XXXX 工程公司经营部投标管理流程流程图流程说明责任部门填写工程信息经营部经营部、工程部、财务部五人小组收集项目信息考察合作人及项目...
康复科管理 标准化质量管理 一 标准化管理的含义(一) 质量是一切工作成败之关键,要想取得良好的治疗效果,标准化管理是必要条件之一...
应收账款管理流程图签订销售合同时营销部长根据客户信用等级,信用额度、期限、以及该客户和公司合作是否出现过应收账款滞收现象等内容进行...
干部选拔任用工作流程图(最全最经典)范文(精选 5 篇)干部选拔任用工作流程图(最全最经典)篇 1 根据厅党组的安排和部署,我公司党政...
精选设备科工作流程一)申请购买新设备、器械、耗材流程精选二)医用耗材采购流程精选三)设备维修流程(暂行)精选四)5 万元以下设备、...
形成施工单位进行内部审批,手续齐全1.施工组织设计未获批准建设(监理)单位批复意见•批•准、形成《工程技术文件报审施工单位依据批复意...
市场部工作流程一、市场部拓展工作工程流程图〔草案〕 是市场开发人员与开展商初步接触,了解工程根本情况决定工程是否提案市场部研展人员...
工程测量流程图12345工长项目测量员项目质检员项目技术负责人复核按图纸引放分线和标高线协同监理进行基线复核,并移交工长移交记录按图施...
工程部管理流程图(待审稿)目录1、工程项目建设流程2、施工阶段管理工作总程序3、工程施工(质量、进度、成本、安全)控制动态图4、工程质...
腹腔镜器械的使用流程(以胆囊手术为例)术前准备:1、术前擦拭并检查腹腔镜仪器及二氧化碳钢瓶,并调试到正常状态备用。2、病人取平卧位,...
食逐瞬瘵畴布局车队车辆日常检查&用车登记表区域:车牌号:检查日期:项目检查部分3 囲出车检查收车检查异當处理内部卫生烟头不得有烟头不得...
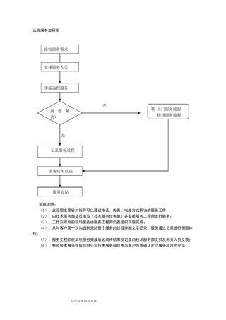
专业技术知识共享远程服务流程图流程说明:(1)、此流程主要针对指导可以通过电话、传真、电邮方式解决的服务工作;(2)、由技术服务部文...
Word 资料家庭病床撤床♦家庭病床会诊与转诊k/.一一家庭病床护理)提次上门访家庭(社区命体征和相关检查,了解病人的心心详细询问建床患...
橱柜设计上门一次测量:确定烟机,水盆,厨宝,橱柜灯,燃气表等厨房电器的位置,形成水电气改造方案。业主和水电改造工人确定卫生间面盆,...

