数学必修3第一章第二节《流程图 - 顺序结构》课件 PPT 顺序结构广义地说:为了解决某一问题而采取的方法和步骤,就称之为算法。算法的...
“ 一个良好的标记法,使头脑摆脱了不必要工作的负担和约束,使它集中于先进的问题,这就在事实上增加了人类头脑的能力。” 士兵过河问题...
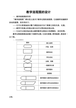
《浅水洼里的小鱼》课件设计思路及流程图设 计 思 路一、封面设计《浅水洼里的小鱼》是人教版义务教育实验教科书小学二年级语文上册第七...
口头医嘱执行流程图; 患者发生急危重症需立即抢救医 师 下 达 口 头 医 嘱护 士 重 复 (口述)医 师 确 认 无 误护 士...
数学:第一章第二节《流程图》课件 PPT(苏教版必修 3 )流程图广义地说:为了解决某一问题而采取的方法和步骤,就称之为算法。算法的概...
流程图 —— 选择结构目标一:理解常用流程图符号目标一:理解常用流程图符号练习 1. 判断下列说法是否正确(1) 起止框是任何流程图不...
【题型的背景与地位】 这类题是初中高中衔接密切的一类题型,在高考中占有一定比重。为选拔人才,提高高中学生素质,近几年中招考试中常考...
当前文文件修改密码:8362839 更多数据请访问精品数据网 (.....) 特种作业操作证(IC 卡)复审流程图(14 个工作日)申 请申请...
第三节第四节业务流程一、餐厅(一) 传菜部工作流程 开始发放台布、托盘、毛巾、茶叶备佐料开餐传菜回收餐具、布草干净台布、托盘、餐具...
申请提示:一、申请人权利:申请人依法享有申请行政复议或者提起行政诉讼的权利 。二、法律依据: 1 、《中华人民共和国道路运输条例》...
仿制药(6 类) 1 号资料(药品名称):表述药品名称,阐明名称命名理由或来源,附国家药品标准。 2 号资料(证明性文件): 2.1、申...
黄 山 市 水 利 局行政职权流程图一 、 取 水 许 可 审 批 流 程 图1、取水许可申请书(一式三份); 2、取水用途或建设项...
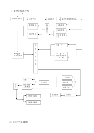
甲供材管理办法为了确保公司在甲供材供应上准确、及时,明确采购部、成本控制部、项目部、供货商、施工单位责任,制订本管理办法。1.甲供材...
附件:2社区服务中心工作流程图8、环境卫生和保洁工作职责:做好区域内环境卫生、绿化、动态保洁等工作,保持村容村貌整洁,保障群众身体健...
文件名饮料采购流程图电子文件编码CYFW120页 码1-1
当前文文件修改密码:8362839 更多数据请访问精品数据网 (.....) 全程电气专业操作流程(一)第一步:新建工程1.双击图标,弹出新...
企业业务运作流程图及说明书目录封面...................................................................................................
物业验收工作流程图开 始 收 楼 业 主 客户代理人 递交客户委托书、本人证件 核对有关证件 陪同客户收搂 满 意 不满意 客户在...
目 录 0.1 颁布令……………………………………………………………3 0.2 公司简介…………………………………………………………4 0....
目 录 0.1 颁布令……………………………………………………………3 0.2 公司简介…………………………………………………………4 0....

