《食物在体内的旅行》一、教学分析(一)教学内容分析《食物在体内的旅行》为教科版小学科学四上第四单元第五课教材,作为《我们的身体》单...
超市管理系统数据流程图超市管理系统是指用于管理超市内各项业务活动的一套信息系统。数据流程图是一种图形化的工具,用于描述和分析系统中...
版本:产品价格管理制度及流程20xx.xx.xx发布20xx.xx.xx实施一、管理制度产品定价管理制度一、目的为了使产品定价科学化,制定流程规范化,...
主要业务流程IT部编制门店商品特价促销申请流程:部门名称店面/配送流程名称商品促销申请流程层次概要促销营运部供货商/采购部采购文员促销...
2022ppp模式流程图ppp模式流程图PPP模式在各种工程广泛应用PPP模式已经得到了普遍的应用。下面应届毕业生我为大家介绍PPP模式的项目运作流...
-6-未通Sit改部i审学校建设项目管理流程图建设项目的工作流程如下:建设项目划分为项目立项、工程设计与概预算、工程招标、工程建设与竣工...
投资控制流程图:业主确定投资冃标监理对投资目标分析论证监理分析投资冃标业主确定资金使用计划监理编制资金使用计划施工单位编写施工组织...
第1页共21页编号:时间:2021年x月x日书山有路勤为径,学海无涯苦作舟页码:第1页共21页读下列流程图,给出正确的选择。第2页共21页第1页共...
目录一、监理工作施工阶段主要工作流程.........................31、施工阶段监理工作流程图..............................................
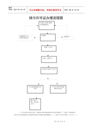
第1页共9页申请人申请(图后有详细说明)污控科受理(当日)审查(15日)决定许可或不予许可许可的发放排污许可证申请材料不全,一次性告知补...
第1页共49页监理2分站室监理2分站室监理2分站室第一监理组室第二监理组室第三监理组室第四监理组室第五监理组室第六监理组室编号:时间:20...
第1页共20页编号:时间:2021年x月x日书山有路勤为径,学海无涯苦作舟页码:第1页共20页基金运作流程图1.1.1私募股权投资的概念私募股权投...
第1页共39页编号:时间:2021年x月x日书山有路勤为径,学海无涯苦作舟页码:第1页共39页XX市项目审批程序流程图政府投资项目审批程序流程图...
第1页共56页编号:时间:2021年x月x日书山有路勤为径,学海无涯苦作舟页码:第1页共56页成都戛纳滨江工程项目管理规划第2页共56页第1页共56...
第1页共6页编号:时间:2021年x月x日书山有路勤为径,学海无涯苦作舟页码:第1页共6页教学媒体运用案例《细胞膜的结构和功能》课堂教学设计...
第1页共17页行政相对人提供资料:1、资质证、营业执照副本2、装饰工程报建申请表3、发包和承包双方签订的书面合同、工程预算原件4、建筑装...
接受上级交办任务了解工作要求一般工作任务重大工作任务专题会议安排部署制定方案执行方案及时完成保质保量汇报结果主要工作流程图一、上级...
第1页共24页幼儿园根据上级文件进行收费公示幼儿园根据公示标准通知幼儿家长服务性收费项目征求家长意见代收代缴班主任配合财务室按规定收...
申报单位(准备有关材料)县(区)科技局或市直主管部门审查市科技局审查后确定是否组织鉴定或申请省科技厅组织鉴定市局或省厅组织召开鉴定...
第1页共6页编号:时间:2021年x月x日书山有路勤为径,学海无涯苦作舟页码:第1页共6页文控工作内容1.文件管理流程A.文件由相关人员制定B.经...

