第三章第三章(Connections)§3-6螺栓连接(bolting)的构造一、螺栓的种类一、螺栓的种类1.普通螺栓C级---粗制螺栓,性能等级为4.6或4.8级...
镀锌钢管沟槽、钢塑复合管施工制作人:李东风二0一二年三月钢塑管具有永久性防止管道生锈腐蚀,保证水质卫生;耐高压、抗冲击性能优良;温...
连接结构在产品设计中的应用(一)作者:麦燕来来源:中国设计之窗发布时间:2006-08-1814:33点击:引言连接结构问题时产品设计中一个重要...
高抗泄漏长园螺纹套管的附加要求—执行SR22技术报告API技术报告5TRSR22第一版,2002年1月高抗泄漏长园螺纹套管的附加要求—执行SR22技术报...
第二章钢结构连第二章钢结构连接接第五节焊接应力与变形第五节焊接应力与变形一、焊接应力的产生焊接应力暂时应力:只在焊接过程中,一定的...
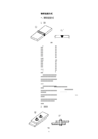
第三章钢结构的连接按受力情况分为①剪力螺栓(抗剪螺栓):螺栓杆垂直于力线②拉力螺栓(抗拉螺栓):螺栓杆平行于力线③既受剪又受拉的螺...
•螺纹•螺纹连接•单个螺栓连接的强度计算•螺栓组连接的设计•提高螺纹连接强度的措施第十四章螺纹连接螺纹的主要参数常用螺纹§14.1螺纹...
一、什么是DLNA,感兴趣的大家可以百度百科下,先说我为什么会用这个吧,之前想用电视机看电影的时候总会把下载好的电影放到U盘里,然后把U...
第6章螺纹联接6.1螺纹联接的主要类型、材料和精度6.2螺栓联接的拧紧和防松6.3单个螺栓联接的受力分析和强度计算6.4螺栓组联接的受力分析6.5...
第六节普通螺栓的连第六节普通螺栓的连接接一、一、普通螺栓的连接构造普通螺栓的连接构造螺栓的规格与表示螺栓的规格与表示钢结构一般...
塑料与金属紧固的连接:塑料热铆接技术--塑料与金属混合结构的组装技术塑料热铆接技术为塑料与金属混合结构开创了新的可能性。这种结合工艺...
第5章钢结构的紧固件连接5.1概述5.2螺栓的排列5.3普通螺栓连接和高强度螺栓承压型连接的工作性能5.4普通螺栓连接和高强度螺栓承压型连接的...
钢结构的连接和节点构造连接要求足够的强度、刚度和延性连接方法焊接、铆接和螺栓连接1钢结构对连接的要求及连接方法(a)焊接连接;(...
3.1钢结构的连接方法在传力过程中,连接部位应有足够的强度。被连接件间应保持正确的位置,以满足传力和使用要求。钢结构的连接通常有焊接...
电流表电压表连接练习班级:学号:姓名:1、根据的实物连接图,画出对应的电路图。6、根据要求画出电路图,并将实物连接好。要求:L1和L2并...
蒲城县桥山中学尚俊山2011年10月想一想:如果要使两个小灯泡同时亮起来,应当怎样连接?在我的房间里需要安装吊灯和壁灯,电路应当怎样连接...
北京市儿童心血管病中心北京市儿童心血管病中心北京安贞医院心儿科北京安贞医院心儿科耿斌张桂珍丁文虹吴江耿斌张桂珍丁文虹吴江单心室(单...
医学细胞生物学第十章细胞连接与细胞粘连医学细胞生物学第一节细胞连接•是指细胞与细胞之间或细胞与细胞外基质之间在质膜接触区特化形成的...
一、上肢骨1.锁骨2.肩胛骨(一)上肢带骨胸骨端肩峰端肩峰喙突关节盂肩胛下窝肩胛冈肩峰端胸骨端盂上结节喙突关节盂肩峰盂下结节肩胛冈冈...
装配式剪力墙结构竖向连接节点方式装配式剪力墙结构是由预制构件通过可靠的连接方式并与现场后浇混凝土、水泥基灌浆料形成的整体结构,可靠...

