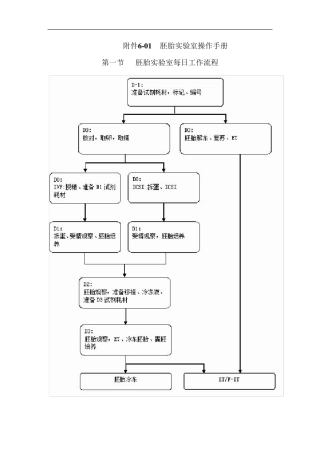
附件6-01胚胎实验室操作手册第一节胚胎实验室每日工作流程第二节胚胎实验室安全与质量控制一、实验室安全与感染控制实验室必须有完善的安全...
胚胎工程练习题一、选择题1、华南虎是国家一级保护动物,可采纳试管动物技术进行人工繁殖,该技术包括的环节有 ① 转基因 ②核移植 ③体...
[胚胎工程]包含次级知识点:精子和卵子的发生 、 受精 、 胚胎发育知识点总结 一、 精子和卵子的发生(哺乳动物) 1。精子的发生 (...
胚胎工程第 1 节 体内受精和早期胚胎发育一、概念1。 胚胎工程:指对动物早期胚胎或配子所进行的多种显微操作和处理技术,如体外受精、...
专题三 胚胎工程知识点胚胎工程概念:对动物早期胚胎或配子进行显微操作和处理,如:体外受精、胚胎移植、胚胎分割、胚胎干细胞培育等技术,...
专题 3 胚胎工程(一)生殖细胞旳发生和受精作用1.精子与卵细胞旳发生过程(1)精子旳发生:精原细胞先进行 分裂后进行 分裂;变形过程...
第22章 颜面和四肢的发生 一、A型题 1.人的鳃弓比较明显的是 A.第1-2对 B.第1-3对 C.第1-4对 D.第2-4对 E.第2-5对 2.参与形成颈...
1 1 范围 本 标 准 规 定 了 绵 羊 的 胚 胎 生 产 和 移 植 的 供 体 羊 的 选 择 和 饲 养 管 理 、 供...
一、教学目标 1.举例说出胚胎移植和胚胎分割。 2.认同胚胎移植在胚胎工程中的地位和作用。 3.关注胚胎工程的研究进展和应用价值。 二、...
移植后吃西柚,每天一个 移植后的4 8 小时,尽量多躺,我还尽量保持平躺。起身时先侧身用手支撑身体再起来,以后就没管什么姿势,爱怎么...
1 胚胎植入前遗传学诊断 (Preimplantation Genetic Diagnosis ,PGD) 一、定义 胚胎种植前遗传学诊断(PGD)是指在体外受精过程中,对...
胚胎干细胞培养标准化操作规程 目录 一、细胞 二、一般培养-保持胚胎干细胞处于未分化状态 培养基 细胞复苏 冻存细胞 明胶包被 细...
胚胎干细胞体外培养 (一)胚胎干细胞的来源 目前胚胎干细胞的主要来源有:①囊胚的 ICM 及受精卵发育至桑葚胚之前的早期胚胎细胞;②从...
胚胎工程技术及其在畜牧业中的应用
附件6 -0 1 胚胎实验室操作手册 第一节 胚胎实验室每日工作流程 第二节 胚胎实验室安全与质量控制 一、 实验室安全与感染控制 实...
胚胎停育以后要做的检查 首先,奉劝那些认为可能已经胚胎停育的姐妹,先不要轻易放弃。以我亲身经历和网上听到很多姐妹所反应的情况,有些...
胚胎停止发育的诊断 一、胚胎停止发育的原因有哪些 胚胎停止发育的原因有哪些?胚胎发育一词通常是指从受精卵起到胚胎出离卵膜的一段过程...
1第4章体细胞胚胎发生§4.1 体细胞胚胎发生与植株再生§4.2 影响体细胞胚胎发生的因子§4.3 人工种子§4.1 体细胞胚胎发生与植株再生一...
A.排卵前,在卵巢内C.受精时,在输卵管内5、哺乳动物的卵细胞比精子大得多,A•有利于受精作用C.有利于胚后发育6、受精完成的标志是()§1...
眼的解剖生理和胚胎发育

